VOGUE 908138 900mm Milani Wall Vanity with Omega Top Installation Guide
SAFETY INSTRUCTIONS

- Improper assembly of the vanity could lead to accidents or injuries. The vanity is only to be assembled by competent person.
- Examine the wall structure. Use the wall-plugs and hooks appropriate for your wall type.
- There should be no electrical cables, supply lines or disposal pipelines running through the installation area. The section of wall where the piece of furniture is to be installed must be level.
- In order to avoid tipping or falling, fasten the vanity (including standing types) to the wall using the wall mount.
- Connecting the power supply is only to be carried out by a qualified technician.
- Please consult a qualified technician if you have any questions.
PRE-INSTALLATION -TOOLS REQUIRED

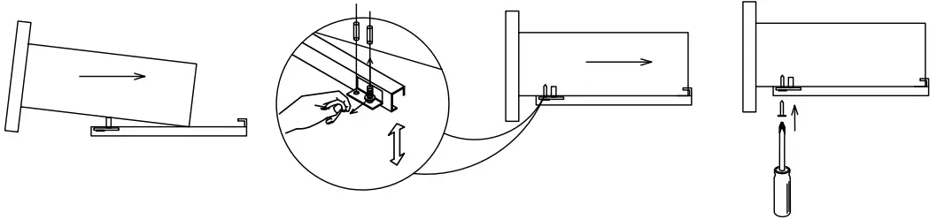
Disassembling/ Assembling Soft Metal Draw
- Disassembling

- Assembling

Disassembling / Assembling Sofe Metal Drawer
- Disassembling

- Assembling

VANITY INSTALLATION



VANITY TOP INSTALLATION

To keep your vanity in good condition, it is advisable to clean the vanity with a mild detergent.
Do not use products such as caustic acids, drain cleaners containing sodium hydroxide, hair dyes. Do not use water of a temperature greater than 65 °.
To maintain the surface finish of your vanity basin and to remove any minor scratches use a non-abrasive cream based polish annually.
HINGE/DOOR ADJUSTMENT
















