SIGNATURE HARDWARE Wall Mounted Vanity

WHAT’S INCLUDE

TOOLS REQUIRED

INSTALLATION


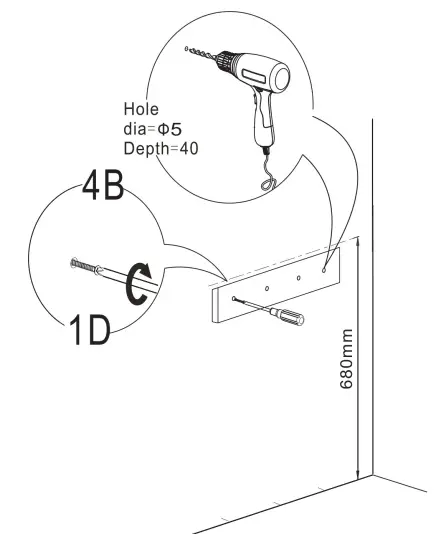
Please make sure to install screws on the wooden stud of the wall to help stabilize.
Please unpack/install the base by holding it on the side of the item, not the front or the back piece.

Please fix the cabinet with M6x65 screws which included in the hardware pack, make sure the screw were installed on the wooden stud of the wall.


















