VOGUE 211198 Edge Wall Vanity

SAFETY INSTRUCTIONS
- Improper assembly of the furniture item can lead to accidents and injuries. The furniture item is only to be assembled by competent persons.
- Examine the wall structure. Use the wall-plugs and hooks appropriate for your wall type.
- There should be no electrical cables, supply lines or disposal pipelines running through the installation area. The section of wall where the piece offurniture is to be installed must be level.
- In order to avoid tipping or falling, fasten the furniture item (including standing types) to the wall using the wall mount.
- Connecting the power supply is only to be carried out only by a qualified technician.
- Please consult a qualified technician if you have any questions.

PRE-INSTALLATION -TOOLS REQUIRED

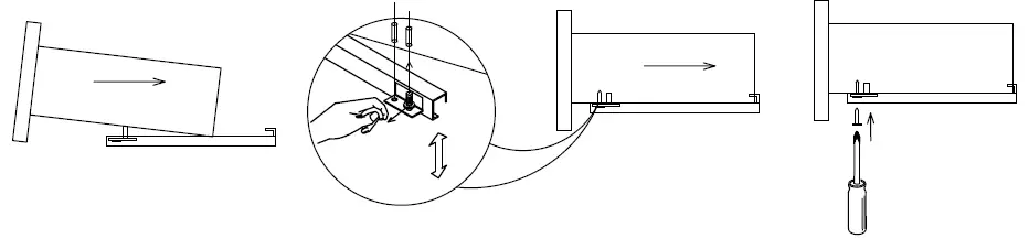
Ml. Disassembling/ Assembling Sofe Drawer
- Disassembling

- Assembling

M2.Disassembling / Assembling Sofe Metal Drawer
- Disassembling

- Assembling

M3. Adjusting cabinet mounting bracket

M4.VANITY INSTALLATION




M6. HINGE/DOOR ADJUSTMENT





















