
SMART POSITION TRANSMITTER
SPTM-6V SERIES
USER’S MANUAL 
Introduction
Thank you for choosing the YTC product. Each product is fully inspected after production to offer you the highest quality. In order to fully utilize the product, we strongly recommend users to read the manual carefully and fully understood it.
- The manual should be provided to the end-user.
- The manual can be altered or revised without any prior notice. Any changes in the product’s specification, structure, and/or any components may not result in an immediately revised version of the manual.
- The manual should not be duplicated or reproduced for any purpose without any approval from Young Tech Co., Ltd, South Korea.
Manufacturer Warranty
- For safety, it is imperative to follow instructions in the manual. It is not the manufacturer’s liability for any damages caused by users’ negligence.
- It is not the manufacturer’s liability for any damages or accidents that resulted by any alteration or modification of the product and parts. If alteration or modification is necessary, please contact the manufacturer directly.
- The manufacturer warrants the product from the date of original retail purchase of the product for one (1) year, except as otherwise stated.
- Manufacturer warranty will not cover the products that the product have been subjected to abuse, accident, alteration, modification, tampering, negligence, misuse, faulty installation, lack of reasonable care, repair, or service in any way that is not contemplated in the documentation for the product, or if the model or serial number has been altered, tampered with, defaced or removed; damages that occur in shipment, due to the act of God, failure due to power surge, and cosmetic damage. Improper or incorrectly performed maintenance or report voids this Limited Warranty.
- For detailed warranty information, please contact the corresponding local Young Tech Co., Ltd office or main office in South Korea.
Safety Precautions
- SPTM-6V is designed for explosion-proof areas. The user must follow other explosion-proof procedures and safety precautions.
- PTM-6V must be used in an explosion-proof certified environment. The temperature range is 20’C ~ 60’C. If SPTM-6V is used in a non-explosion-proof environment, it can be used under a temperature range of -30’C ~ 85’C.
Product Description
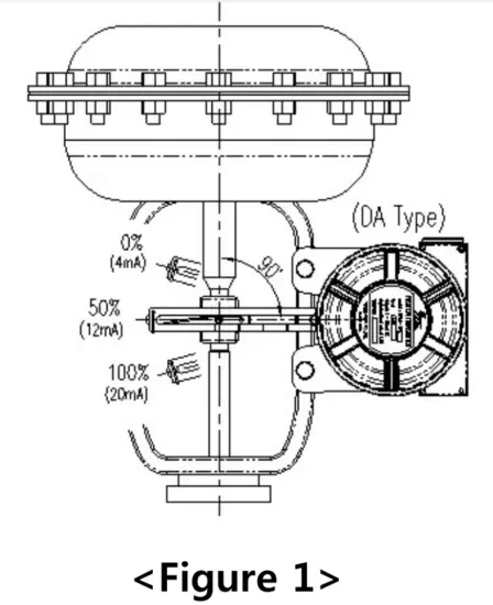
SPTM-6V series mechanically changes the position of the stem installed on the valve or similar device and transmits DC 4~20mA of the electric signal.
Label Description

| Model: Input: Output: Explosion Proof: Serial Number: | Indicates model number. Indicates input angle range. Indicates output current signal. Indicates explosion-proof grade. Indicates unique serial number. |
Suffix Symbol SPTM-5V series follows suffix symbols as follows.
Specification
SPTM-6V 1 2 3
| 1 Motion Type | L: Linear R: Rotary |
| Explosion Proof | c: Ex d IIC T6 |
| Feedback lever (Linear Type) | 1: 10 – 40 mm 2: 20 – 70 mm 3: 50 – 100 mm 4: 100 – 150 mm |
| Feedback lever (Rotary Type) | 1: Standard 2: NAMUR |
| Item/Model | SPTM-6VL | SPTM-6VR |
| Input Type | 2W ire | |
| Input Signal | 0-30 | 0-90 |
| Output Signal | 4-20mA | |
| Load Resistance | Max.600 0 / 28V DC | |
| Supply Voltage | 9-28V DC | |
| Noise Range | 50mV p.p | |
| Conduit | PF 1/2 (G 1/2) | |
| Protection | IP67 | |
| Explosion Proof | Ex is IIC T6 <certification is under progress> | |
| Ambient Temp | Operating:-30 C-85 C, Explosion:-20 C-60 c | |
| Linearity | ± 1% F.S. | |
| Hysteresis | 0.5% F.S. | |
| Sensitivity | ± 0.2% F.S. | |
| Material | Aluminum Casting | |
| Weight | 1.2 Kg(2.7Ib) | |
Parts and Assembly
SPTM-6VL is assembled as below. The only difference between SPTM-6VL and SPTM-6VR is the feedback lever.

Dimension


Operation Logic
The feedback lever main shaft rotates as position changes of valve stem transmit to Position Transmitter’s feedback lever. The rotation angle information is sent to the potentiometer through the main shaft and resistance gear. Resistance change in the potentiometer transforms into the electric current and is sent to the control center. Position changes of the valve stem (0~100%) send different electric signals (4~20mA) respectively to the control center.
Installation
Safety Warning
When installing the product, please make sure to read and follow safety instructions.
- Always wear safety equipment and follow safety procedures.
- Please shut down the valve and actuator temporarily.
- In order to prevent shut down of the total system, please utilize by-pass valve or similar and disassemble the valve which position transmitter will be installed.
- In the explosive area, please make sure no explosive gas is present at the installation area.
SPTM-6VL Installation
SPTM-6VL should be used in linear operating actuators that are spring return type diaphragm actuators, piston actuators with globe valves, or gate valves.
- Please refer to actuator and position transmitter dimensions to make the proper bracket. Please consider the following when making a bracket.
A. Feedback lever should be leveled at 50% of valve stroke.
B. Feedback lever connection bar of actuator clamp should be installed at the position that the valve stroke and numbers indicated on the feedback lever must be fitted.
- Attach SPTM-6VL to the bracket, which was made in an earlier step, by using bolts. <Fig 2>. Please refer to the backside of the product for the size of the bolts. The standard size of the bolt is M8 x 1.25P, and other bolt sizes are available. Please contact the YTC sales department.

- Attach SPTM-6VL (with bracket) to the actuator yoke – DO NOT TIGHTEN COMPLETELY.
- Connect the SPTM-6VL feedback lever to the actuator clamp. The gap on the feedback lever is 6.5mm. The connection bar thickness should be less than 6.3mm. <Fig 3>.
- Connect the air filter regulator to the actuator temporarily. Set supply pressure of the regulator in order to position the actuator clamp at 50% of valve stroke. <Fig 4>

- Insert connection bar into SPTM-6VL feedback lever. The connection bar should be inserted at the 50% point on the feedback lever, which would help to reduce hysteresis. <Fig 4>
- Check the valve stroke. The stroke numbers are indicated on the feedback lever. Position the connection bar at the number on the feedback lever according to the valve stroke. <Fig 7> To adjust, move the bracket or the connection bar.
Note
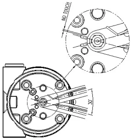
After installing SPTM-6VL, operate the valve from 0% to 100% stroke by using an air filter regulator on the actuator. Both at 0% and 100%, the feedback lever should no touch the lever stopper, which is located on the backside of SPTM6VL. <Fig 5>. If the feedback lever touches the lever stopper, SPTM-6VL should be installed further away from the center of the yoke.
- After the proper installation, tighten all of the bolts on the bracket, the feedback lever, and the connection bar.
SPTM-6VR Installation
SPTM-6VR should be used for rotary motion valves, that is ball valves, butterfly valves using rack and pinion, scotch yoke or complex type actuator, which its stem rotates 90 degrees.
- Before installing SPTM-6VR, please set the actuator as the default position. For the single-acting type (spring return type), the actuator will automatically default itself when the air pressure shuts down. For the double-acting type (non-spring return type), the default position must be set manually according to the actuator’s specification.
- Please refer to the actuator and the position transmitter dimensions to make the appropriate bracket. SPTM-6VR offers two types of lever – standard and NAMUR Please see <Figure 6> to make and install with the appropriate bracket.

- After the appropriate bracket is produced, please install the assembled SPTM-5VR on the actuator, and fasten the screws completely. <Figure 6>
Connection – Power
Note
- Before connecting the terminal, please make sure that the power is off completely.
- SPTM-6V must be grounded.
- Please use a twisted cable with a conductor section area of 1.25 ㎟ and that is suitable for 600V (complying with the conductor table of NEC Article 310.) The outer diameter of the cable should be between 6.35~10mm. Use shield wire to protect against electro-magnetic field and noise.
- Please do not install an SPTM-6V cable near the equipment such as a high-capacity transformer or motor which creates noise.

Adjustment – Potentiometer
The potentiometer is designed to output a 12mA signal when the feedback lever is at a 50% position. In case of dislocation of the potentiometer, please follow the below procedure to re-set the potentiometer.<Fig 10 & 11>
- Power must be turned off before adjusting the potentiometer.
- Please be cautious when adjusting the potentiometer.
- Please make sure that there is no remaining circuit on the PCB.
- Please do not use excessive force when disconnecting the potentiometer from the PCB.
- Locate the potentiometer under the PCB. Disconnect from the PCB. Please do not use excessive force.
- Unfasten the lock screw which locks the potentiometer gear and takes out the potentiometer body from the lag gear.
- Fix the feedback lever at 50% position and measure the resistance level by connecting two probes out of three inlets.
- Rotate pinion gear until resistance vale is about 5KΩ.
- After setting the resistance value, rotate the stopper to the normal position and fasten the lock screw.
- Reconnect the potentiometer to the PCB and reinstall PCB onto the SPTM-6V body.


SPTM-6V can be calibrated either by the following options.
1. 2 point setting
A. By setting minimum and maximum points <0% and 100%>, between outputs are calculated and calibrated automatically.
2. 5 point setting
A. By setting 5 points <0%, 25%, 50%, 75%, and 100%>, the outputs can be set accordingly. In general, 5 point setting is more accurate.
- Input 4mA signal to the positioned to move the valve stroke to the default position.
- After valve stroke reaches at the default position, press the “4mA” button for 3~4 seconds. The lamp will light, and this indicates that the 4mA position is calibrated.
- Please repeat the above step for 8mA, 12mA, 16mA, and 20mA for 5-point settings. For 2 points in the setting, repeat the above step for 20mA only.

Troubleshooting
- SPTM-6V shows no output signal.
A. Check actual input signal to SPTM-6V.
B. Check power connection and + / – poles. - Input signal value to positioner and output signal value from SPTM-6V differs dramatically.
A. Check input signal value and supply voltage. Insufficient voltage can affect input signal value.
B. Check the installation of the positioner. If the positioner is installed improperly, please refer to the positioner’s manual and re-install the positioner.
C. Set positioner’s zero and span again. Inaccurate zero and span settings can lower accuracy and linearity.
D. Check the installation of the position transmitter, SPTM-6V. If SPTM-6V is installed improperly, then refer to the manual and re-install.
E. Set SPTM-6V zero and span again. - Sudden change in SPTM-6V’s output signal value.
A. Please make sure that SPTM-6V’s lever is placed at the 50% point. It not, SPTM-6V needs to be re-installed and adjusted to place at the 50% point.
B. Adjust potentiometer. The potentiometer’s load resistance is 10KΩ, and it should be read at the 50% point.
Young Tech Co., Ltd.
Address: 662-8, Pungmu-Dong, Kimpo-City, Kyeonggi-Do, Korea
Phone: 82-31-986-8545
Fax: 82-31-986-2683
Web: www.ytc.co.kr
This manual can be changed or revised without any prior notice.
For the latest version, please contact the YTC website.
Issued: 2009.APR,14
Version 1.00


























