elero COM Series Variocom Slide Wireless Hand Held Transmitter

Radio hand-held transmitter COM-Series
Information for use (translation)
For safe and proper use, follow these instructions.
Keep them for future reference.
Not all controls will be present on every device.
Overview
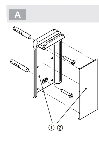
Wall bracket
① Fixing plate
② Cover
(NOTE: Fragile. Handle with care).
- Check the surface at the intended installation location for any hidden cables, etc.
- Do not slide the front cover so it is parallel but rather press on it carefully from the rear through the two boreholes and lift it off while keeping it aligned parallel (do not tilt it) or lever it out from the bottom.
- Attach the rear cover at the installation location using the screws and wall plugs.

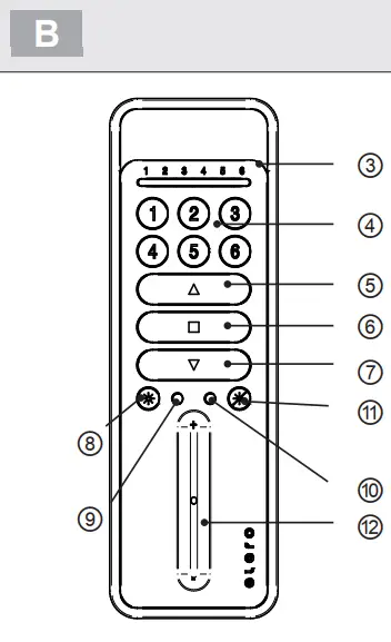
Front side
③ Status indicator (Status LEDs, 1 central or 6)
④ Channel selection buttons 1 to 6
⑤ OPEN ▲ button
⑥ STOP ■ button
⑦ DOWN ▼ button
⑧ Auto control button
⑨ Auto LED
⑩ Manual LED
⑪ Manual control button
⑫ Slider

Rear side unter the cover
⑬ Programming button P (left, round)
⑭ Selective prgramming button S (right, round)
⑮ Battery compartment 2x), observe polarity

Devices overview / scope of supply
MonoCom:
- 1-channel handheld transmitter; article no. 28 405.0002 (-915: 28 405.0902)
MonoCom Slide:
- 1-channel handheld transmitter with slider; article no. 28 435.0002 (-915: 28 435.0902)
LumeroCom:
- 1-channel handheld transmitter with Auto/Manual switchover; article no. 28 425.0002 (-915: 28 425.0902)
VarioCom:
- 6-channel handheld transmitter (channels combinable) with Auto/Manual switchover; article no. 28 445.0002 (-915: 28 445.0902)
VarioCom Slide:
- 6-channel handheld transmitter (channels combinable) with slider and auto/manual switchover; article no. 28 455.0002 (-915: 28 455.902)
Wall holder, set of fasteners (article no. 28 040.0001), 2 batteries inserted, operating instructions article no. 13 822.0002
Intended use / foreseeable misuse
The hand-held transmitter may only be used for the control of roller shutters, venetian blinds and shades that are equipped with elero ProLine 2 radio receivers (bidirectional only).
Switching and dimming of illuminants equipped with elero radio receivers (ProLine 2, bidirectional) and a suitable electronic ballast is also possible. Only for use in dry rooms for switching and control of elero radio drives and elero radio receivers. Do not perform any modifications to the device. Do not allow the device to fall, do not expose it to any heat sources and do not immerse in liquids. Do not operate the transmitter inadvertently or carelessly. The manufacturer will not assume liability for damage caused by the above.
Safety instructions
Please read this operating manual carefully as the procedure in this manual is a prerequisite for correct use of the product. Keep remote control and batteries away from children.
Only operate the transmitter within sight of the devices being controlled. The figures in this operating manual are for illustration purposes only. The illustrations may differ from your product with respect to minor details and are provided for general information only.
elero GmbH continuously strives to improve all products. As a result, the specifications, features and technology of this product may be changed at any time. The information in this operating manual is based on current information at the time of publication.
No claims can be derived from the technical data, images and information in this operating manual.
Commissioning
Important: The batteries are already activated on delivery.
For programming the COM hand-held transmitter in the elero radio control or in the receiver: see the following sections.
Opening/closing the housing
Required
- when programming the hand-held transmitter to a receiver.
- when deleting the hand-held transmitter from a receiver.
- when replacing the battery
- To open: On the underside of the hand-held transmitter, carefully push in the centre retaining lug slightly using a blunt object and lift off the rear panel.
- To close: Attach the rear panel from above in the correct position and engage it in the retaining lug area by applying slight pressure.
General
The buttons ⑤ OPEN ▲, ⑥ STOP ■, ⑦ DOWN ▼ and ⑫ slider are used
- with drives to trigger travel motion
- with appropriate illuminants for adjusting the brightness
Radio connection between hand-held transmitter and receiver is bidirectional. Not all messages are also confirmed by the receiver however.
Make sure the radio link between transmitter and receiver is unobstructed.
The transmitting power or radio range will reduce as the battery output declines. If the voltage
drops below a certain value, no more functions will be carried out and nothing will be indicated.
2 operating modes: Automatic or manual ⑧, ⑨, ⑩, ⑪
Auto ⑧ and manual ⑪ buttons:
Auto: A receiver that is programmed responds to the timer function of a corresponding control unit or to commands by sensors.
Manual: A receiver that is programmed does not respond to the timer function of a corresponding control unit or to commands by sensors.
- Press briefly: actual status is queried by the receiver.
- Press and hold down: the relevant operating mode is activated.
Auto LED ⑨ and manual LED ⑩:
- If the selected channels are in the „Auto“ operating mode, the auto LED lights up green.
- If the selected channels are in the „Manual“ operating mode, the manual LED lights up red.
- If the selected channels are partly in the „Auto“ operating mode and partly in the „Manual“ operating mode, the Auto LED ⑨ and Manual LED ⑩ light up orange synchronously
Replacing the battery
The batteries inserted on purchase may reach the end of their lifetime before the lifetime specified in the operating instructions has expired. The batteries can simply be removed by the end user in accordance with 2013/56/EU. The coding of the transmitter is retained after the battery is replaced; the coding does not have to be reprogrammed to the remote control or the radio receiver.
- Lift out the batteries carefully. Always use two identical non-rechargeable batteries of type AAA (Micro 1.5 V). Pay attention to the correct polarity: the positive pole (+) is a countersunk contact, the negative pole (-) is a metal lug.
Dispose of used batteries in accordance with environmental regulations.
Channel selection
When selecting a channel, an activated channel is indicated by the relevant green status LED. The channel selection is overwritten as soon as the status LEDs are switched of.
- Channel selection by briefly pressing a channel selection button (1 to 6): Individual channel is activated or deactivated.
- Channel selection by pressing a channel selection button and holding it down (1 to 6): All lower channels including the channel of the channel selection button pressed are selected.
- Selection of a group (of up to any 5 channels): When pressing a channel selection button, the status LED is active for 5 seconds. During this period, other channels can be combined to form groups as required.
- Central channel (selection of all 6 channels): Activated as soon as all 6 channels are selected.
Slider ⑫ control
- Fine adjustment of receivers for dimming and for venetian blinds.
Action / command tubular drive (radio-based) Venetian blind drive (radio-based) Combio-868 LI Slide up Upward travel movement Venetian blinds move up Dimming becomes brighter Slide down Downward travel movement Venetian blinds move down Dimming becomes darker Let go of slider Receiver is in maintained mode Movement is stopped Value for brightness is retained - Slider commands are not routed to other radio receivers and do not result in any feedback.
- Slider commands behave the same in a group channel and a central channel as in a single channel, except with the Combio-868 LI.
- The slider controls and buttons ⑤, ⑥ and ⑦ are mutually interlocked
Status indicator / channel indicator ③
The single channel handheld transmitter has 1 status indicator in the centre and a channel indicator.
The six-channel handheld transmitter has 6 channels and 6 status LEDs.
The status is indicated for all channels selected simultaneously when one of the controls ⑤ OPEN
▲, ⑥ STOP ■, ⑦ DOWN ▼, ⑫ slider, Auto ⑧ or Manual ⑪ control key are pressed.
The status is indicated for all channels synchronously (simultaneously). When a channel selection button is pressed, the status LEDs indicate the status of an activated/deactivated channel.
| Green (5 sekonds) | Display of selected channel or channels. Further channels can be selected or deselected during this time. Each selec- tion extends the time by another 5 seconds. |
| Green flashing (700 ms) | All status LEDs flash green for 700 ms during transmission
|
| Orange flashing slowly (2 Hz) | Channel (transmitter) not programmed in any receiver. |
| Orange flashing quickly (20 Hz) | Channel (transmitter) is in programming mode. Operation of receivers already programmed is not possible. |
| Orange flashing quickly (20 Hz)and cyclically | Channel (transmitter) is in group programming mode. Operation of receivers already programmed is not possible. |
| Orange lights up, then green | Channel is programmed and the receiver has received the signal. |
| Orange lights up, then red | Channel is programmed and one of the receivers has not received the signal. |
| Orange or green flashes several times, then red after 6 seconds | Channel (transmitter) has been deleted. |
| Alternating orange and green then red | Channel (transmitter) has been deleted. |
| Red flashing quickly | Batteries almost empty. |
Asynchronous programming mode (standard)
Asynchronous programming mode is suitable for programming
- the first transmitter
- an additional transmitter
- individual receivers in case of several receivers ready for programming (e.g. several receivers using one fuse).
When programming a transmitter to one receiver, the open or down switch state is assigned to the actions of the drive (travel direction) or of the corresponding illuminant (switching/dimming).
Asynchronous programming mode is the standard programming mode. In asynchronous programming mode, the times for upward and downward travel of participating receivers vary. In
case of suitable remote control illuminants, the illumination time will vary during programming. After some time, the receivers will run asynchronous to one another. This will enable the hits for a certain receiver to be set better.
| Operating procedure | Result | |
| 1 | Activating asynchronous programming standby: Switch the mains voltage off and on again or press the buttons [OPEN ▲]+[DOWN ▼]+[P] simultaneously and hold them down for 3 seconds on a transmitter that is already programmed. | The receiver changes to asynchronous programming standby for 5 minutes. Ready to receive programming button [P]. |
| 2 | Starting programming mode: Press the programming button [P] for approx. 1 second at the transmitter to be taught-in (in the desired channel). | The receiver changes to asynchronous programming mode and starts cyclical up and down travel. |
| 3 | Setting the first hit: Immediately after motion commences, press the [OPEN ▲] or [DOWN ▼] button.
| Hit successful: Receiver briefly interrupts ongoing travel. Hit failed: Receiver does not interrupt ongoing travel. → Repeat „Set first hit“ action! |
| 4 | Setting the second hit: Prerequisite: First hit has been set. Immediately after motion in the opposite direction commences, press the [OPEN ▲] or [DOWN ▼] button.
| Hit sucessful: Receiver stops ongoing travel and signals with this completion of programming. Hit failed: Receiver does not stop the ongoing travel. → Repeat „Setting second hit“ action! |
- Programming can only ever be performed in one selected channel.
- When programming is complete or after 5 minutes has passed, the receiver will revert to normal operation.
- Programming mode can be stopped by pressing the [STOP ■] button for at least 6 seconds.
- Several receivers can be programmed to one channel.
- If more than 10 receivers at once are in programming mode, the transmitter changes to group programming mode. Once programming is complete, group programming mode has to be terminated manually in the transmitter by pressing the [STOP ■] button for at least 6 seconds.
- If the blind moves in the wrong direction, delete the transmitter and program it again.
Synchronous programming mode
Synchronous programming mode is ideal for
- programming an additional transmitter
- programming several receivers simultaneously to one transmitter or one channel.
Synchronous programming mode is a special programming mode. In synchronous programming mode, the times for upward and downward travel of the participating receivers are synchronised. With suitable remote controlled illuminants, the illumination times will also be synchronised. As a result the hits for all participating receivers can be set simultaneously (synchronised).
| Operating procedure | Result | |
| 1 | Activating synchronous porgramming standby: Press the buttons [DOWN ▼]+[P] simul- taneously on a transmitter that is already programmed and hold them down for 3 seconds. | The receiver changes to synchronous programming standby for 5 minutes. Ready to receive programming button [P]. |
| 2 | Start programming mode: Press the programming button [P] for approx. 1 second at the transmitter to be taught-in (in the desired channel). | The receiver changes to synchronous programming mode and starts cyclical up and down travel. |
| 3 | Setting the first hit: Immediately after motion commences, press the [OPEN ▲] or [DOWN ▼] button.
| Hit successful: Receiver briefly interrupts ongoing travel. Hit failed: Receiver does not interrupt ongoing travel. → Repeat „Set first hit“ action! |
| 4 | Setting the second hit: Prerequisite: First hit has been set. Immediately after motion in the opposite direction commences, press the [OPEN▲] or [DOWN▼] button.
| Hit successful: Receiver stops ongoing travel and signals completion of programming. Hit failed: Receiver does not stop the ongoing travel. → Repeat „Setting second hit“ action! |
- Programming can only ever be performed in one selected channel.
- When programming is complete or after 5 minutes has passed, the receiver will revert to normal operation.
- Programming mode can be stopped by pressing the [STOP ■] button for at least 6 seconds.
- Several receivers can be programmed to one channel.
- If more than 10 receivers at once are in programming mode, the transmitter changes to group programming mode. Once programming is complete, group programming mode has to be terminated manually in the transmitter by pressing the [STOP ■] button for at least 6 seconds.
- If the blind moves in the wrong direction, delete the transmitter and program it again.
- If more than 10 receivers at once are in programming mode, the transmitter changes to group programming mode. Once programming is complete, group programming mode has to be terminated manually in the transmitter by pressing the [STOP ■] button for at least 6 seconds.
- Once programming is complete, programming mode has to be stopped in the transmitter by pressing the [STOP ■] button for 6 seconds.
- Selective Programming button [S] can be found under the cover on the rear of the device (right).
- Selective Programming button [S] is a special version of programming button [P].
- Using Selective Programming button [S] only one selected receiver can be set to programming mode even where several receivers are set to programming standby at once. This enables targeted programming of certain receivers.
- A receiver must be in one of the two programming standby modes (asynchronous or synchronous).
- The programming process can only ever be started in one channel.
- Start programming process: Press programming button [S] for approx. 1 second. Programming mode is started automatically in the first receiver.
- All receivers in programming standby are collected in a list.
- Start programming mode in the next receiver: Press Selective Programming [S] for approx. 1 second.
- Start programming mode in the previous receiver: Press Selective Programming [S] briefly initially, then press Selective Programming [S] for approx. 1 second.
- The „Set hit“ procedure behaves as in asynchronous programming mode or in synchronous programming mode (operating procedure 3 or 4).
Deleting the radio connection between transmitters and receivers
To delete the radio connection between radio transmitters and receivers, there are two operating procedures, each of which trigger a certain action in the transmitter and receiver.
| Operating procedure | Result |
| Press the [STOP] + [P] buttons for at least 6 seconds until the status LED lights up red. | In the transmitter: The selected channels are deleted entirely. In the receiver: The individual transmitter only is deleted from the receiver. |
| Press the [UP ▲] + [DOWN ▼] + [STOP ■] + [P] buttons for at least 6 seconds until the status LED lights up red. | In the transmitter: The selected channels are deleted entirely. In the receiver: All transmitters are deleted from the receiver. |
Configuring the drive
| Roller shutters | Awnings | Venetian blind | Interio shading |
![]() | ![]() | ![]() | ![]() |
| Intermediate position of blind at any position between upper and lower end position | Intermediate position of blind at any position between upper and lower end position | Intermediate position of blind at any position between upper and lower end position | Intermediate position 1 of blind at any position between upper and lower end position |
| Ventilation position ventilation gaps open | Fabric tautening position Position is taut | Tilting position Blind slats are tilted by brief travel in the opposite direction (only for receivers in JA mode or with „JA” in product name) | Intermediate position 2 any subsequent position ob blind |
Prerequisite for all actions: The channel of the hand-held transmitter is programmed in the receiver.
| Defining the interim position in the receiver | Moving to the intermediate position | Deleting the intermediate position |
Prerequisite: The blind is in the upper end position.
The intermediate position is now stored. | Prerequisite: The intermediate position is defined. Press [DOWN ▼] button twice (in quick succession): Blind moves to the intermediate position saved. If no intermediate position has been defined, the blind will move to the lower end position. Important: If you are using a venetian blind and a defined tilt position (receiver in JA mode or „JA“ in product name), the venetian blind slats will also tilt. If no tilt position has been defined, the blind will stop at the intermediate position with the slats closed. If an intermediate position is to be approached for various receivers simultaneously, the receivers must be programmed on one channel. | Press the buttons [DOWN ▼] + [STOP ■] simul- taneously for ap- prox. 3 seconds. The intermediate position is now deleted. The status LED lights up briefly. |
| Defining one of the ventilation/fab- ric tautening/tiling positions in the receiver | Moving to one of the ventilation/tilting/ fabric tautening positions | Deleting the ventilation/ fabric tautening/tilting position |
Prerequisite: The blind is in the lower end position.
| Prerequisite: The ventilation/tilting/fabric tautening position is defined. Press the [OPEN ▲] button twice: blind moves to the position saved. If no ventilation/fabric tautening/tilting position is defined, the blind will travel to the upper end position. | Press the [OPEN ▲] + [STOP ■] buttons simultaneously and hold them down for approx. 3 seconds. The ventilation/tilting/fab- ric tautening position has now been deleted. |
General notes on troubleshooting
| Fault | Possible cause | Possible solution |
| Receiver not responding and status indicator of transmitter flashing orange | Not transmitter programmed | Program the transmitter |
| Receiver cannot be programmed | Transmitter and receiver systems are configured differently (unidirectional or bidirectional) | Adapt the system configuration |
| Receiver not responding and status LED of transmitter flashing red |
|
|
| Receiver not responding and status LED of transmitter not lighting up | Battery in transmitter is used up | Replace batteries in transmitter |
| Receiver reacting only intermittently |
|
|
| Receiver drives in the wrong direction | Directions are incorrectly pro- grammed | Delete transmitter and program correctly |
Cleaning
Do not use solvent or abrasive detergents to clean the product.
Warranty
Within the legal warranty period, we will remedy any defects caused by material or manufacturing defects by repairing or replacing the unit. Unauthorised modifications will void the warranty.
Reparatur
Please specify the item number, item description, type of fault, situational circumstances, presumed cause, unusual events prior to the problem.
Service / manufacturer‘s address
If malfunctions occur or the device is damaged despite correct handling, contact your contractor or dealer.
elero GmbH
Antriebstechnik
Maybachstr. 30
732378 Schlierbach
GERMANY
www.elero.de
Conformity
elero hereby declares that the COM series handheld transmitter is in compliance with Directive 2014/53/EU.
The full text of the EU Declaration of Conformity is available at the following
Internet address: www.elero.com/downloads-service
Disposal
Batteries and old units may not be disposed of with household waste.
- Dispose of packaging in the recycling bin for cardboard and paper.
- Dispose of old batteries in the recycling bin for used batteries or have a retailer recycle them.
- Dispose of old units at an electronic waste recycling facility or have a retailer recycle them.
Technical data | |
| Power supply | 3 V, 2 x Micro LR03 (AAA) |
| Battery life | typical up to 2 years |
| Radio frequency [MHz] (Band) | 868 | 915 |
| Transmitter power [mW] | [dBm] | ≤ 500 | ≤ 10 |
| Number of channels | 1 resp. 6 (bidirectional in each case) |
| Operating temperature [°C] | 0 … 50 |
| Relative humidity | 0 … 95 % non condensing |
| Protection class (IP) | 20 |
| Dimensions (LxWxH) [mm] modul transmitter | 151 x 49 x 15 |
| Weight [g] (incl. batteries) | ca. 90 |
| Type of mounting (optional) | wall mounting |
Customer Support
elero GmbH
Antriebstechnik
Maybachstr. 30
73278 Schlierbach
[email protected]
www.elero.com
























