KITKORP Crowns Golf Plug In Conversion Kit

CROWNS GOLF™
This instruction manual has been provided to aid you in the conversion of your existing video game to a Crowns Golf. Please read the instructions carefully BEFORE you begin the conversion process. Crowns Golf is played on a horizontally mounted Color Raster Scan Monitor which utilizes composite negative sync. Vertically mounted monitor games can be converted to Crowns Golf providing you can mount the monitor in a horizontal position. This kit is designed to use a majority of the existing wiring and components found in Williams’ Defender™, Stargate™, Robotron’,. and Joust™, and can be installed into these games with NO SOLDERING and only a minimal amount of labor. This Crowns Golf Conversion Kit is also designed to be readily adaptable to virtually any horizontal color monitor game.
INSTALLATION INSTRUCTIONS
To convert Williams’ Defendern•, Stargate™, Robotron™ or Joust™ to Crowns Golf:
DON’T REMOVE:
- Any part of the AC. harness, including monitor power and power to flourescent light fixture.
- D.C. power supply printed circuit board assembly.
- Coin Door wiring and plug.
- Speaker and speaker wire between (and including} speaker and plug.
- Ground Braid.
DO REMOVE:
- Old logic board assembly, including CPU/video board, sound board interface and 1/0 interface board. These assemblies can be removed as a single unit by detaching the aluminum plate they are mounted on from the game.
- Old Sound Board.
- D.C. and Control Harness wires, including original wiring to monitor, harness wires to control panel and wiring up to coin door plug.
- Control panel button, joysticks, lamps, wiring and control panel overlay. Heat from a hair dryer can be used to remove the overlay.
- Existing Marquee
3) Clean game interior and CRT screen, clean control panel with acetone and a clean, dry cloth.
INSTALL THE NEW CROWNS GOLF CONTROL PANEL ASSEMBLY
- Using the control panel template provided, carefully mark the position of the required holes. Be careful to locate the new carriage bolt holes where there are no existing holes and to provide adequate clearance for the opto-coupler board.
- To cut the large rectangular hole, mark and drill (4) holes at the corners and, using a jig saw with a metal cutting blade, cut a line to connect the holes.
- Position the new Crowns Golf control panel overlay and slowly remove the backing as you adhere it to the surface of the control panel. Using an Exacto knife, carefullly cut around the holes needed for the new control panel assembly.
Note: Although it is not absolutely necessary, we recommend that any holes not needed in the control panel be filled with epoxy, wood glue, bondo, etc., to give structural rigidity to the control panel. - Install the new Crowns Golf control panel assembly with the carriage bolts provided.

MOUNT THE CROWNS GOLF PRINTED CIRCUIT BOARD ASSEMBLY
- A For Defenderâ„¢, mount the P.C.B.’s inside the cabinet in the lower right-hand side (across from the original mounting position), with the edge connectors pointing up.
- B. For Stargate™, Joust”‘ and Robotron™, mount the P.C.B.’s approximately in the center of the lower rear door with the edge connectors pointing towards the game.
REFERRING TO THE CONNECTOR DIAGRAM, PLUG IN THE NEW CROWNS GOLF WIRE HARNESS.
Note: Early versions of Williams’ Defender1M used a Wells Gardner Monitor that had no provision for negative composite sync. If you find yourself in this situation, refer to the section marked “Monitor Sync Modification”.
- Remove and clean the front glass. Position the Crowns Golf front glass overlay and slowly remove the backing as you adhere it to the surface of the glass. Set front glass aside until completion of Step #8.
- Install new side decals. Since most Williams™ games have factory screened graphics, we recommend that the game be painted prior to application of the decals to give a professional appearance and enhance game appeal. After the paint has dried, apply the graphics in the following manner:
- Spray area of cabinet where decals are to be applied, using a foaming aerosol or mild soap solution.
- Remove backing from decals and position the decals in place.
- Using a squeegee, slowly and evenly press out any excess foam until you have a smooth finish. For best results, start from the center o_f the decal, working slowly and evenly out to the sides.
INSTALL NEW CROWNS GOLF MARQUEE AND FRONT GLASS.
INSTALL F.C.C. REQUIRED CIRCUIT BOARD CAGE.
Although no coin meter is included in the Crowns Golf Conversion kit, provision was made in the harness for an optional coin meter hook-up. If you decide you would like a coin meter, please install it in the following manner:
- Attach the source lead of the coin meter to position #1 of the coin meter plug (browngray-gray wire).
- Attach the other lead of the coin meter to position #3 of the coin meter plug (blackgray-gray wire).
FCC STATEMENT
F.C.C. REGULATION COMPLIANCE
WARNING
THE P.C. BOARD CAGE SUPPLIED WITH THIS CONVERSION KIT MUST BE UTILIZED AND TERMINATED TO GROUND AT THE TIME OF INSTALLATION. THIS IS TO AVOID RADIO FREQUENCY RADIATION AND COMPLY WITH THE LIMITS FOR A CLASS “A” COMPUTING DEVICE PURSUANT TO SUB-PART “J” OF PART 15 OF F.C.C. RULES, WHICH ARE DESIGNED TO PROVIDE REASONABLE PROTECTION AGAINST SUCH INTERFERENCE WHEN OPERATED IN A COMMERCIAL ENVIRONMENT. OPERATION OF THIS EQUIPMENT IN A RESIDENTIAL AREA IS LIKELY TO CAUSE INTERFERENCE – IN WHICH CASE, THE USER AT HIS OWN EXPENSE, WILL BE REQUIRED TO TAKE WHATEVER MEASURES MAY BE REQUIRED TO CORRECT THE INTERFERENCE.
MONITOR SYNC MODIFICATION
Crowns Golf generates a composite negative sync signal (often designated as SYNC}, which is directly applicable to most video game monitors. However, some color monitors, particularily those found in early versions of Williams’ Defender™, only have inputs for positive sync and must be modified to be compatible with the Crowns Golf system. If you have a monitor that needs modification, please perform the following procedure:
- Cut the Sync wire at a distance of approximately 8 inches from the MONITOR 3 PIN SYNC CONNECTOR.
- Carefully solder the wire end leading to the logic board assembly to Pin #1 of a 7404 or 74LS04 I.C. (These are readily available intergrated circuits and are very inexpensive).
- Solder a wire from Pin #7 to a convenient D.C. ground, solder a wire from Pin #14 to
+ 5VDC, available either at power supply or logic board edge connector. - To give a professional appearance and prevent future shorting problems, place a small dab of glue on the face (top} of the I.C. and attach it to a convenient place on the monitor. On a Wells Gardener Monitor, a handy mounting place is the black plastic bar used to hold the sync board in place.
- Remove the sync wires from positions 2 and 3 of the 3 pin Molex plug and transfer them to positions 5 and 6 of the 6 pin Molex plug. Remove the ground wire from position 1 of the 3 pin Molex plug and transfer it to position 4 of the 6 pin Molex plug.
- Visually inspect the pins of the I.C. BEFORE POWERING UP to insure that they are not touching each other or any part of the monitor.
STANDARD MONITOR WIRING

UNIVERSAL INSTALLATION INSTRUCTIONS
TO CONVERT ANY HORIZONTALLY MOUNTED COLOR MONITOR GAME:
- Remove existing control panel switches, joysticks and wiring. Remove existing circuit board assembly(ies), clean game interior & CRT screen.
- Remove existing marquee and graphics. Heat from a hair dryer can be used to remove stick-on decals. Residue can be removed with acetone and a soft, dry cloth. Don’t use acetone on any flat paint surfaces.
- Install new circuit board assembly.
- Using the control panel template provided, carefully make and cut the required holes in your existing control panel. To cut the large rectangular hole, mark and drill 4 holes at the corners and, using a jig saw, cut a line to connect the holes.
- Position the new Crowns Golf control panel overlay and slowly remove the backing as you adhere it to the surface of the control panel. Using an Exacto knife, carefully cut around the holes needed for the new control panel assembly.
Note: Although it is not absolutely necessary, we recommed that any holes not needed in the control panel be filled with epoxy, wood glue, etc., to give structural rigidity to the control panel. - Install the new Crowns Golf control panel assembly with the carriage bolts provided.
- Rewire the game using the Crowns Golf wire harness provided. You may find it necessary to alter or remove the plugs originally intended to be used for Williams’ type power supply and coin door assemblies. Please refer to the connector diagram and game wiring diagrams, paying particular attention to the wire designation and color coding.
- Remove and clean the front glass. Position the Crowns front glass overlay and slowly remove the backing as you adhere it to the surface of the glass. Install the modified front glass in the game.
APPLY NEW SIDE GRAPHICS IN THE FOLLOWING MANNER:
- Spray area of cabinet where decals are to be applied, using a foaming aerosol or mild soap solution.
- Remove backing from decals and position decals in place.
- Using a squeegee, slowly and evenly press out any excess foam until you have a smooth finish. For best results, start from the center of the decal, working slowly and evenly out to the sides.
INSTALL NEW CROWNS GOLF MARQUEE.
INSTALL F.C.C. REQUIRED CIRCUIT BOARD CAGE.
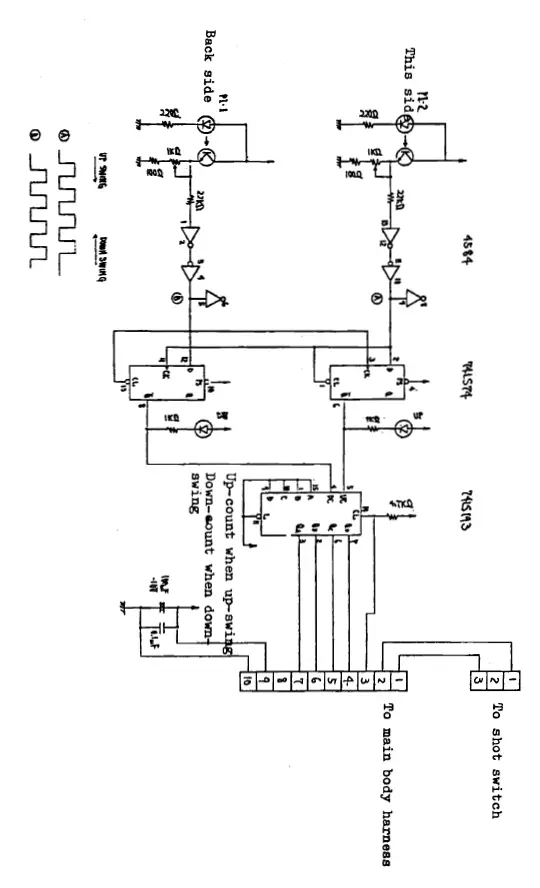
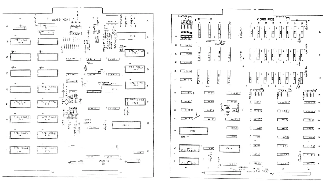
CROWNS GOLF CONTROL BOARD

CROWNS GOLF WIRE HARNESS CONNECTOR DIAGRAM























