COVNA HKKB Series Solenoid Valve

Product Information
The product is a solenoid valve designed to control the flow of clean liquids or gases through a pipeline. The valve has a coil that can get heated during operation, and it is recommended to install the valve in a vertical position with the coil facing upwards to reduce the possibility of debris collection. The valve has a sleeve flange and a cover, which can be disassembled for cleaning and maintenance. The product comes with a user manual that contains safety instructions, installation instructions, and troubleshooting guidelines.
Product Usage
To use the solenoid valve, follow these instructions:
- Before starting, check the compatibility of the medium used, temperature, and other operating conditions with the materials and specifications of the product. Select the right product for the application.
- Install a filter before the solenoid valve to ensure that only clean liquids or gases pass through the valve.
- Never exceed the limits for pressure, temperature, or voltage as indicated on the product and/or in the technical documentation.
- If you notice smoke or a burning smell from the valve, immediately disconnect the power supply.
- Install the solenoid valve in a vertical position with the coil facing upwards to reduce the probability of debris collection.
- If the valve fails to operate, check the electrical supply with a voltmeter. The voltage must agree with the nameplate rating.
Also, check the coil with an ohmmeter for shorted or opened coil.
Ensure that pressure complies with nameplate rating. - If the valve is sluggish or inoperative even after electrical supply and pressure check out, disassemble the valve, clean out extraneous matter, and ensure that the plunger moves freely without binding. If a diaphragm design, check the diaphragm for tears and/or clogged or obstructed bleed hole or pilot orifice. Check all springs and replace if broken.
- If there is external leakage at the sleeve flange or joint between body and cover, check that the sleeve and/or cover screws are torqued to specifications. If leakage persists, replacement of diaphragm assembly or flange O-ring may be required, and/or bodies or covers with damaged sealing surfaces may have to be replaced.
- If there is external leakage at the speed control device, check O-rings for damage and replace if necessary.
- If there is internal leakage, disassemble the valve, remove extraneous matter, and clean parts in a mild soap and water solution. Examine diaphragm sealing surface for dirt. Remove all foreign particles. Examine orifice for nicks. Damaged parts must be repaired or replaced.
- If you notice chatter or buzz sound when energized, remove power from the coil. Inspect the plunger and sleeve for excessive wear or contamination.
High Pressure Piston Pilot Operated
- Characteristic:
- High pressure solenoid valve with Pilot operated piston construction for compress air machine, injecting plastic machine
- With PARKER seals to improve the quality
- Medium: Water, Hot Water, Compressed Air, Oil, <20CST,GAS>
- Temperature: PTFE Seal:-10°C to 180°C
- Pressure:
0.1MPa~10.0MPa. 0.1MPa~25.0Mpa - Port Size:
1/4″,3/8″, 1/2″, - Port Thread:
BSPP, BSPT, NPT - Orifice (mm): 1.2, 2.0, 2.5, 3.0
- Voltage:
DC-12V, 24V
AC-24V, 120V, 240V/60Hz; 110V, 220V/50Hz - Tolerance: +-10%
- Coils: S21B, 24VA(AC), 18W(DC), Ip65, 100%ED
- Material:
- Body – Stainless Steel 304
- Seal – PTFE
- Armature Tube – Stainless Steel304
- Plunger – Stainless Steel 430F
- Stop – SUS 403F
- Springs – SUS 304
- Shading Rings – Stainless Steel 304
Determine Valve Body Code
EXMAPLE: NC, 3.0MM ORIFICE, 1/4″G, STAINLESS STEEL BODY, PET SEAL, COIL S21B, AC220V, DIN
Technical Parameters

Outline Size Drawing


Safety instructions before starting
- Check the compatibility of the medium used, temperature and other operating conditions with the materials and specifications of the product. It is the responsibility of the user to select the right product for the application.
- Solenoid valves can only be used with clean liquids or gases. It is recommended to install a filter before the solenoid valve.
- Never exceed the limits for pressure, temperature or voltage as indicated on the product and/or in the technical documentation.
- The temperature of a solenoid valve coil can rise during operation; this is normal. Overheating will cause smoke and a burning smell. In this case, the power supply must immediately be disconnected.
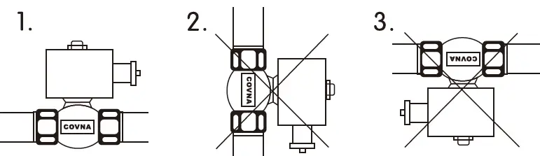
It is recommended to install the solenoid in vertical position with the coil facing upwards. This reduces the probability of the collection of debris in the solenoid valve.
Installation Instruction
- The solenoid valve can be used in combination with clean liquids or gases. Make sure that the pipe may contain dirt before installing the valve. It is recommended to install a filter (500 µm) before the solenoid valve.
- Be aware of the direction of flow of the medium when installing the valve. Solenoid valves with an arrow on the housing must be connected in the indicated direction. The pipes on both sides of the valve must be securely fastened. Use a wrench for both valve and pipe while tightening to prevent unnecessary stresses in the system. The solenoid valve must be fixed via the provided connection points. Only exert force at the designated areas on the body such as the hexagon; never to the coil or armature. Avoid vibration in the pipes. Use a suitable sealant for threaded connections of the solenoid valve. Avoid the entry of thread sealing material in the valve, this can lead to malfunctioning of the valve.
Common faults and inspection, troubleshooting
| Problem | Solution |
| Valve fails to operate | Check electrical supply with voltmeter. Voltage must agree with nameplate rating. |
| Check coil with ohmmeter for shorted or opened coil. | |
| Make sure that pressure complies with nameplate rating. | |
| The valve is sluggish or inoperative – electrical supply and pressure check out | Disassemble valve; clean out extraneous matter. The plunger must be free to move without binding. |
| If a diaphragm design, check the diaphragm for tears and/or clogged or obstructed bleed hole or pilot orifice. Torn diaphragm must be replaced. | |
| Check all springs. If broken, replace. | |
| External leakage at sleeve flange or joint between body and cover | Check that the sleeve and/or cover screws are torqued to specifications. If leakage persists, replacement of diaphragm assembly or flange O-ring may be required and/or bodies or covers with damaged sealing surfaces may have to be replaced. |
| External leakage at speed control device | Check O-rings for damage and replace if necessary. |
| Internal leakage | Disassemble valve, remove extraneous matter, and clean parts in a mild soap and water solution. |
| Examine diaphragm sealing surface for dirt. Remove all foreign particles. Examine orifice for nicks. Damaged parts must be repaired or replaced. | |
| Check plunger return spring. Replace if broken. | |
| Chatter or buzz sound when energized | Remove power from the coil. |
| Inspect the plunger and sleeve forexcessive wear or contamination. |

It is recommended to install the solenoid in vertical position with the coil facing upwards. This reduces the probability of the collection of debris in the solenoid valve.

















