eao 302-26-190 84 IO-Link Touch Instruction Manual
Technical data
Operating voltage: DC 24V (8.4 … 32V)
Load current: Max. 200mA
Output: Adjustable PNP/NPN; NO/NC
Length of output pulse: Adjustable
Reverse polarity protection: Protection of all cables/lines
Short circuit protection: Protected against short circuit and overload
Voltage drop: Max. 5V at 200mA load current
Power consumption at 24V: Max. 40 mA
Operating temperature: –30°C … +65°C
Protection degree IP: Front side IP69K maximum unevenness in mounting surface <0.1mm
Protection degree: IK IK08
Communication interface: IO-Link specification V1.1
Control voltage E1/E2: on 80%UV+, off 0 … 20% UV+
Measuring principle: Capacitive
Type of actuation: Touch
Actuation force: No actuation force required
Max. altitude: 2000m above sea level with
«CSA listing»
Relative air humidity: Max. 95%, non-condensing
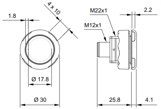
Dimensions

Mounting cut-out

The IO-Link Touch is secured against rotation by the illustrated hole.
Connection options
- Plug M12 3-pin

- Plug M12 4-pin

- Plug M12 5-pin

All dimensions in mm.
Connection plan

The product description will indicate the configuration.
The product description will indicate the configuration.
The product description will indicate the configuration.
Standard symbols (examples)
- Symbol B10

- Symbol B11

- Symbol B12

- Symbol B13

- Symbol B14

- Symbol C17

- Symbol C18

- Symbol C12

- Symbol C19

- Symbol C16

Safety
General safety
All work on electrical systems or operating equipment may only be carried out by a specially qualified electrician according to the applicable electro technical regulations.
The safety of the system in which the IO-Link Touch is integrated is the responsibility of the operator.
WARNING
Improper work on electrical systems!
Electric shock can result in death or life-threatening injuries.
- Before working on electrical systems, disconnect them from their voltage supply and secure them against being switched on again
- Work on electrical installations should be carried out only by qualified personnel in compliance with local and national electrical regulations and specifications
Intended use
The IO-Link Touch is intended for use in accordance with the items listed here, the values from the “Technical specifications” chapter and the product description.
- Only connect the product to a limited energy source as per IEC 61010 or an NEC class 2 power supply unit.
- Source current <4A at maximum operating voltage
Reasonably foreseeable misuse
Any use other than as specified in the section Intended use or extending beyond this is deemed to be improper.
The IO-Link Touch is not suitable for:
- Use in potentially explosive atmospheres.
- Use as a safety component as per directive 2006/42/EC
Foreword
These operating instructions are intended for technicians/installers and operators and should be kept for future reference. Read these operating instructions carefully and make sure that you have fully understood the contents before installing or working with the IO-Link Touch.
Assembly
Requirements
- Mounting surface is level and clean (maximum unevenness in mounting surface 0.1mm)
- The panel is between 1.0mm and 9.5mm thick

- A = IO-Link Touch
- B = Flat seal (fitted)
- C = Fixing nut
- D = Connection M12
- Disconnect the system from its voltage supply and secure it against being switched on again
- Set the desired position of the IO-Link Touch and drill the hole according to the drilling pattern
- Insert the IO-Link Touch (A) into the prepared hole and screw the lock nut (C) on
- Position the IO-Link Touch (A) and tighten the lock nuts with max. 1.5 Nm
- Connect the IO-Link Touch (A) electrically according to the connection plan
Maintenance
Maintenance operations
Carry out the following maintenance operations at the specified intervals.
| Maintenance operations | as needed | annually |
| Clean the switch surface | X | |
| Check cables for intactness and firm fit | X | |
| Check screw connections for tightness | X |
NOTICE
Solvents contained in cleaning agents can attack the plastic of the button!
- Clean the surface of the button with a neutral cleaning agent or a damp microfiber cloth
Disassembly
- Disconnect the system from its voltage supply and secure it against being switched on again
- Disconnect the electrical connection and remove the lock nuts
Disposal
Different types of electrical and electronic components must be recycled according to their type. All applicable statutory, state and local laws and regulations must be complied with.
Approvals
![]()

Contacts in one section must be same polarity
EAO Contact
Your centre of excellence.
Headquarters
EAO Holding AG
Tannwaldstrasse 88
CH-4600 Olten
Telephone +41 62 286 92 00
[email protected]
Manufacturing Companies
Switzerland
EAO AG
Tannwaldstrasse 88
CH-4600 Olten
Telephone +41 62 286 91 11
[email protected]
EAO Systems AG
Tannwaldstrasse 88
CH-4600 Olten
Telephone +41 62 286 91 11
[email protected]
China
EAO (Guangzhou) Ltd.
3/F, Block G4, South China
New Materials Innovation Park
31 Kefeng Road
Guangzhou Science City
CN-Guangzhou, PRC
Telephone +86 20 3229 0390
[email protected]
Germany
EAO Automotive GmbH & Co. KG
Richard-Wagner-Straße 3
DE-08209 Auerbach/Vogtland
Telephone +49 3744 8264 0
[email protected]
North America
EAO Corporation
One Parrott Drive
Shelton
US-CT 06484
Telephone +1 203 951 4600
[email protected]
Sales Companies
China
EAO (Guangzhou) Ltd.
3/F, Block G4, South China
New Materials Innovation Park
31 Kefeng Road
Guangzhou Science City
CN-Guangzhou, PRC
Telephone +86 20 3229 0390
[email protected]
EAO (Shanghai) Office
Rm.401, Lihpao Plaze,
NO.159 Shenwu Road,
Minhang District,
CN-Shanghai, 201106.
PRC
Telephone +86 21 6095 0717
[email protected]
France
EAO France SAS
Bâtiment Silex
15 rue des Cuirassiers
CS 33821
FR-69487 Lyon Cedex O3
Telephone +33 9 74 18 93 41
[email protected]
Germany, Austria, Czech Republic, Poland, Slovakia
EAO GmbH
Langenberger Straße 570
DE-45277 Essen
Telephone +49 201 8587 0
[email protected]
Hong Kong (Asia Pacific)
EAO (Far East) Ltd.
Unit A1, 1/F, Block A
Tin On Industrial Building
777 Cheung Sha Wan Road
Lai Chi Kok, Kln
HK-Hong Kong
Telephone +852 27 86 91 41
[email protected]
Italy
EAO Italia S.r.l.
Centro Direzionale Summit –
Palazzo D1
Via Brescia 28
IT-20063 Cernusco sul Naviglio (MI)
Telephone +39 029 247 0722
[email protected]
Japan
EAO Japan Co. Ltd.
Net 1 Mita Bldg. 3F
3-1-4 Mita Minato-ku
JP-Tokyo 108-0073
Telephone +81 3 5444 5411
[email protected]
Netherlands, Belgium
EAO Benelux B.V.
Kamerlingh Onnesweg 46
NL-3316 GL Dordrecht
Telephone +31 78 653 17 00
[email protected]
North America
EAO Corporation
One Parrott Drive
Shelton
US-CT 06484
Telephone +1 203 951 4600
[email protected]
Switzerland
EAO Schweiz AG
Tannwaldstrasse 86
CH-4600 Olten
Telephone +41 62 286 95 00
[email protected]
United Kingdom, Denmark, Finland, Ireland, Norway, Sweden EAO Ltd.
Highland House
Albert Drive
Burgess Hill
GB-West Sussex RH15 9TN
Telephone +44 1444 236 000
[email protected]




































