VENTURE LIGHTING AS0043 LED Volumetric Troffer with Battery Backup

Before You Begin
Read These Instructions Completely and Carefully
Upgrade Instructions
- STEP 1: Disconnect power from the existing luminaire and follow proper lockout/tagout procedures before beginning installation or maintenance.
- STEP 2: Remove the existing luminaire. Dispose of the lamp(s) and ballast(s) per local requirements.
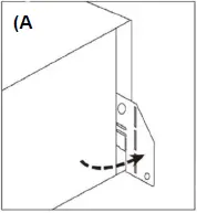
- STEP 3: Bend the mounting tabs on each corner of the fixture out (approx. 90°). (A)

- STEP 4: Place the fixture into a T-grid. (B)

- STEP 5: Bend the tabs again so that the tab is flush against the T-grid to ensure the mounting tab is securely hooked onto the T-grd. (C)

- STEP 6: Use a #8 x 1/4” sheet metal screw to fasten the fixture to the T-grid. (D)

STEP 7: Remove the wiring compartment cover plate. (E)
- STEP 8: Make the necessary wiring connections as shown in the wiring diagram. (F)
NOTE: The wiring between the battery backup, fixture test switch, driver(s) and LED modules is already completed. There are two black input wires: the flagged black wire should be connected to continuous (or unswitched) input power. When power is interrupted on this wire, the fixture will enter battery backup mode. The unlabeled input wire should be connected to the switch or control that will turn the fixture on and off under normal circumstances.- The polarity of the dimming connections is important to ensure the performance as desired.
- If not using the dimming functionality, DO NOT connect the Driver Dim+ (purple) to the Driver DIM- (pink). The fixture will not operate as desired.
- STEP 9: Replace and secure the wiring cover plate.
- STEP 10: Power can now be restored to the fixture.
(F) Wiring Diagram
WARNING
Risk of fire and electric shock
- Disconnect power from the luminaire and follow proper lockout/tagout procedures before beginning installation or maintenance. Contact a qualified electrician for installation.
- Venture Lighting’s LED Volumetric Troffer Fixture installation requires knowledge of luminaire electrical systems. If not qualified, do not attempt installation. Contact a qualified electrician.
- To prevent wiring damage or abrasion, do not expose wiring to edges of sheet metal or other sharp objects.
- The product should be installed and operated by a qualified electrician or technician in accordance with relevant local codes.
- Check to make sure that all fixture connections have been properly made and the fixture is grounded to avoid potential electrical shocks.
- Do not handle energized fixture when hands are wet, when standing on wet or damp surfaces, or in water.
- Suitable for use in damp and dry locations.
- Venture Lighting’s LED Volumentric Troffer Fixture is Type IC.
- The installer must determine that the supply voltage meets the fixture requirement.
QR SCAN
(800) 451-2606
ADDRESS: 6675 Parkland Blvd., Suite 100 Solon, Ohio 44139 USA
E-mail: [email protected]
VentureLighting.com
© 2022 Venture Lighting International ˜ Venture Lighting is a registered trademark of Venture Lighting International.

























