INSTALLATION
Before Installing
Installation Overview
Please read the following installation instructions first after purchasing this product or transporting it to another location.

- Unpacking the Refrigerator
- Choosing the Proper Location
- Disassembling/Assembling
- Connecting the Water Line
- Leveling and Door Alignment
WARNING
- Connect to potable water supply only.
Unpacking the Refrigerator
WARNING
- Use two or more people to move and install the refrigerator. Failure to do so can result in a back injury or another injury.
- The refrigerator is heavy. Protect the floor when moving the refrigerator for cleaning or service. Always pull the refrigerator straight out when moving it. Do not wiggle or walk the refrigerator when trying to move it, as floor damage could occur.
- Keep flammable materials and vapors, such as gasoline, away from the refrigerator. Failure to do so can result in fire, explosion, or death.
NOTE
- Remove tape and any temporary labels from your refrigerator before using. Do not remove any warning labels, the model and serial number label, or the Tech Sheet that is located under the front of the refrigerator.
- To remove any remaining tape or glue, rub the area briskly with your thumb. Tape or glue residue can also be easily removed by rubbing a small amount of liquid dish soap over the adhesive with your fingers. Wipe with warm water and dry.
- Do not use sharp instruments, rubbing alcohol. flammable fluids, or abrasive cleaners to remove tape or glue. These products can damage the surface of your refrigerator.
Reinstall or adjust shelves as needed. Refrigerator shelves are installed in the shipping position. Reinstall shelves according to your individual storage needs.
NOTE - Installing on carpeting, soft tile surfaces, a platform, or a weakly supported structure is not recommended.
Choosing the Proper Location
Water
supply must be easily connected for the automatic icemaker.
NOTE
The water pressure must be 20 -120 psi or 138 -827 kPa or 1.4 – 8.4 kg/cm2. If the refrigerator is installed in an area with low water pressure (below 20 psi or 138 kPa or 1.4 kg/cm2), you can install a booster pump to compensate for the low pressure.
Electricity
Use an individual, grounded outlet:1 1 5 Volts, 60 Hz, AC, 15 Amps minimum.
WARNING
- Do not overload house wiring and cause a fire hazard by plugging in multiple appliances in the same outlet with the refrigerator.
- To reduce the risk of electric shock, do not install the refrigerator in a wet or damp area.
Flooring
To avoid noise and vibration, the unit must be installed and leveled on a solidly constructed floor. If required, adjust the leveling legs to compensate for the unevenness of the floor.
NOTE
- Installing on carpeting, soft tile surfaces, a platform, or a weakly supported structure is not recommended.
Ambient Temperature
Install this appliance in an area where the temperature is between 55 °F (13 °C) and 110 °F (43 °C).
If the temperature around the appliance is too low or high, cooling ability may be adversely affected.
Dimensions and Clearances
- Check the dimensions of the appliance and the installation path to ensure there is sufficient room to move the refrigerator through doors or narrow openings.
- If an opening is too narrow to fit the refrigerator through, remove the refrigerator doors. See Removing/ Assembling the Doors and Drawers in this manual.
- The installation location chosen for the refrigerator should allow space behind the unit for connections and airflow and space in front to open the doors and drawers.
- Too small of a distance from adjacent items may result in lowered freezing capability and increased electricity consumption charges. Allow at least 27 inches (686 mm) in front of the refrigerator to open the doors and at least 2 inches (51 mm) between the back of the refrigerator and the wall.

| – | Dimension/Clearance | LRFC52503* / LRFCS2523* / LRFCS25D3* LM65BGSK / LRFNS2503* |
| A | Depth without Handle | 331/4″ (845 mm) |
| B | Width | 32 7/8″ (833 mm) |
| C | Height to Top of Case | 68 1/r (1740 mm) |
| D | Height to Top of Hinge | 69 7/8″ (1774 mm) |
| E | Back Clearance | 2″ (51 mm) |
| F | Case Edge Clearance (Door Fully Open) | 14 5/8″ (370 mm) |
| G | Width (Door Fully Open without Handle) | 59″ (1495 mm) |
| H | Depth without Door | 29 1/2″ (748 mm) |
| I | Depth with Handle | 35 1/2″ (899 mm) |
| J | Depth (Total with Freezer Drawer Open) | 53 3/8″ (1355 mm) |
| K | Depth (Total with Door Open 90°) | 46 3/4″ (1185 mm) |
| L | Front Clearance | 27″(686 mm) |
Removing/Assembling the Handles
When moving the refrigerator through a narrow opening, removing the doors is preferred. The appearance of the handles may vary from what is shown.
WARNING
- When assembling or disassembling the refrigerator handles, grasp the handle firmly to avoid dropping it.
- Do not swing the handle into nearby people or animals.
- Make sure that the bracket hole of the handle fits properly into the stopper bolt of the door. Assemble the set screws to fix the handle into place.
- Make sure that there Is not a gap between the door and handle after assembling the handle.
Tools Needed
- 3/32 in. Allen wrench
- 1/8 in. Allen wrench
- 1/4 in. Allen wrench
Removing the Refrigerator Handles
- Loosen the set screws 1 with a 3/32 in. Allen wrench and remove the handle.
- Loosen the mounting fasteners 2 that connect to the refrigerator door and handle using¼ in. Allen wrench, and remove the mounting fasteners.

Assembling the Refrigerator Handles
- Assemble the mounting fasteners at both ends of the handle with a 1/4 in. Allen wrench.
- Place the handle on the door by fitting the handle footprints over the mounting fasteners and tightening the set screws b with a 3/32 in. Allen wrench.

Removing the Freezer Drawer Handle
- Loosen the set screws located on the lower side of the handle with a 1/8 in. Allen wrench and remove the handle.
- Loosen the mounting fasteners 2 with a 1/4 in. Allen wrench, and remove the mounting fasteners.

Assembling the Freezer Drawer Handle
- Assemble the mounting fasteners 1 at both ends of the handle with a 1/4 in. Allen wrench.
- Place the handle on the door by fitting the handle footprints over the mounting fasteners and tightening the set screws 2 with a 1/8 in. Allen wrench.

Removing/Assembling the Doors and Drawers
If the entrance door is too narrow for the refrigerator to pass through, remove the refrigerator doors and move the refrigerator sideways through the doorway.
WARNING
- Use two or more people to remove and install the refrigerator doors and freezer drawer.
- Disconnect the electrical supply to the refrigerator before installing.
- Do not put hands, feet, or other objects into the air vents or bottom of the refrigerator.
- Be careful when handling the hinge and stopper.
- Remove food and bins before detaching the doors and drawers.
- Do not hold the handle when removing or replacing the doors and drawer as the handle may come off.
Tools Needed
3/32 in. Allen wrench
1/8 in. Allen wrench
1/4 in. Allen wrench
Removing the Left Refrigerator Door
- Remove the top hinge cover screws 1. Lift the hook (not visible), located at the bottom of the front side of cover 2 with a flat-head screwdriver.

- Disconnect the wire harness 3. Remove the grounding screw 4.

- Rotate the hinge lever 5 counterclockwise. Lift the top hinge 6 free of the hinge lever latch 7.

Removing the Right Refrigerator Door
- Remove the top hinge cover screws 1. Lift the hook (not visible), located at the bottom of the front side of cover 2. with a flathead screwdriver.

- Rotate the hinge lever 3clockwise. Lift the top-hinged 4 free of the hinge lever latch 5
CAUTION
When lifting the hinge, be careful that the door does not fall forward.
- Lift the door from the middle hinge pin and remove the door.
CAUTION
Place the door, inside facing up, on a non-scratching surface.

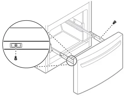
Removing the Freezer Drawers
The Pullout Drawer located above the freezer drawer is not shown for clarity.
WARNING
- Use two or more people to remove and install the refrigerator doors and freezer drawer.
- Be careful of sharp hinges on both sides of the drawer.
- When you lay the drawer down, be careful not to damage the floor.
- Do not sit or stand on the freezer drawer.
- To prevent accidents, keep children and pets away from the drawer. Do not leave the drawer open. If the Durabase® storage bin is removed from the freezer drawer, there is sufficient space for a small child or pet to crawl inside.
- Pull the drawer open to full extension
- Gently lift and pull out the ice bin.

- Lift the front of the drawer up, then pull it straight out.

- Remove the Durabase basket from the rails. Remove the screws from the rails at both ends.

- Grip both sides of the drawer and pull it up to remove it from the rails.
CAUTION
• Do not hold the handle when removing or replacing the drawer. The handle may come off, causing personal injury.
- Hold both rails and push them in simultaneously.

Assembling the Freezer Drawer
- Pull out both rails simultaneously, until they are fully extended.

- Grasp the drawer on each side and hook the drawer supports into the rail tabs located on both sides.
CAUTION
• Do not hold the handle when removing or replacing the drawer. The handle may come off, causing personal injury.
- Lower the door into its final position and insert the screws in the rails on both sides.

- Insert the drawer into the frame, and push the drawer back until it clicks into place.

- Replace the ice bin in the drawer. Insert the Durabase basket in the rail assembly.

Assembling the Right Refrigerator Door
CAUTION
Install the right site door.
- Make sure that the plastic sleeve is inserted in the bottom of the door. Lower the door onto the middle hinge pin.

- Align the door with the cabinet.
- Fit the hinge 1 over the hinge lever latch2 and slot it into place. Rotate the lever 3 counterclockwise to secure the hinge.

- Replace the hinge cover 4. Insert and tighten the cover screws 5.

Assembling the Left Refrigerator Door
CAUTION
Install the left refrigerator door is installed.
- Make sure that the plastic sleeve is inserted in the bottom of the door. Install the refrigerator door onto the middle hinge.

- Align the door with the cabinet.
- Fit the hinge 1over the hinge lever latch 2 and slot it into place. Rotate the lever 3 clockwise to secure the hinge.

- Connect all the wire harnesses 4 and the ground screw 5.

- Replace the hinge cover 6. Insert and tighten the cover screws 7.

Connecting the Water Line
Before Beginning
This water line installation is not covered by the refrigerator warranty. Follow these instructions carefully to minimize the risk of expensive water damage.
If necessary, call a qualified plumber to correct the water hammer before installing the water supply line to the refrigerator. Water banging in the pipes, or water hammer in residential plumbing can cause damage to refrigerator parts and lead to water leakage or flooding.
- Turn the ice maker OFF if the refrigerator will be used before the water line is connected
- Do not install the icemaker tubing in areas where the ambient temperatures fall below freezing.
WARNING
- Connect to potable water supply only.
CAUTION
- To prevent burns and product damage, only connect the refrigerator water line to a cold water supply.
- Wear eye protection during installation to prevent injury.
Water Pressure
You will need a cold water supply.
| Water Pressure | |
| models with water filter | 20 – 120 psi (138 – 827 kPa) |
| where reverse osmosis water filtration system is connected to a cold water supply | 40 – 60 psi minimum to reverse osmosis system (2.8 kgf/cm2 2 – .2 kg/cm, or less than 2 – 3 seconds to fill a cup of 7 oz capacity) |
If the water pressure from the reverse osmosis system is less than 20 psi or 138 kPa or 1.4 kgf/ cm2 (takes more than 4 seconds to fill a cup of 7 oz or 198 cc capacity):
- Check to see if the sediment filter in the reverse osmosis system is blocked. Replace the filter if necessary.
- Allow the storage tank on the reverse osmosis system to refill after heavy usage.
- If the water pressure remains low, call a licensed, qualified plumber.
- All installations must be in accordance with local plumbing code requirements.
Supplies Needed
Copper or PEX Tubing, % in. outer diameter, to connect the refrigerator to the water supply. Be sure both ends of the tubing are cut square. To determine how much tubing you need, measure the distance from the water valve on the back of the refrigerator to the water supply pipe. Then, add 8 feet (2.4 m). Be sure there is sufficient extra tubing (about 8 feet [2.4 m] coiled into 3 turns of about 10 in. [25 cm] diameter) to allow the refrigerator to move out from the wall after installation.
- Power drill.
- Va in. or adjustable wrench.
- Flat-blade and Phillips-head screwdrivers.
- Two % in. outer diameter compression nuts and 2 ferrules (sleeves) to connect the copper tubing to the shutoff valve and the refrigerator water valve.

- If Your existing copper water line has a flared fitting at the end, purchase an adapter (available at plumbing supply stores) to connect the water line to the refrigerator OR cut off the flared fitting with a tube cutter and then use a compression fitting.

Shutoff valve to connect to the cold water line.
The shutoff valve should have a water inlet with a minimum inside diameter of 5/32 in. at the point of connection to the COLD WATER LINE. Saddle-type shutoff valves are included in many water supply kits. Before purchasing, make sure a saddle-type valve complies with your local plumbing codes.
NOTE
- A self-piercing saddle-type water valve should not be used.
Water Line Installation Instructions
Install the shutoff valve on the nearest frequently used drinking water line.
WARNING
When using any electrical device (such as a power drill) during installation, be sure the device is battery-powered, double-insulated or grounded in a manner that will prevent the hazard of electric shock.
- Shut off the main water supply
• Turn on the nearest faucet to relieve the pressure on the line. - Choose the valve location.
• Choose a location for the valve that is easily accessible. It is best to connect into the side of a vertical water pipe. When it is necessary to connect into a horizontal water pipe, make the connection to the top or side, rather than at the bottom, to avoid drawing off any sediment from the water pipe.
- Drill the hole for the valve.
• Drill a Y. in. hole in the water pipe using a sharp bit. Remove any burrs resulting from drilling the hole in the pipe. Be careful not to allow water to drain into the drill. Failure to drill a Y. in. hole may result in reduced ice production or smaller cubes.
NOTE
• The hookup line cannot be white, plastic tubing. Licensed plumbers must use only copper tubing (NDA tubing #49595 or #49599) or Cross Link Polyethylene (PEX) tubing.
- Fasten the shutoff valve.
• Fasten the shutoff valve to the cold water pipe with the pipe clamp.
NOTE
• Commonwealth of Massachusetts Plumbing Codes 248CMR shall be adhered to. Saddle valves are illegal and use is not permitted in Massachusetts. Consult with your licensed plumber.
1. Pipe Clamp
2. Saddle-Type Shutoff Valve
3. Vertical Cold Water Pipe - Tighten the pipe clamp
• Tighten the clamp screws until the sealing washer begins to swell.
NOTE
• Do not over tighten the clamp or you may crush the tubing.
1. Pipe Clamp
2. Inlet End
3. Clamp Screw
4. Washer Route the tubing.
• Route the tubing between the cold water line and the refrigerator. Route the tubing through a hole drilled in the wall or floor (behind the refrigerator or adjacent base cabinet) as close to the wall as possible.
NOTE
• Be sure there is sufficient extra tubing (about 8 ft. coiled into three turns of about 10 in. diameter) to allow the refrigerator to move out from the wall after installation.Connect the tubing to the valve.
• Place the compression nut and ferrule (sleeve) for copper tubing onto the end of the tubing and connect it to the shutoff valve. Make sure the tubing is fully inserted into the valve. Tighten the compression nut securely.
1. Saddle-Type Shutoff Valve
2. Compression Nut
3. Packing Nut
4. Outlet Valve
5. Ferrule (sleeve)Flush out the tubing.
• Turn the main water supply on and flush out the tubing until the water is clear. Shut the water off at the water valve after about one quart of water has been flushed through the tubing.
- Connect the tubing to the refrigerator.
NOTE
• Before making the connection to the refrigerator, be sure that the refrigerator power cord is not plugged into the wall outlet.
• Remove the plastic flexible cap from the water valve.
• Place the compression nut and ferrule (sleeve) onto the end of the tubing as shown.
NOTE
• Insert the end of the copper tubing into the connection as far as possible. While holding the tubing, tighten the fitting.
1. Tubing Clamp
2. 14 in. Tubing
3.14 in. Compression Nut
4. Ferrule (sleeve)
5. Refrigerator Connection - Turn the water on at the shutoff valve.
• Tighten any connections that leak.
CAUTION
- Check to see if leaks occur at the water line connections.
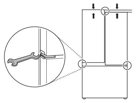
Leveling and Door Alignment
Leveling
The refrigerator has two front-leveling legs. Adjust the legs to alter the tilt from front to back or side to side. If the refrigerator seems unsteady, or the doors do not close easily, adjust the refrigerator tilt using the instructions below:
- Turn the leveling leg to the left to raise that side of the refrigerator or to the right to lower it. It may take several turns of the leveling leg to adjust the tilt of the refrigerator.
NOTE • A flare nut wrench works best, but an open-end wrench will suffice. Do not over-tighten.
- Open both doors and check to make sure that they close easily. If the doors do not close easily, tilt the refrigerator slightly more to the rear by turning both leveling legs to the left. It may take several more turns, and be sure to turn both leveling legs the same amount.
Door Alignment (Standard Door Model)
Both the left and right refrigerator doors have an adjustable nut, located on the bottom hinge, to raise and lower them to align properly. If the space between the doors is uneven even after the door bins are filled, follow the instructions below to align the doors evenly: Use the wrench (included with the owner’s manual) to turn the nut in the door hinge to adjust the height. Turn the nut to the right to raise the door or to the left to lower it.
Turning on the Power
• After installing, plug the refrigerator’s power cord into a 3-prong grounded outlet and push the refrigerator into the final position.
CAUTION
- Connect to a rated power outlet.
- Have a certified electrician check the wall outlet and wiring for proper grounding.
- Do not damage or cut off the ground terminal of the power plug.
Position the Refrigerator
- Arrange the coil of tubing so that it does not vibrate against the back of the refrigerator or against the wall. Push the refrigerator back to the wall.
Start the Icemaker
- If the water line is connected, set the icemaker power switch to the ON position.
- The icemaker will not begin to operate until it reaches its operating temperature of 10 °F (-12 °C) or below. It will then begin operation automatically if the icemaker power switch is in the ON (I) position.
































1. Pipe Clamp
1. Pipe Clamp




















