Use 4 pcs. M10 8.8 screws, in each end, for mounting to the application. The screw depth must be min. 20 mm and max. 30 mm in aluminum profile.
Screw torque: 35 Nm.
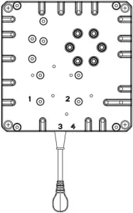
LC3 2-Stage
15 mm distance to thread
3 mm distance to thread
Screw depth min. 20 mm
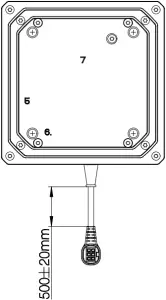
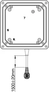
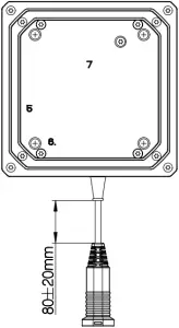
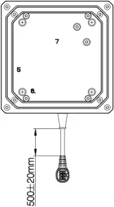
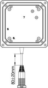
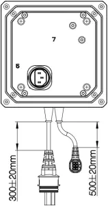
Mounting holes, top Mounting holes, bottom

Drawing no.: 1002W9008
Notice that the cable plug must be mounted correctly. The cable slot must fit into the socket.
Remember to secure the cable mounted in the top of the column to the application, so that it cannot be pulled out of the column.
We recommend to use LINAK Cable:
- Lock kit for minifit cable: 1002W8136-A.
- Lock kit for hand control cable through: 1002W8137-A
Use only the screws included in the kit. Screw torque: 2 Nm
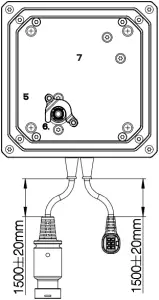
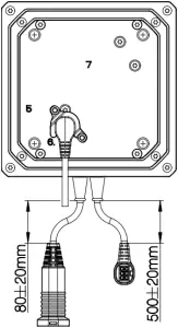
The cables coming out of the side of the column should follow below guidelines. The internal radius should not be more than 3 times the outer dimension OD – of the cable. For instance if the outer cable dimension is Ø7, the internal radius of the maximum cable bending is 21 mm.

![]()
- LC3 3-stage – protective grounding cable
LC3 has potential equalization between top and bottom plate but the middle profile is not grounded.
![]()
- It is recommended to use screws with thread-lock adhesive
- Screws of high quality steel 8.8 or 10.9 must be used to secure safe mounting of the LC3 to the application.
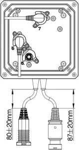
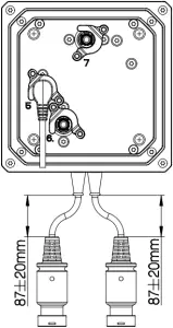
Cable connections overview
3-stage is used as examples but variants are also applicable for 2-stage. This overview shows all possible cable connections, but please notice that some variants are upon request.
| Variant | Top plate Drawing no.:1002W9005 | Side entry Drawing no.:1002W9005 | Model view |
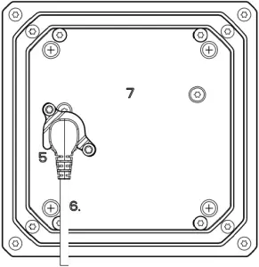
| T000
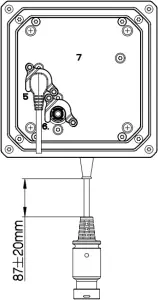
Connections | 5: Motor | ![]() | ![]() |
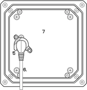
| T001
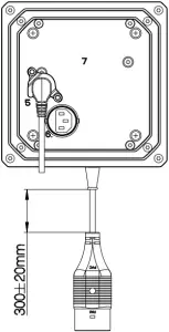
Connections | 5: Motor | ![]() | ![]() Including protective grounding cable |
| T100
Connections | ![]() 5: Motor | ![]()
| ![]() |
| T200
Connections | ![]() 5: Motor | ![]()
| ![]() |
| T030
Connections | ![]() 5: Motor Female connection top entry, male connection side entry | ![]()
Female connection top entry, male connection side entry | ![]() |
| T040
Connections | ![]() 5: Motor Male connection top entry, female connection side entry | ![]()
Male connection top entry, female connection side entry | ![]() |
| T101
Connections | ![]() 5: Motor | ![]()
| Including protective grounding cable |
| T201
Connections | ![]() 5: Motor | ![]()
| Including protective grounding cable |
| T031
Connections | ![]() 5: Motor Female connection top entry, male connection side entry | ![]()
Female connection top entry, male connection side entry | Including protective grounding cable |
| T041
Connections | ![]() 5: Motor Male connection top entry, female connection side entry | ![]()
Male connection top entry, female connection side entry | Including protective grounding cable |
| T110
Connections | ![]() 5: Motor | ![]()
| ![]() |
| T120
Connections | ![]() 5: Motor | ![]()
| ![]() |
| T220
Connections | ![]() 5: Motor | ![]()
| ![]() |
| T130
Connections | ![]() 5: Motor Female connection top entry, male connection side entry | ![]()
Female connection top entry, male connection side entry | ![]() |
| T140
Connections | ![]() 5: Motor Male connection top entry, female connection side entry 7: Minifit through | ![]()
Male connection top entry, female connection side entry
| ![]() |
| T230
Connections | ![]() 5: Motor Female connection top entry, male connection side entry 7: HB through | ![]()
Female connection top entry, male connection side entry
| ![]() |
| T240
Connections | ![]() 5: Motor Male connection top entry, female connection side entry 7: HB through | ![]()
Male connection top entry, female connection side entry
| ![]() |
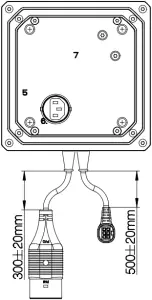
| S300
Connections | ![]() | 3: Motor supply | ![]() |
| S400
Connections | ![]() | 3: Motor supply | ![]() |
| S500
Connections | ![]() | ![]() 3: Motor supply | ![]() |
| S301
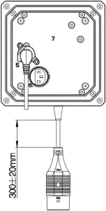
Connections | ![]() | 3: Motor supply | Including protective grounding cable |
| S401
Connections | ![]() | 3: Motor supply | Including protective grounding cable |
| S501
Connections | ![]() | ![]() 3: Motor supply | Including protective grounding cable |
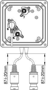
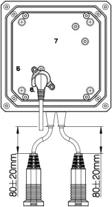
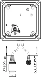
| S310
Connections | 6: Minifit through | 3: Motor supply | ![]() |
| S320
Connections | 6: HB through | ![]() 3: Motor supply | ![]() |
| S410
Connections | 6: Minifit through | ![]() 3: Motor supply | ![]() |
| S420
Connections | 6: HB through | ![]() 3: Motor supply | ![]() |
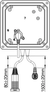
| S510
Connections | 6: Minifit through | ![]() 3: Motor supply | ![]() |
| S520
Connections | ![]() 6: HB through | ![]() 3: Motor supply | ![]() |
| S330
Connections | ![]() 6: Mains through 1 Female connection top entry, male connection side entry | ![]() 3: Motor supply Female connection top entry, male connection side entry | ![]() |
| S340
Connections | ![]() 6: Mains through 2 Male connection top entry, female connection side entry | ![]() 3: Motor supply Male connection top entry, female connection side entry | ![]() |
5: Motor

5: Motor















Including protective grounding cable

Including protective grounding cable

Including protective grounding cable

Including protective grounding cable





















3: Motor supply

3: Motor supply




3: Motor supply
Including protective grounding cable
3: Motor supply
Including protective grounding cable

Including protective grounding cable
6: Minifit through

6: HB through

6: Minifit through

6: HB through

6: Minifit through




























