YOTTA ENERGY DPI-208 Grid Support Utility Interactive Microinverter

Important Safety Instructions
This manual contains important instructions to follow during installation and maintenance of the Yotta DPI-208 and DPI-480 Grid Support Utility Interactive Microinverter. To reduce the risk of electrical shock and ensure the safe installation and operation of the DPI-208 and DPI-480 Microinverter, the following symbols appear throughout this document to indicate dangerous conditions and important safety instructions. Specifications are subject to change without notice – please ensure you are using the most.
Safety Instructions
- Do NOT disconnect the PV module from the DPI-208 and DPI-480 Microinverter without first disconnecting the AC power.
- Only qualified professionals should install and/or replace Yotta DPI-208 and DPI-480 Microinverters.
- Perform all electrical installations in accordance with local electrical codes.
- Before installing or using the DPI-208 and DPI-480 Microinverter, please read all instructions and warning notices in the technical documents and on the DPI-208 and DPI-480 Microinverter system and the solar array.
- Be aware that the case of the DPI-208 or DPI-480 Microinverter is the heat sink and can reach a temperature of 80°C. To reduce risk of burns, do not touch the case of the DPI-208 and DPI-480 Microinverter.
- Do NOT attempt to repair the DPI-208 or DPI-480 Microinverter. If it fails, contact Yotta ENERGY Customer Support to obtain an RMA number and start the replacement process. Damaging or opening the DPI-208 and DPI-480 Microinverter will void the warranty.
- Caution! Unlike other Yotta microinverters, DPI-208 and DPI-480 do not provide a ground connection through the AC connector. Ensure the microinveter is grounded, connect the AC then do the DC connections.
- Please install isolation switching devices on the AC side of the inverter.
- Caution!– Hot surfaces – To reduce the risk of burns – Do not touch. Risk of electric shock-(a) both AC and DC voltage source are terminated inside this equipment. Each circuit must be individually disconnected before servicing, and (b) When the photovoltaic array is exposed to light, it supplies a DC voltage to this equipment. Warranty void if cover removed. No user serviceable parts inside. Refer servicing to qualified service personnel. This inverter has an integral ground-fault detector / interrupter (GFDI). This Utility-Interactive Inverter contains active anti-islanding protection (IEEE1547) and is tested per FCC/IC.
Radio Interference Statement
FCC/IC Compliance: The equipment has been tested and found to comply with the limits for a class B digital device, pursuant to part 15 of the FCC Rules (ICES-003), which are designed to protect against harmful interference in a residential installation. The equipment could radiate radio frequency energy and this might cause harmful interference to radio communications if instructions are not followed when installing and using the equipment. But there is no guarantee that interference will not occur in a particular installation. If this equipment causes harmful interference to radio or television reception, the following measures might resolve the issues:
- A) Relocate the receiving antenna and keep it well away from the equipment.
- B) Consult the dealer or an experienced radio / TV technical for help.
Changes or modifications not expressly approved by the party responsible for compliance may void the user’s authority to operate the equipment.
Federal Communication Commission Interference Statement
FCC Caution:
This device complies with Part 15 of the FCC Rules. Operation is subject to the following two conditions: (1) This device may not cause harmful interference, and (2) this device must accept any interference received, including interference that may cause undesired operation.
Non-modification Statement:
Changes or modifications not expressly approved by the party responsible for compliance could void the user’s authority to operate the equipment.
FCC Radiation Exposure Statement:
This equipment complies with FCC radiation exposure limits set forth for an uncontrolled environment. This equipment should be installed and operated with minimum distance 20cm between the radiator & your body.
Qualified personnel
Person adequately advised or supervised by an electrically skilled person to enable him or her to perceive risks and to avoid hazards which electricity can create. For the purpose of the safety information of this manual, a “qualified person” is someone who is familiar with requirements for safety, electrical system and EMC and is authorized to energize, ground, and tag equipment, systems, and circuits in accordance with established safety procedures. The inverter and complete system may only be commissioned and operated by qualified personnel.
Yotta DPI-208 and DPI-480 System Introduction
The Yotta DPI-208 and DPI-480 Microinverter is used in utility-interactive grid-tied applications, comprised of three key elements:
- Yotta DPI-208 and DPI-480 Microinverter
- Yotta Energy Communication Unit (ECU)
- Yotta Energy Monitor and Analysis (EMA) web-based monitoring and analysis system

This integrated system improves safety; maximizes solar energy harvest; increases system reliability, and simplifies solar system design, installation, maintenance, and management. In a typical string inverter installation, PV modules are connected in series adding the PV panel voltages which can exceed 1000VDC at the end of the PV string. This extreme high DC voltage brings a risk of electrical shocks or electrical arcs which could cause fire. Yotta DPI connects PV modules are connected in parallel which does not increase the PV panel voltage. DC voltages in the system never exceeds PV panel Voc, which is typically lower than 60Vdc. This low voltage is considered “safe to touch” by fire departments and negates the risk of electrical shock, electrical arcs and fire hazards.
Yotta DPI-208 and DPI-480 maximize PV energy production
Two PV modules in parallel inside the Yotta DPI-208/480 and share Maximum Peak Power Tracking (MPPT) controls, which ensures that the maximum power is produced to the utility grid regardless of the performance of the other PV modules in the array. When PV modules in the array are affected by shade, dust, orientation, or any situation in which one module underperforms compared with the other units, the Yotta DPI-208 and DPI-480 Microinverter ensures top performance from the array by maximizing the performance of each module pair within the array.
More reliable than centralized or string inverters
The distributed Yotta DPI-208 and DPI-480 Microinverter system ensures that no single point of system failure exists across the PV system. Yotta Microinverters are designed to operate at full power at ambient outdoor temperatures of up to 149°F (65°C). The inverter case is designed for outdoor installation and complies with the IP67 environmental enclosure rating.
Simple to install
You can install individual PV modules in any combination of module quantity, orientation, type, and power class. However, modules connected to the same MPPT channel must have the same electrical specifications and be the same power class.
Smart system performance monitoring and analysis
The Yotta Energy Communication Unit (ECU) is installed by simply connecting it to AC power and providing an Ethernet or Wi-Fi connection to a broadband router or modem. After installing and configurating the ECU, the full network of Microinverters automatically reports to the Yotta Energy Monitor and Analysis (EMA) web server. The EMA software displays performance trends, informs you of abnormal events, and controls system shutdown when it is needed. (See ECU manual for instructions.)
Yotta DPI-208 and DPI-480 Microinverter Introduction
The Yotta DPI-208 and DPI-480 Microinverter connect to 3 phase grids and operate with most 60 and 72 cell PV modules. Contact Yotta Energy Customer Support for checking compatibility. For more information, please see the Technical Data section of this manual. Yotta’s DPI family is expanded with the DPI-208/480 native 3-phase quad microinverters at power ratings up to 1800VA (for the DPI-480) designed to be used with modern larger power PV modules. With a balanced 3-phase output, 4 DC inputs, encrypted ZigBee signals, the DPI-208/480 family benefits from an entirely new architecture. The components are encapsulated with silicone to reduce stress on the electronics, facilitate thermal dissipation, enhance waterproof properties, and ensure maximum reliability of the system via rigorous testing methods including accelerated life testing. The new DPI-208/480 is interactive with power grids featuring RPC (Reactive Power Control) to better manage photovoltaic power spikes injected into the grid. In addition, it provides 96.5% peak efficiency with 20% less components compared to the last generation product.
Yotta DPI-208 and DPI-480 System Installation
A PV system using DPI-208 and DPI-480 Microinverters is simple to install. Each Microinverter easily mounts on the PV racking, directly beneath the PV module(s). Low voltage DC wires connect from the PV module directly to the Microinverter, eliminating the risk of high DC voltage. Installation MUST comply with local regulations and technical rules.
Additional Installation componets for DPI-208 and DPI-480
- Bus Cable
- ECU (Sold separately)
- AC Connectors Male/Female (if extending the bus cable)
- Bus Cable End Cap (Sold separately)
- Bus Cable Y-CONN Cap (Sold separately)
- Bus Cable unlock tool (Sold separately)
Required Parts and Tools from you
In addition to your PV array and its associated hardware, you will need the following items:
- An AC connection junction box.
- Mounting hardware suitable for module racking.
- Accessories and tools to securely attach the mounting system.
PV Rapid Shutdown Equipment (PVRSE)
This product is PV Rapid Shut Down Equipment and conforms with NEC-2014 and NEC-2017 section 690.12, for AC and DC conductors, when installed according to the following requirements:
- Microinverters and all DC connections must be installed inside the array boundary.
- The array boundary is defined as 305 mm (1 ft.) from the array in all directions, or 1 m (3 ft.) from the point of entry inside a building.
This rapid shutdown system must be provided with an initiating device and (or with) status indicator which must be installed in a location accessible to first responders, or be connected to an automatic system which initiates rapid shutdown upon the activation of a system disconnect or activation of another type of emergency system.
The initiator shall be listed and identified as a disconnecting means that plainly indicates whether it is in the “off” or “on” position. Examples are:
- Service disconnecting means
- PV system disconnecting means
- Readily accessible switch or circuit breaker
The handle position of a switch or circuit breaker is suitable for use as an indicator. Refer to NEC for more
information.
Additionally, in a prominent location near the initiator device, a placard or label must be provided with a permanent marking including the following wording: ’PHOTOVOLTAIC SYSTEM EQUIPPED WITH RAPID SHUTDOWN’ The term ‘PHOTOVOLTAIC’ may be replaced with ‘PV.’ Refer to NEC 690.65 to ensure placard meets all audit requirements.
Installation Procedures
Step 1 – Verify the grid voltage to match with Microinverter rating
Step 2 – Install the AC bus cable
- A) The AC bus is installed at a position matching the microinverter location.
- B) One end of the AC bus enters the junction box for connection to the power grid.
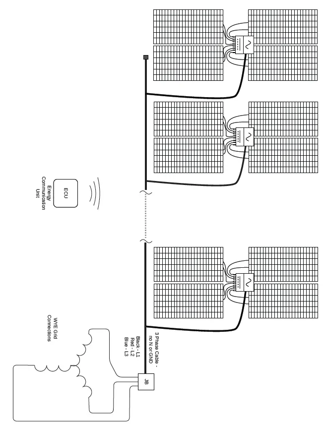
- C) Wire the conductors of the AC bus: L1 – BLACK; L2 – RED; L3 – BLUE. DPI-208/480 are compatible with Delta and WYE grids and do not require a neutral connection. The AC bus cable does not provide a neutral or ground wire. Grounding must be accomplished using one of the 2 methods noted.
Wiring colour code can be different according to local regulations, check all the wires of the installation before connecting to the AC bus to be sure they match. Wrong cabling can damage irreparably the microinverters. Such issue is not covered by the warranty.
Step 3 – Attach the Microinverters to the racking
- A) Mark the location of the Microinverter on the rack. Take into consideration the position of the PV module junction box or any other obstructions.
- B) Mount one Microinverter at each of these locations using hardware recommended by your module racking vendor. When installing the Microinverter, make sure the grounding washer is facing the racking.

Prior to installing any of the DPI-208 and DPI-480 Microinverter, verify that the utility Voltage at the point of common connection matches the voltage rating on the Microinverter label.
Do not place the inverters (including DC and AC connectors) in direct exposure to the sun, rain, or snow. Allow a minimum of 2 cm (3/4”) of space around the Microinverter case for heat dissipation and proper air flow. The racking used to attach the microinverter should be reliably grounded.
Step 4 – Ground the system
There’s two options to properly ground the microinverter:
- A) Using the grounding washer.
- B) Using grounding copper wire through the grounding lug.

Step 5 – Connect the DPI-208 and DPI-480 microinverter to AC bus cable
Connect the DPI-208 and DPI-480 to the AC bus cable. Push the Microinverter AC connector to the Bus cable connector. Listen for the “Click”.
Step 6 – Install a AC bus protective end cap at the end of AC bus

Step 7 – Connect DPI-208 and DPI-480 Microinverters to the PV Modules

When plugging in the DC cables, the microinverter should immediately blink green ten (10) times. This will happen as soon as the DC cables are plugged in and will show that the microinverter is functioning correctly. This entire check function will start and end within ten (10) seconds of plugging in the unit, so pay attention to these lights when connecting the DC cables.
Each PV module must be carefully connected to the same channel. Never split positive and negative cables into two different channels, otherwise the inverter will be damaged and warranty will not apply
Double check to make sure all of the AC and DC wiring has been correctly installed. Ensure that none of the AC and/or DC wires are pinched or damaged. Make sure that all of the junction boxes are properly closed.
Step 8 – Complete the DPI-208 and DPI-480 installation map
Fill in the Yotta Registration Cards which provide system information and the Installation Map. Feel free to provide your own layout if a larger or more adnvanced installation map is required. The layout map provided is designed to accomodate labels in vertical or horizontal orientation to meet all the field PV connections.
- A) Each DPI-208 and DPI-480 Microinverter has removable serial number labels.
- B) Peel labels off, affix one to the respective location on the Yotta DPI-208 and DPI-480 Installation Map according to the layout on the roof.

Yotta DPI-208 and DPI-480 Microinverter & Energy Communication Unit Warranty
The Yotta DPI-208 and DPI-480 Installation Map is a diagram of the physical location of each DPI-208 and DPI-480 Microinverter in your PV system. Each DPI-208 and DPI-480 Microinverter has a removable serial number label located on the mounting plate. Peel the label and place it according to the respective location on the Yotta DPI-208 and DPI-480 Installation Map.
- A) The layout of the Microinverters serial numbers on the warranty card is only suitable for general arrangement.
- B) Warranty card is located in the appendix (Last page of this manual).
- C) You can use Scanning Gun or mobile phone to scan the serial numbers on the map when setting up the ECU (see ECU manual).
DPI-208 and DPI-480 System Operating Instructions
To operate the DPI-208 and DPI-480 microinverter PV system:
- Turn ON the AC circuit breaker on each Microinverter AC branch circuit.
- Turn ON the main utility-grid AC circuit breaker. Your system will start producing power after a locally mandated delay, usually 5 minutes..
- The units should start blinking green every 2 seconds five minutes after turning on the AC circuit breaker. This means they are producing power normally, but have not yet connected to the ECU. After the ECU has been plugged in, setup acknowledges the Microinverters, they will start to blink green every 10 seconds.
- Install and setup the ECU according to the instructions in the ECU manual
- The Yotta DPI-208 and DPI-480 Microinverters will start to send performance data over ZigBee to the ECU. The time required for all the Microinverters in the system to report to the ECU will vary with the number of Microinverters in the system. You can verify proper operation of the Yotta DPI-208 and DPI-480 Microinverters via the ECU. See the ECU Installation and Operation Manual for more information.
Troubleshooting
Qualified personnel can use the following troubleshooting steps if the PV system does not operate correctly:
Status Indications and Error Reporting
Start up LED
One quick red light followed by three short green blinks when DC power is first applied to the Microinverter indicates a successful Microinverter startup.
Operation LED
- Flashing Slow Green (5 sec. gap) – Producing power and communicating with ECU
- Flashing Slow Red (5 sec. gap) – Not producing power but communicating with ECU
- Flashing Fast Green (2 sec. gap) – Not communicating with ECU over 60mins, but still producing power.
- Flashing Fast Red (2 sec. gap) – Not communicating with ECU over 60mins and not producing power.
GFDI Error
A solid red LED indicates the Microinverter has detected a Ground Fault Detector Interrupter (GFDI) error in the PV system. Unless the GFDI error has been cleared, the LED will remain red and the ECU will keep reporting the fault. After the ground fault error is fixed, follow the instructions in the ECU Installation and Operation Manual to clear this GFDI error reporting.
Other Faults
All other faults are reported to the ECU. Refer to the ECU Installation and Operation Manual for a list of:
Troubleshooting a non-operating DPI-208 and DPI-480 Microinverter
There are two possible overall areas of trouble:
- A) The Microinverter itself may be having problems.
- B) The Microinverter itself is working fine but it is having trouble communicating with the ECU. The items below refer to Microinverter issues, not communication issues (addressed in the ECU manual).
A quick way to tell whether the issue is wih the Microinverter or a communication problem with the ECU:
- Diagnosing the Microinverter: A red light – either blinking or solid on the Microinverter, or no light at all. No light, or a red light, means it is definitely a Microinverter problem.
- Diagnosing from the ECU:
- A) No-Data-Display: This is probably a communication issue, not a Microinverter problem.
- B) Problems with erratic display: Data is displayed for some period and then no data is displayed. Most likely a communication issue
- C) 0 watts, or 2 watts: Possibly a Microinverter problem.
- D) Erratic data display that is not coordinating with data displays from other units is most likely a Microinverter problem.
To troubleshoot a non-operating DPI-208 and DPI-480 Microinverter, Follow the steps below in order:
- Verify the utility voltage and frequency are within ranges shown in the Technical Data section of this manual.
- Check the connection to the utility grid. Verify utility power is present at the inverter in question by removing AC, then DC power. Never disconnect the DC wires while the microinverter is producing power. Re-connect the DC module connectors and watch for three short LED flashes.
- Check the AC branch circuit interconnection between all the microinverters. Verify each inverter is energized by the utility grid as described in the previous step.
- Make sure that any AC breaker are functioning properly and are closed.
- Check the DC connections between the microinverter and the PV module.
- Verify the PV module DC voltage is within the allowable range shown in the Technical Data of this manual.
- If the problem persists, please call Yotta Energy Customer Support.
Replacing a DPI-208 and DPI-480 Microinverter
Follow the procedure to replace a failed Microinverter
- A) Turn off circuit breaker first.
- B) Disconnect the Microinverter from the PV Module, in the order shown below:
- Disconnect the inverter AC connector from the AC Bus.
- Disconnect the first AC connector in the branch circuit.
- Disconnect the PV module DC wire connectors from the microinverter.
- Remove the Microinverter from the PV array racking.
- C) Install a replacement Microinverter to the rack. Remember to observe the flashing LED light as soon as the new Microinverter is plugged into the DC cables.
- D) Connect the AC cable of the replacement Microinverter on the AC bus.
- E) Close the branch circuit breaker, and verify operation of the replacement Microinverter.
Technical Data
Grid Support Details
The DPI-208 and DPI-480 is a grid support interactive inverter. This type of inverter is also known as a Grid Support Utility Interactive Inverter . The DPI-208 and DPI-480 also comply with California Rule 21. The grid support function is controlled by the ECU.
Manufacture’s Stated Accuracy

DPI-208 and DPI-480 Microinverter Datasheet:
| Model | DPI-208 | DPI-480 |
| Input Data (DC) | ||
| Peak Power Tracking Voltage | 32V-45V | |
| Operating Voltage Range | 26V-60V | |
| Maximum Input Voltage | 60V | |
| Maximum Input Current | 20A x 4 | |
| Maximum Input Short Circuit Current | 25A per input | |
| Output Data (AC) | ||
| Maximum Continuous Output Power | 1728VA | 1800VA |
| Nominal Output Voltage/Range (1) | 208V/183V-229V | 480V/422V-528V |
| Adjustable Output Voltage Range | 166V-240V | 385V-552V |
| Nominal Output Current | 4.8Ax3 | 2.17Ax3 |
| Nominal Output Frequency/Range(1) | 60Hz/59.3Hz-60.5Hz | |
| Adjustable Output Frequency Range | 55Hz-65Hz | |
| Power Factor | 0.99/0.8 leading. 0.8 lagging | |
| Maximum Units per 30A branch(2) | 5 | 11 |
| AC Bus Cable | AWG 10 | |
| E ciency | ||
| Peak E ciency | 96.5% | |
| Nominal MPPT E ciency | 99.5% | |
| Night Power Consumption | 40mW | |
| Mechanical Data | ||
| Operating Ambient Temperature Range(3) | -40°F to +149°F(-40°C to +65°C) | |
| Storage Temperature Range | -40°F to +185°F(-40°C to +85°C) | |
| Dimensions (W x H x D) | 14” 9.5” 1.8” (359mm X 242mm X 46mm) | |
| Weight | 13 lbs (6kg) | |
| DC Connector Type | Stäubli MC4 PV-ADBP4-S2&ADSP4-S2 | |
| Cooling | Natural Convection – No Fans | |
| Enclosure Environmental Rating | Type 6 | |
| Features | ||
| Communication (Inverter To ECU)(4) | Encrypted ZigBee | |
| Isolation Design | High Frequency Transformers, Galvanically Isolated | |
| Energy Management | Yotta Vision EMA | |
| Warranty | 10 Years Standard ; 25 Years Optional | |
| Certificate&Compliance | ||
| Safety, EMC & Grid Compliances | UL-1741; CSA C22.2 No. 107.1-16; CA Rule 21 (UL 1741 SA); FCC Part15; ANSI C63.4; ICES-003; IEEE1547; NEC2014 & NEC2017 Section 690.11 DC Arc-Fault circuit; Protection NEC2014 & NEC2017 & NEC2020 Section 690.12 Rapid Shutdown of PV systems on Building | |
- Nominal voltage/frequency range can be extended beyond nominal if required by the utility.
- Limits may vary. Refer to local requirements to dene the number of microinverters per branch in your area.
- Inverter may enter low power mode in environments with poor ventilation or limited heat dissipation
- Recommend no more than 80 inverters register to one ECU for stable communication. “
DPI-208 and DPI-480 Microinverter Datasheet
Note 1: Utility Interconnection Voltage and Frequency Trip Limits and Trip Times

Wiring Diagram
DPI-208 and DPI-480 Connected to Delta grids
DPI-208 and DPI-480 Connected to WYE grids
DPI-208 and DPI-480 Accesories
Wiring Diagram

Accesories Summary
























