Kimex 030-1201 Mobile Support X-Large TV Screen

Adjustment

- lt is recommended to adjust the columns to the desired height before installing the display.
- If you want to adjust the columns height after finishing the display installation. Please remove the DVD shelf, then adjust the columns to the desired height.
Check that the bracket is secure and safe to use at regular intervals(at least every three months).
Read the entire instruction manual before you start installation and assembly. It you have any questions regarding any of the instructions or warnings, please contact KIMEX +33 557 95 CAUTION: Use with products heavier than the rated weights indicated may result in instability causing possible injury.
- Mounts must be attached as specified in assembly instructions. Improper installation may result in damage or serious personal injury.
- Safety gear and proper tools must be used. This product should only be installed by professionals.
- Make sure that the supporting surface will safely support the combined weight of the equipment and all attached hardware and components.
- Use the mounting screws provided and DO NOT OVER TIGHTEN mounting screws.
- This product contains small items that could be a choking hazard if swallowed. Keep these items away from children.
- This product is intended for indoor use only. Using this product outdoors could lead to product failure and personal injury.
IMPORTANT: Ensure that you have received all parts according to the component checklist prior to installation. If any parts are missing or faulty, telephone KIMEX for a replacement.
MAINTENANCE: Check that the bracket is secure and safe to use at regular intervals (at least every three months).

Assembling the base

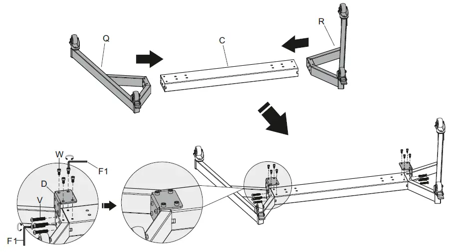
laser the right base into the base. Align the hales on the right base to the hales on the base .Fix the base with the connecting plate and the screws. Repeat this step for the left base.

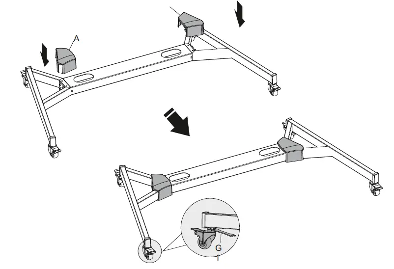
Lock the brakes on the casters to avoid any unexpected movements during installation. Each caster can be adjusted independently for fine tuning. Slightly turn the nut to lower or raise the base.
Attaching the columns to the base

Pull the pin outwards and pull the inner column upwards at the same time, until the inner column is pulled to the desired height then release the pin to secure.

Installing the crossbar

Attach the crossbar to the columns with the appropriate screws. Tighten all screws using a proper Phillips screwdriver.
When the crossbar installation is completed, tighten the bottom screws using an Allen key.
Installing the cable covers

Installing the TV plate
Attach the universal plate to the columns with the appropriate screws, washers and butterfly nuts. Tighten ail screws and butterfly nuts.
Installing the VESA brackets

For flat back screen


For irregular back screen

Choose the appropriate screws, washers and spacers (if necessary) according to the type of screen.
- Position the adapter brackets as close as possible to the center of the display.
- Screw the adapter brackets onto the display.
Installing the screen

- Hook the display onto the universal plate.
- Tighten the bottom screws to secure them.
IMPORTANT: Make sure the display is mounted correctly and the screws are tightened safely before releasing the display.
Installing the camera shelf

Attach the camera shelf to the connecting plate with the appropriate screws. Tighten all screws using a proper Phillips screwdriver.
Installing the DVD shelf

Install the support bar to the columns at the desired position and secure using the appropriate screws.
Attach the DVD shelf to the support bar with the appropriate screws and butterfly nuts. Tighten all screws and butterfly nuts to secure.
Manage the cables



















