BH536 Series Emerge Pet Cordless Vacuum
User Manual
MODEL: BH53602, BH53602V(DI), BH53603E, BH53603VE, BH53654VE, BH53643VDE, BH53644VDE
IMPORTANT: READ ALL INSTRUCTIONS CAREFULLY BEFORE ASSEMBLY AND USE.
This product is intended for Household use only. If used Commercially warranty is VOID.
READ ALL SAFETY WARNINGS AND INSTRUCTIONS BEFORE USING THIS PRODUCT.
WARNING: WHEN USING AN ELECTRICAL PRODUCT, BASIC PRECAUTIONS SHOULD ALWAYS BE FOLLOWED TO AVOID ELECTRIC SHOCK, FIRE, AND/OR SERIOUS INJURY, INCLUDING THE FOLLOWING:
- Fully assemble product prior to use.
- Do not use charger outdoors.
- Do not use product on wet surfaces. Do not expose to rain. Store Indoors.
- Do not store or charge battery outdoors or on wet surfaces. Do not allow to get wet.
- Do not allow to be used as a toy. Not intended for use by children age 12 and under. Close supervision is necessary when used by or near children. To avoid injury or damage, keep children away from product, and do not allow children to place fingers or other objects into any openings.
- Use only as described in this user manual. Use only HOOVER® recommended attachments and parts.
- Do not use charger with damaged cord or plug. If product or charger is not working as it should, has been dropped, damaged, left outdoors, or dropped into water, call customer service at 1-800-944-9200 prior to continuing use.
- Do not pull or carry charger by cord. Keep cord away from heated surfaces.
- Do not unplug charger by pulling on cord. To unplug charger, grasp the plug, not the cord.
- Do not handle charger, plug, or charger terminals with wet hands.
- Do not put any object into openings. Do not use with any opening blocked; keep free of dust, lint, hair, and anything that may reduce air flow.
- Keep hair, loose clothing, fingers, and all parts of body away from openings and moving parts.
- Use extra care when cleaning on stairs. To avoid personal injury or damage, and to prevent the products from falling, always place product at bottom of stairs or on floor. Do not place product on stairs or furniture.
- Do not use to pick up flammable or combustible liquids, such as gasoline, or fine wood sandings,or use in areas where they may be present.
- Do not pick up anything burning or smoking, such as cigarettes, matches, or hot ashes.
- Do not use without filters, separator and dirt cup in place.
- Put product away after use to prevent tripping accidents.
WARNING: RISK OF FIRE, PROPERTY DAMAGE, AND INJURY. NEVER EXPOSE YOUR BATTERY PACK, CHARGER, OR UNIT TO WATER, MOISTURE, OR FLUIDS, INCLUDING BUT NOT LIMITED TO CORROSIVE OR CONDUCTIVE FLUIDS, OR ALLOW FLUIDS TO FLOW INSIDE THESE ITEMS.
Corrosive or conductive fluids, such as salt water, chlorine, certain industrial chemicals, and bleach or bleach containing products, etc.,
can cause a short circuit in the battery pack. If your battery pack is exposed to a corrosive or conductive fluid, do not attempt to use or charge the battery pack and immediately perform the following steps:
- Wear appropriate personal protective equipment, including eye protection and rubber gloves.
- Place your exposed battery pack in a large bucket, such as a 5 gallon or similar bucket, and fill the bucket with regular tap water. Do not place more than two packs in the bucket.
- Locate the bucket outdoors in an area inaccessible to children and pets and away from all buildings, garages/sheds, structures, vehicles, and combustible/flammable materials.
- Leave the battery pack(s) in the bucket filled with tap water and call Customer Service at 1-800-944-9200 for additional instructions on the proper disposal of the exposed battery pack(s).
- Prevent unintentional starting. Ensure the switch is in the off-position before connecting to battery pack, picking up or carrying the product. Carrying the appliance with your finger on the switch or energizing appliance that have the switch on invites accidents.
- Disconnect the battery pack before making any adjustments, changing accessories or storing product. Such preventative measure reduce the risk of starting the product accidentally.
- Recharge only with the HOOVER® charger. A charger that is suitable for one type of battery pack may create a risk of injury and fire when used with another battery pack.
- Use products only with specifically designated battery packs. Use of any other battery packs may create a risk of injury and fire.
- When battery pack is not in use, keep it away from other metal objects, like paper clips, coins, keys, nails, screws or other small metal objects, that can make a connection from one terminal to another. Shorting the battery terminals together may cause burns or a fire.
- Under abusive conditions, liquid may be ejected from the battery; avoid contact. If contact accidentally occurs, flush with water. If liquid contacts eyes, additionally seek medical help. Liquid ejected from battery may cause irritation or burns.
- Do not use a battery pack or appliance that is damaged or modified. Damaged or modified batteries may exhibit unpredictable behavior resulting in fire, explosion or risk of injury.
- Do not expose a battery pack or appliance to fire or excessive temperatures. Exposure to fire or temperature above 265°F/130°C may cause explosion.
- Follow all charging instructions and do not charge the battery pack or appliance outside of the temperature range specified in the instructions. Charging improperly or at temperatures outside of the specified range may damage the battery and increase the risk of fire.
- This product contains no serviceable parts.
- Do not modify or attempt to repair the appliance or the battery pack except as indicated in the instructions for use and care.
CAUTION: TO REDUCE THE RISK OF DAMAGE:
- Avoid picking up hard, sharp objects with this product, as they may cause damage.
- Store appropriately indoors in a dry place. Do not expose machine to freezing temperatures.
- Do not allow nozzle with brush roll running to sit in one location for an extended period of time, as damage to floor can result.
- Brush roll continues to turn while product is turned on and handle is in upright position. To avoid damage to carpet, rugs, and flooring, avoid tipping cleaner or setting it on furniture, fringed area rugs, or carpeted stairs during tool use.
BATTERY DISPOSAL
WARNING – RISK OF EXPLOSION OR EXPOSURE TO TOXIC MATERIAL
LITHIUM-ION BATTERIES
The battery must be collected, recycled or disposed of in an environmentally sound manner. The EPA certified RBRC Battery Recycling Seal on the lithium-ion [Li-ion] battery indicated Techtronic Industries, a corporate affiliate of HOOVER, Inc., is voluntarily participating in an industry program to collect and recycle these batteries at the end of their useful life, when taken out of service in the United States or Canada. The RBRC program provides a convenient alternative to placing used Li-ion batteries into
the trash or the municipal waste stream, which may be illegal in your area. Please visit www.rbrc.org/call2recycle/ for information on Li-ion battery recycling and disposal bans/restrictions in your area. HOOVER’s involvement in this program is part of our commitment to preserving our environment and conserving our natural resources.
CHARGING YOUR PRODUCT

- Plug in the charger, then attach the battery pack to the charger by aligning the ribs on the battery pack to the grooves in the charger.
- Slide the battery pack into the charger.
NOTE: The lights on the battery will show the state of charge. If the light on the charger flashes red, there is an error with the battery or the charger. If this occurs, disconnect and reconnect the battery or call customer service for support. Once charge is complete, lights on the battery and charger will turn off. - To remove the battery pack, press the latches and pull up.
NOTE: During charging, the pack and ambient temperature should be between 41 to 86° F (5 and 30° C). The charger will sense if the pack, or ambient temperature, is too cold or too hot, and will return an error code (red LED will be on) and not charge the pack.
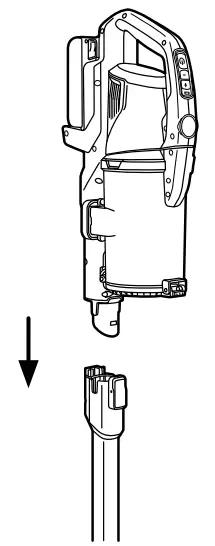
ASSEMBLY
Fully assemble product prior to use.
- Fit the dirt cup onto the hooks, then rock it up into the handheld so it secures into place.

- Push the reach wand down onto the powered nozzle until it clicks into place.

- Push the handheld down onto the reach wand until it clicks into place.
NOTE: Fully charge battery before first use. This will take 3-4 hours. Due to federal regulations, the battery does not come fully charged.
STORING YOUR VACUUM

- Choose the desired location, then place the mount on the wall at the desired height. Mark the wall anchor locations. Install the anchors and screw the mount to the wall.

- Store the vacuum by firmly pressing the product into the wall mount to secure.
NOTE: Accessories can be stored by sliding them onto the top and bottom of the wall mount.
NOTE: Vacuum can be locked into upright position, but is not meant to be left standing unattended. - Slide the battery pack into the charger.
OPERATION
CAUTION: Put product away after use to prevent tripping accidents.
CAUTION: Not to be used for grooming a pet.
USING YOUR PRODUCT 
ON/OFF power button.- Unit turns on in Default mode.
To increase runtime for hard floors and everyday messes.
To increase suction for more embedded messes.
Battery LED is illuminated WHITE when on and RED when battery is low.
NOTE: Pressing the – or + will increase or decrease the power level from where it is currently running.
HANDHELD MODE
WARNING: To avoid serious personal injury, always remove the battery pack from the product when connecting or disconnecting accessories.

- Press the release button on attachment and pull to separate.

- Push the chosen accessory into the handheld until it clicks into place.
CLEANING UP HIGH
WARNING: To avoid serious personal injury, always remove the battery pack from the product when connecting or disconnectingaccessories.

- Press the release button on attachment and pull to separate.
- Push the accessory into the reach wand until it clicks into place.
CAUTION: To avoid injury, particularly to face and head, keep hair, loose clothing, fingers and all parts of the body away from revolving brush.
MAINTENANCE
WARNING: To reduce the risk of personal injury – Turn power switch off and remove battery before cleaning or servicing.
This product contains no serviceable parts.
If appliance is not working as it should, has been dropped, damaged, left outdoors, or dropped into water, call customer service at 1-800-944-9200 prior to continuing use.
Store the battery pack where the temperature is below 80° F and away from moisture.
GENERAL MAINTENANCE
IMPORTANT: Avoid using solvents when cleaning plastic parts. Most plastics are susceptible to damage from various types of commercial solvents and may be damaged by their use. Use a clean cloth to remove dirt, dust, oil, grease, etc.
LUBRICATION: The motor and brush roll are equipped with bearings which contain sufficient lubrication for their lifetime. The addition of lubricant could cause damage. Do not add lubricant to motor or brushroll.
EMPTYING THE DIRT CUP

- Remove the battery pack.
- Press button to release the dirt cup.

- Hold the dirt cup over a trash bin and press the dirt cup release button to empty. Close the dirt cup, then replace it by rocking it back into place.
CLEANING THE FILTER AND CYCLONE

- Pull open the lid of the dirt cup to access the filter.

- To clean the cyclone, lift to remove. Clean dirt and debris.

- Pull the filter away and tap to remove dirt. Rinse filter under warm water until water is clear. Allow filter to dry for 24 hours before reinserting.
IMPORTANT: Do not use vacuum without the filter or cyclone in place. Do not use soap or other chemicals to clean. Dry filter completely, for up to 24 hours, before reinstalling into the product.
- Install the dirt cup filter cover before reattaching the dirt cup.
REMOVING AND CLEANING THE POWERED FLOORHEAD BRUSHROLL
WARNING: Risk of personal injury Brushroll may suddenly restart. Turn power switch off and remove battery before cleaning or servicing.
WARNING: To reduce the risk of injury from moving parts – Remove Battery before Servicing.
TO REMOVE BACK BRISTLED BRUSHROLL:

- Remove the powered nozzle from reach wand.
Using your fingers or a coin, push and turn the brush roll lock counter-clockwise to release the brush roll.
NOTE: The lock cannot be removed.
- Pull the brush roll out of the nozzle with pull tab. To remove any threads or hair, cut along the groove of the brush roll.

- Clear any dirt/debris from the end caps inside of the housing of the powered nozzle.

- Re-fit the brush roll into the housing and turn the brush roll lock clockwise to lock.
TO REMOVE FRONT MICROFIBER BRUSHROLL:
WARNING: To reduce the risk of injury from moving parts – Remove Battery before Servicing.

- Remove the powered nozzle from reach wand. Using a coin, push and turn the brush roll lock counter-clockwise to unlock the Microfiber Brush Roll.

- Lift and rotate the brush away from the nozzle assembly.

- Clear debris from the brush roll with a dry cloth.
Clear any dirt/debris from the end caps of the powered nozzle.
- Re-fit the brush roll into the housing and turn the brush roll lock clockwise to lock.
THERMAL PROTECTOR:
A THERMAL PROTECTOR HAS BEEN DESIGNED INTO YOUR CLEANER TO PROTECT IT FROM OVERHEATING. WHEN THE THERMAL PROTECTOR ACTIVATES THE CLEANER WILL STOP RUNNING.
If this happens proceed as follows:
- Turn cleaner OFF and remove battery pack. IMPORTANT: If left turned on, the cleaner motor may restart unexpectedly.
- Empty dirt cup.
- Inspect the filter and cyclone for any obstructions. Clear obstructions if present.
- After the battery pack is removed and the motor cools for 30 minutes, reinstall the battery pack. The thermal protector will deactivate and cleaning may continue.
If thermal protector continues to activate after following the above steps, your cleaner needs servicing, call Customer Service at 1-800-922-9400.
TROUBLESHOOTING
WARNING: TO REDUCE THE RISK OF PERSONAL INJURY – TURN POWER SWITCH OFF AND REMOVE THE BATTERY BEFORE CLEANING OR SERVICING.
THIS PRODUCT CONTAINS NO SERVICEABLE PARTS.
IF APPLIANCE IS NOT WORKING AS IT SHOULD, HAS BEEN DROPPED, DAMAGED, LEFT OUTDOORS, OR DROPPED INTO WATER, CALL CUSTOMER SERVICE AT 1-800-944-9200 PRIOR TO CONTINUING USE.
SEE BEHIND THE BATTERY DOCK ON THE PRODUCT FOR MODEL NUMBER.
ACCESSORIES
Look for these accessories on Hoover.com or Hoover.ca or call 1-800-944-9200.
| EVERY ONEPWR® BATTERY WORKS WITH EVERY ONEPWR® PRODUCT. | |
| BATTERY: | MODEL # |
| 2.0 Ah | BH15020, BH19020 |
| 3.0 Ah | BH15030, BH25030 |
| 4.0 Ah | BH15240, BH19240, BH25040, BH29040 |
| 8.0 Ah | BH25280, BH29280 |
| PARTS AND ACCESSORIES: | |
| Charger | BH05000 |
| Dual Bay Charger | BH05200 |
| 0.5A Compact Charger | 440014514 |
| 1.5A Compact Charger | 440014513 |
| Fast Charger | BH05140 |
| Emerge Filter | AH48000 |
WARRANTY
LIMITED WARRANTY FOR HOOVER® ONEPWR® PRODUCT THREE YEAR LIMITED WARRANTY (DOMESTIC USE)
If this product is not as warranted, contact TTI Floor Care North America Customer Service at 1-800-944-9200. Please have available the proof of purchase and model number for the warranted product. Failure to register the product does not diminish product warranty rights.
WHAT THIS LIMITED WARRANTY COVERS:
This limited warranty provided by Royal Appliance Mfg. Co., doing business as TTI Floor Care North America (referred to hereafter as “Warrantor”) applies only to products purchased in the U.S. (including its territories and possessions), a U.S. Military Exchange, or Canada. When used and maintained in normal household use and in accordance with the Owner’s Guide, this product is warranted against original defects in material and workmanship for THREE year from the date of original purchase (the “Warranty Period”). If Warrantor determines that the issue you are experiencing is covered under the terms of this warranty (a “covered warranty claim”), we will, at our sole discretion and free of charge (subject to the cost of shipping), either (i) repair your product; (ii) ship you a replacement product, subject to availability; or (iii) in the event that the applicable parts or replacement are not reasonably available, ship you a similar product of equal or greater value. In the unlikely event that we are unable to repair your product or ship a replacement or similar product, we reserve the right, at our sole discretion, to issue you a refund or store credit (if applicable) of the actual purchase price at the time of the original purchase as reflected on the original sales receipt. Parts and replacements may be new, refurbished, lightly used, or remanufactured, in Warrantor’s sole discretion.
WHO THIS LIMITED WARRANTY COVERS:
This limited warranty extends only to the original retail purchaser, with original proof of purchase from Warrantor or an authorized dealer of Warrantor products, in the U.S., U.S. Military Exchanges, and Canada.
WHAT THIS LIMITED WARRANTY DOES NOT COVER:
This warranty does not cover use of the product in a commercial operation (such as maid, janitorial, and equipment rental services, or any other income-generating activity); improper maintenance of the product; the product if it has been subject to misuse, negligence, neglect, vandalism, or the use of voltages other than that on the data plate of this product. This warranty does not cover damage resulting from an act of God, accident, owner’s acts or omissions, service of this product by other than Warrantor or a Warrantor authorized service provider (if applicable), or other acts beyond the control of Warrantor. This warranty also does not cover use outside the country in which the product was initially purchased, or resale of the product by the original owner. Pick-up, delivery, transportation, and house calls are not covered by this warrantyIn addition, this warranty does not cover any product that has been altered or modified, or repairs made necessary by normal wear or the use of other products, parts, or accessories which are either incompatible with this product or adversely affect this product’s operation, performance, or durability. Normal wear items are not covered under this warranty. Depending on the product, normal wear items may include, but are not limited to, belts, filters, brush rolls, blower fans, blower and vacuum tubes, and vacuum bags and straps.
OTHER IMPORTANT TERMS:
This warranty is not transferable and may not be assigned; any assignment made in contravention of this prohibition is void. This warranty shall be governed and construed under the laws of the state of North Carolina. The Warranty Period will not be extended by any replacement of batteries, parts, or products or by virtue of any repair performed under this warranty.
THIS LIMITED WARRANTY IS THE EXCLUSIVE WARRANTY AND REMEDY, AND ALL EXPRESS AND IMPLIED WARRANTIES OTHER THAN THE LIMITED WARRANTY SET FORTH ABOVE, INCLUDING IMPLIED WARRANTIES OF MERCHANTABILITY AND FITNESS FOR A PARTICULAR PURPOSE, ARE EXPRESSLY DISCLAIMED. IN NO EVENT WILL WARRANTOR BE LIABLE FOR ANY SPECIAL, INDIRECT, INCIDENTAL OR CONSEQUENTIAL DAMAGES OF ANY KIND OR NATURE TO OWNER OR ANY PARTY CLAIMING THROUGH OWNER, WHETHER BASED IN CONTRACT, NEGLIGENCE, TORT, OR STRICT PRODUCTS LIABILITY OR ARISING FROM ANY CAUSE WHATSOEVER, EVEN IF THIS WARRANTY FAILS OF ITS ESSENTIAL PURPOSE. TO THE EXTENT PERMITTED BY APPLICABLE LAW, NO WARRANTIES THAT ARISE BY OPERATION OF LAW, IF APPLICABLE, SHALL EXCEED THE DURATION OF THE LIMITED WARRANTY PROVIDED HEREIN. Warrantor’s liability for damages to you for any costs whatsoever arising out of this statement of limited warranty shall be limited to the amount paid for this product at the time of original purchase. Some states do not allow the exclusion or limitation of incidental or consequential damages, disclaimers of implied warranties, or limitations on the duration of implied warranties, so the above exclusions, disclaimers, and/or limitations may not apply to you. This warranty gives you specific legal rights, and you may also have other rights, which vary from state to state.
GENUINE PARTS AND ACCESSORIES:
We recommend using only with genuine HOOVER® solutions (for carpet and spot cleaners), parts, and accessories. Damage caused by use with other than genuine HOOVER® solutions, parts, and accessories is not covered by and may void your warranty.
HAVE A QUESTION?
HOOVER® HAS THE ANSWER!
START WITH
HOOVER.COM/HELP
DO NOT
RETURN TO STORE
Start with 24/7 resources like these:
FAQs
HOW-TO-VIDEOS TROUBLESHOOTING VIDEOS
Or call us and we’ll talk you through it.
CUSTOMER SUPPORT 800-944-9200
Mon-Fri, 9am-6pm EST

































