EVOLVE 2 Cordless Vacuum

EVOLVE 2
CORDLESS VACUUM
USER MANUAL
IMPORTANT: READ ALL INSTRUCTIONS CAREFULLY BEFORE ASSEMBLY AND USE. This product is intended for Household use only. If used Commercially warranty is VOID.
IMPORTANT SAFETY INSTRUCTIONS SAVE THESE INSTRUCTIONS
READ ALL SAFETY WARNINGS AND INSTRUCTIONS BEFORE USING THIS PRODUCT.
WARNING: WHEN USING AN
ELECTRICAL PRODUCT, BASIC PRECAUTIONS
SHOULD ALWAYS BE FOLLOWED TO AVOID
ELECTRIC SHOCK, FIRE, AND/OR SERIOUS
INJURY, INCLUDING THE FOLLOWING:
- Fully assemble product prior to use.
- Do not use charger outdoors.
- Do not use product or charger outdoors or on wet surfaces.
- Do not allow to be used as a toy. Not intended for use by children age 12 and under. Close supervision is necessary when used by or near children. To avoid injury or damage, keep children away from product, and do not allow children to place fingers or other objects into any openings.
- Use only as described in this user manual. Use only HOOVER® recommended attachments and parts.
- Do not use charger with damaged cord or plug. If product or charger is not working as it should, has been dropped, damaged, left outdoors, or dropped into water, call customer service at 1-800-406-2005 prior to continuing use.
- Do not pull or carry charger by cord. Keep cord away from heated surfaces.
- Do not unplug charger by pulling on cord. To unplug charger, grasp the plug, not the cord.
- Do not handle charger, plug, or charger terminals with wet hands.
- Do not put any object into openings. Do not use with any opening blocked; keep free of dust, lint, hair, and anything that may reduce air flow.
- Keep hair, loose clothing, fingers, and all parts of body away from openings and moving parts.
- Use extra care when cleaning on stairs. To avoid personal injury or damage, and to prevent the products from falling, always place product at bottom of stairs or on floor. Do not place product on stairs or furniture.
- Do not use to pick up flammable or combustible liquids, such as gasoline, or fine wood sanding, or use in areas where they may be present.
- Do not pick up anything burning or smoking, such as cigarettes, matches, or hot ashes.
- Do not use without filters, separator and dirt cup in place.
- Put product away after use to prevent tripping accidents
WARNING: RISK OF FIRE,
PROPERTY DAMAGE, AND INJURY. NEVER
EXPOSE YOUR BATTERY PACK, CHARGER
OR UNIT TO WATER, MOISTURE, OR FLUIDS,
INCLUDING BUT NOT LIMITED TO CORROSIVE
OR CONDUCTIVE FLUIDS, OR ALLOW FLUIDS TO
FLOW INSIDE THESE ITEMS.
Corrosive or conductive fluids, such as salt water, chlorine, certain industrial chemicals, and bleach or bleach containing products, etc., can cause a short circuit in the battery pack. If your battery pack is exposed to a corrosive or conductive fluid, do not attempt to use or charge the battery pack and immediately perform the following steps:
- Wear appropriate personal protective equipment, including eye protection and rubber gloves.
- Place your exposed battery pack in a large bucket, such as a 5 gallon or similar bucket, and fill the bucket with regular tap water. Do not place more than two packs in the bucket.
- Locate the bucket outdoors in an area inaccessible to children and pets and away from all buildings, garages/sheds, structures, vehicles, and combustible/flammable materials.
- Leave the battery pack(s) in the bucket filled with tap water and call Customer Service at 1-800-406-2005 for additional instructions on the proper disposal of the exposed battery pack(s).
- Prevent unintentional starting. Ensure the switch is in the off-position before connecting to battery pack, picking up or carrying the product. Carrying the appliance with your finger on the switch or energizing appliance that have the switch on invites accidents.
- Disconnect the battery pack before making any adjustments, changing accessories or storing product. Such preventative measure reduce the risk of starting the product accidentally.
- Recharge only with the HOOVER® charger. A charger that is suitable for one type of battery pack may create a risk of injury and fire when used with another battery pack.
- Use products only with specifically designated battery packs. Use of any other battery packs may create a risk of injury and fire.
- When battery pack is not in use, keep it away from other metal objects, like paper clips, coins, keys, nails, screws or other small metal objects, that can make a connection from one terminal to another. Shorting the battery terminals together may cause burns or a fire.
- Under abusive conditions, liquid may be ejected from the battery; avoid contact. If contact accidentally occurs, flush with water. If liquid contacts eyes, additionally seek medical help. Liquid ejected from battery may cause irritation or burns.
- Do not use a battery pack or appliance that is damaged or modified. Damaged or modified batteries may exhibit unpredictable behavior resulting in fire, explosion or risk of injury.
- Do not expose a battery pack or appliance to fire or excessive temperatures. Exposure to fire or temperature above 265°F/130°C may cause explosion.
- Follow all charging instructions and do not charge the battery pack or appliance outside of the temperature range specified in the instructions. Charging improperly or at temperatures outside of the specified range may damage the battery and increase the risk of fire.
- This product contains no serviceable parts.
- Do not modify or attempt to repair the appliance or the battery pack except as indicated in the instructions for use and care.
CAUTION: TO REDUCE THE RISK OF
DAMAGE:
- Avoid picking up hard, sharp objects with this product, as they may cause damage.
- Store appropriately indoors in a dry place. Do not expose machine to freezing temperatures.
- Do not allow nozzle with brush roll running to sit in one location for an extended period of time, as damage to floor can result.
©2022 Techtronic Floor Care Technology Limited. All Rights Reserved. Distributed by, Royal Appliance Mfg. Co. Charlotte, NC 28262.
BATTERY DISPOSAL WARNING – RISK OF EXPLOSION
OR EXPOSURE TO TOXIC MATERIAL
LITHIUM-ION BATTERIES
The battery must be collected, recycled or disposed of in an environmentally sound manner. The EPA certified RBRC Battery Recycling Seal on the lithium-ion [Li-ion] battery indicated Techtronic Industries, is voluntarily participating in an industry program to collect and recycle these batteries at the end of their useful life, when taken out of service in the United States or Canada. The RBRC program provides a convenient alternative to placing used Li-ion batteries into the trash or the municipal waste stream, which may be illegal in your area. Please visit www.rbrc.org/ call2recycle/ for information on Li-ion battery recycling and disposal bans/restrictions in your area. HOOVER’s involvement in this program is part of our commitment to preserving our environment and conserving our natural resources.
HAVE A QUESTION?
HOOVER® HAS THE ANSWER!
START WITH
HOOVER.COM/HELP
DO NOT RETURN TO STORE
Start with 24/7 resources like these:
FAQs HOW-TO-VIDEOS TROUBLESHOOTING
VIDEOS
Or call us and we’ll talk you through it.
CUSTOMER SUPPORT
800-944-9200
Mon-Fri, 9am-6pm EST
961152263-R0
CHARGING THE BATTERY
The charger included with your Evolve may differ from what is shown in this user manual. Please reference the Accessories section of this manual or contact us at Hoover.com for more information of your specific charger.
1 Plug the charger into a power outlet.

2 Attach the battery pack to the charger by aligning
the ribs on the battery pack to the grooves in the
charger. Slide the battery pack into the charger.

3 When charging, the lights on the battery will
illuminate to show the state of charge. If the light
on the charger flashes red, there is an error with
the battery or the charger. Try again or call
customer service for support. Once charge is
complete, lights on the battery will turn off.

4 To remove the battery pack from the charger, press
the latches and pull the battery away from the
charger.

TIP
During charging, the pack and ambient
temperature should be between 41°F to 86°F (5°C
and 30°C). The charger will sense if the pack,
or ambient temperature, is too cold or too hot,
and will return an error code (red LED will be on)
and not charge the pack. Use battery only with
charger listed. For use with Hoover® ONEPWR™
Lithium Ion Batteries.
ASSEMBLY INSTRUCTIONS
FULLY ASSEMBLE PRODUCT PRIOR TO USE.

1 Install the wand into the body until it clicks into place.

2 Attach the battery pack by aligning the ribs on the
battery pack to the grooves in the product. Slide
the battery pack into the product until it clicks
into place.
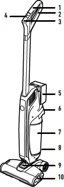
PRODUCT OVERVIEW
1. Comfort Grip Handle
2. Wand
3. ON/OFF Button
4. Mode Buttons & LED Mode Display
5. ONEPWR™ Battery
6. Filter/Separator Access
7. Easy Empty Dirt Cup
8. Dirt Cup Empty Button
9. Hose Release
10. Removable Brush Roll

1. ON/OFF Button
2. Mode Cycle Down
3. Mode Cycle Up
4. Battery LED
OPERATION
CAUTION: Use extra care when
cleaning on stairs. To avoid personal injury or
damage, and to prevent the cleaner from falling,
always place cleaner at bottom of stairs or on
floor. Do not place cleaner on stairs or furniture,
as it may result in injury or damage.
CAUTION: Not to be used for grooming a pet.

1 ON/OFF power button.
• Unit turns on in Default mode.
• To increase runtime for hard floors and everyday messes.
• To increase suction for more embedded messes.
• Battery LED is illuminated WHITE when on
and RED when battery is low.
NOTE: Pressing the – or + will decrease or increase
the power level from where it is currently running.
2 Step on the nozzle of the product and pull back
handle to recline and begin cleaning.
MAINTENANCE
This product contains no serviceable parts.
If appliance is not working as it should, has been
dropped, damaged, left outdoors, or dropped
into water, call customer service at 1-800-944-
9200 prior to continuing use.
EMPTYING THE DIRT CUP
WARNING: To reduce the risk of
personal injury – Remove the battery before
cleaning and servicing.
1 Remove the battery pack.

2 Push down the latch on the dirt cup to release.
Rock the dirt cup backwards off the body.

3 Hold the dirt cup over a trash bin and press the
dirt cup release button to empty.

4 To close, push the door until it locks back
into place.

5 Replace the dirt cup by aligning the bottom first
and then rocking it into place.

MAINTENANCE
CLEANING THE FILTER AND
SEPARATOR
1 Open the dirt cup lid to access the filter and
separator.

2 To clean the separator, lift to remove. Clean dirt
and debris by wiping the metal screen with a
cloth and then place back into the dirt cup.

3 Pull the filter away and tap over a trash can to
remove dirt. Rinse filter under warm water until
water comes out clear. Allow filter to air dry for at
least 24 hours until fully dry.

THE BELT: This vacuum is equipped with the
fiber reinforced stretch belt, which is designed
for long life and doesn’t need changing.
THERMAL PROTECTOR:
A THERMAL PROTECTOR HAS BEEN DESIGNED
INTO YOUR CLEANER TO PROTECT IT FROM
OVERHEATING. WHEN THE THERMAL
PROTECTOR ACTIVATES THE CLEANER WILL
STOP RUNNING.
If this happens proceed as follows:
1. Turn cleaner OFF and remove battery pack.
IMPORTANT: If left turned on, the cleaner
motor may restart unexpectedly.
2. Empty dirt cup.
3. Inspect the filter and cyclone for any
obstructions. Clear obstructions if present.
4. After the battery pack is removed and the
motor cools for 30 minutes, reinstall the
battery pack. The thermal protector will
deactivate and cleaning may continue.
If thermal protector continues to activate after
following the above steps, your cleaner needs
servicing, call Customer Service at
1 800 406-2005.
REMOVING AND REPLACING THE BRUSH ROLL
WARNING: To reduce the risk of
injury from moving parts – Remove battery
before servicing.
WARNING: Risk of personal injury
– Brush roll may suddenly restart. Turn power
switch off and remove battery before cleaning
or servicing.
1 Using your fingers or a coin, push and turn the
brush roll lock counterclockwise to release the
brush roll.

2 Pull the brush roll out of the nozzle with the
pull tab.

3 To remove any threads or hair, slide the blade of
a pair of scissors into the groove of the brush roll
and cut along the groove. Clear any dirt/debris
from the end caps and inside the housing of the
nozzle.

4 Re-fit the brush roll into the nozzle and turn the
brush roll lock clockwise to lock.

LUBRICATION: The motor and brush roll are
equipped with bearings which contain sufficient
lubrication for their lifetime. The addition of
lubricant could cause damage. Do not add
lubricant to motor or brush roll.
ACCESSORIES
Look for these accessories on Hoover.com or Hoover.ca or call 1-800-406-2005.
| EVERY ONEPWR™ BATTERY WORKS WITH EVERY ONEPWR™ PRODUCT. | |
| BATTERY: | MODEL # |
| 2.0 Ah | BH15020 |
| 3.0 Ah | BH15030, BH25030 |
| 4.0 Ah | BH15240, BH25040 |
| 8.0 Ah | BH25280 |
| PARTS AND ACCESSORIES: | |
| Single Bay Charger | BH05000 |
| Dual Bay Charger | BH05200 |
| Fast Charger | BH05140 |
| Slide-On 0.5A Compact Charger | 440014514, 440014913 |
| Slide-On 1.5A Compact Charger | 440014513, 440014914 |
To register your product, go to the URL below and follow the steps until complete.
Hoover.com/product-registration
TROUBLESHOOTING
WARNING: To reduce the risk of personal injury – Remove the battery before
cleaning or servicing.
THIS PRODUCT CONTAINS NO SERVICEABLE PARTS.
IF APPLIANCE IS NOT WORKING AS IT SHOULD, HAS BEEN DROPPED, DAMAGED, LEFT OUTDOORS, OR
DROPPED INTO WATER, CALL CUSTOMER SERVICE AT 1 800 406-2005 PRIOR TO CONTINUING USE.
WARRANTY
LIMITED WARRANTY FOR HOOVER® ONEPWR™ PRODUCT
THREE YEAR LIMITED WARRANTY (DOMESTIC USE)
Failure to register the product does not diminish
product warranty rights.
If this product is not as warranted, contact TTI
Floor Care North America Customer Service at
1-800-406-2005. Please have available the
proof of purchase and model number for the
warranted product. Failure to register the product
does not diminish product warranty rights.
WHAT THIS LIMITED WARRANTY COVERS: This
limited warranty provided by Royal Appliance
Mfg. Co., doing business as TTI Floor Care North
America (referred to hereafter as “Warrantor”)
applies only to products purchased in the U.S.
(including its territories and possessions), a
U.S. Military Exchange, or Canada. When used
and maintained in normal household use and in
accordance with the Owner’s Guide, this product
is warranted against original defects in material
and workmanship for THREE year from the date
of original purchase (the “Warranty Period”). If
Warrantor determines that the issue you are
experiencing is covered under the terms of this
warranty (a “covered warranty claim”), we will,
at our sole discretion and free of charge (subject
to the cost of shipping), either (i) repair your
product; (ii) ship you a replacement product,
subject to availability; or (iii) in the event that
the applicable parts or replacement are not
reasonably available, ship you a similar product
of equal or greater value. In the unlikely event
that we are unable to repair your product or ship
a replacement or similar product, we reserve
the right, at our sole discretion, to issue you
a refund or store credit (if applicable) of the
actual purchase price at the time of the original
purchase as reflected on the original sales
receipt. Parts and replacements may be new,
refurbished, lightly used, or remanufactured, in
Warrantor’s sole discretion.
WHO THIS LIMITED WARRANTY COVERS: This limited
warranty extends only to the original retail
purchaser, with original proof of purchase from
Warrantor or an authorized dealer of Warrantor
products, in the U.S., U.S. Military Exchanges, and
Canada.
WHAT THIS LIMITED WARRANTY DOES NOT COVER:
This warranty does not cover use of the product
in a commercial operation (such as maid,
janitorial, and equipment rental services, or any
other income-generating activity); improper
maintenance of the product; the product if it has
been subject to misuse, negligence, neglect,
vandalism, or the use of voltages other than that
on the data plate of this product. This warranty
does not cover damage resulting from an act
of God, accident, owner’s acts or omissions,
service of this product by other than Warrantor
or a Warrantor authorized service provider (if
applicable), or other acts beyond the control of
Warrantor. This warranty also does not cover use
outside the country in which the product was
initially purchased, or resale of the product by the
original owner. Pick-up, delivery, transportation,
and house calls are not covered by this warranty.
In addition, this warranty does not cover any
product that has been altered or modified, or
repairs made necessary by normal wear or the
use of other products, parts, or accessories
which are either incompatible with this product
or adversely affect this product’s operation,
performance, or durability. Normal wear items
are not covered under this warranty. Depending
on the product, normal wear items may include,
but are not limited to, belts, filters, brush rolls,
blower fans, blower and vacuum tubes, and
vacuum bags and straps.
OTHER IMPORTANT TERMS: This warranty is not
transferable and may not be assigned; any
assignment made in contravention of this
prohibition is void. This warranty shall be
governed and construed under the laws of the
state of North Carolina. The Warranty Period will
not be extended by any replacement of batteries,
parts, or products or by virtue of any repair
performed under this warranty.
THIS LIMITED WARRANTY IS THE EXCLUSIVE
WARRANTY AND REMEDY, AND ALL EXPRESS AND
IMPLIED WARRANTIES OTHER THAN THE LIMITED
WARRANTY SET FORTH ABOVE, INCLUDING IMPLIED
WARRANTIES OF MERCHANTABILITY AND FITNESS
FOR A PARTICULAR PURPOSE, ARE EXPRESSLY
DISCLAIMED. IN NO EVENT WILL WARRANTOR BE
LIABLE FOR ANY SPECIAL, INDIRECT, INCIDENTAL
OR CONSEQUENTIAL DAMAGES OF ANY KIND OR
NATURE TO OWNER OR ANY PARTY CLAIMING
THROUGH OWNER, WHETHER BASED IN CONTRACT,
NEGLIGENCE, TORT, OR STRICT PRODUCTS LIABILITY
OR ARISING FROM ANY CAUSE WHATSOEVER,
EVEN IF THIS WARRANTY FAILS OF ITS ESSENTIAL
PURPOSE. TO THE EXTENT PERMITTED BY
APPLICABLE LAW, NO WARRANTIES THAT ARISE
BY OPERATION OF LAW, IF APPLICABLE, SHALL
EXCEED THE DURATION OF THE LIMITED WARRANTY
PROVIDED HEREIN. Warrantor’s liability for
damages to you for any costs whatsoever arising
out of this statement of limited warranty shall be
limited to the amount paid for this product at the
time of original purchase.
Some states do not allow the exclusion or
limitation of incidental or consequential
damages, disclaimers of implied warranties, or
limitations on the duration of implied warranties,
so the above exclusions, disclaimers, and/or
limitations may not apply to you. This warranty
gives you specific legal rights, and you may also
have other rights, which vary from state to state.
GENUINE PARTS AND ACCESSORIES: We recommend
using only with genuine HOOVER® solutions (for
carpet and spot cleaners), parts, and accessories.
Damage caused by use with other than genuine
HOOVER® solutions, parts, and accessories is not
covered by and may void your warranty.
References
Hoover Canada
Vacuum Cleaners | Carpet Cleaners | Hard Floor Cleaners | Hoover
Parts Finder & Support Library – Hoover
hoovers.ca - contact with domain owner | Epik.com
Call2Recycle | United States
Call2Recycle and Earth Day Canada collaboration spotlights battery recycling | Call2Recycle | United States
EVOLVE 2
















