DECORATIVE LUMINAIRE
ARB ARBOR POST TOP
Invue
DESCRIPTION
The Invue Arbor post top brings architectural style to area/site and pedestrian scale applications. Its dayform appearance brings a desired organic look into the urban environment. WaveStream LED Optics provide a uniform pixelation free image, managing glare while providing high levels of visibility.
| Catalog # | Type | |
| Project | ||
| Comments | Date | |
| Prepared by |
SPECIFICATION FEATURES
Construction
Two-piece IP66 rated housing is cast from low copper content corrosion resistant aluminum, maintaining strength and precision to sustain long term dayform appearance. ANSI C136.31 testing compliance prevents damage from installation generated vibration. External hardware and casting seams are minimized to enhance appearance.
Optics
Specifically designed for pedestrian applications, WaveStream LED optical waveguide technology produces both symmetric NEMA type V and asymmetric NEMA II, III, IV distributions. The waveguide is manufactured from precision injection molded acrylic resulting in a pixelation free optical image for improved glare control and visual comfort. Luminaire efficacy’s measure up to 100 lm/w for 4000K (+/- 275K) CCT at 70 CRI (min), optional 3000K CCT at 80 CRI is also available.
Electrical
LED driver(s) are directly mounted to upper housing thermal pad for optimal thermal performance. Standard 0-10V dimming drivers and Cooper Lighting Solutions’ proprietary surge protection module are designed to withstand 10kV of transient line surge. Drivers operate at 120-277V 50/60Hz with 347V/60Hz or 480V/60Hz operation optional. Suitable for ambient temperature applications as low as -40°C (40°F) to 40°C (104°F). Limited high ambient options allow for 50°C operation.
Controls
The Arbor LED luminaire control options are designed to be simple and cost-effective ASHRAE and California Title 24 compliant solutions. The ANSI C136.41 compliant NEMA 7-PIN receptacle enables wireless dimming when used with compatible photocontrol. See control options page for more details.
Mounting
Fitter assembly mounts over 2-3/8″ O.D. tenon and is secured via six concealed stainless steel set screws. Design of fitter provides seamless transition to 3″ O.D. round pole top. Additional mounting accessories include a single fixture arm mount, twin fixture arm mount and wall mount arm. Additional pole mount accessories mount to a 3″ x 4″ long tenon for 4″ – 5″ O.D. poles tops. For existing 2-3/8″ tenons an adapter is shipped standard.
Finish
Cooper Lighting Solutions (“CLS”) utilizes premium ultra-weatherable TGIC based polyester powder coatings that are specifically formulated to withstand extended outdoor exposure. The powders are formulated exclusively for CLS to serve functionally as well as decorative. Good film appearance combinded with excellent mechanical an exterior exposure qualities display greater than twice as much gloss retention. RAL and custom color matches available. Finish is compliant with ASTM B117 3000hr salt spray standard. Options to meet Buy American Act requirements.
Warranty
Five-year warranty.
DIMENSIONS

MOUNTING CONFIGURATIONS (WEIGHT AND EPAS INCLUDES FIXTURE)
Single Arm Mount (ARSA-XX)
Weight: 56 lbs. [25.45 kgs.]
EPA: 1.7 Sq. Ft.

Wall Mount Arm (ARWM-XX)
Weight: 57 lbs. [25.91 kgs.]
EPA: 1.8 Sq. Ft.

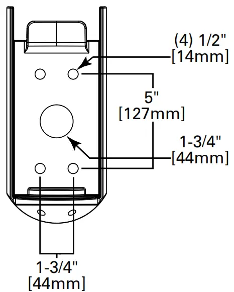
Wall Mount Arm Drill Pattern

Post Top Adapter (ARPA4-XX)
Weight: 41 lbs. [18.63 kgs.]
EPA: 1.2 Sq. Ft.

Twin Arm Mount (ARTA15-XX)
Weight: 114 lbs. [51.81 kgs.]
EPA: 3.45 Sq. Ft.

MOUNTING REQUIREMENTS CHART
| Tenon O.D. (Inches) | 2-3/8″ Tenon | ||
| Pole Top O.D. (Inches) | 3″ | 4″ | 5″ |
| Post Top | Standard | Spacer (Provided) & ARPA4-XX (Order Separately) | Spacer (Provided) & ARPA4-XX (Order Separately) |
| Single Arm Mount | Spacer (Provided) | Spacer (Provided) | Spacer (Provided) |
| Tenon O.D. (Inches) | 3″ Tenon | ||
| Pole Top O.D. (Inches) | 4″ | 5″ | |
| Post Top | ARPA4-XX (Order Separately) | ARPA4-XX (Order Separately) | |
| Single Arm Mount | Standard | Standard | |
| Twin Mount | Standard | Standard | |
POLE CONFIGURATIONS (ARP DECORATIVE POLE SHOWN)

ORDERING INFORMATION
Sample Number: ARB-B2-LED-D1-T2-GM
| Product Family 1, 2 | Lumens 3 | Lamp Type | Voltage | Distribution | Color 7 |
| ARB=Arbor Post Top BAA-ARB=Arbor Post Top Buy American Act Compliant 25 | B1=Nominal 2,300 Lumens B2=Nominal 4,500 Lumens B3=Nominal 8,500 Lumens B4=Nominal 9,500 Lumens 4 | LED=Solid State Light Emitting Diodes | D1=Dimming Driver (120-277V) 347=347V 5 480=480V 5 , 6 | T2=Type II T3=Type III T4=Type IV T5=Type V | AP=Grey BZ=Bronze BK=Black DP=Dark Platinum GM=Graphite Metallic WH=White |
| Options (Add as Suffix) | Accessories (Order Separately) 19,26 | ||||
| 7030=70 CRI / 3000K CCT 8 7035=70 CRI / 3500K CCT 8 8030=80 CRI / 3000K CCT 8 8035=80 CRI / 3500K CCT 8 AMB=Amber 590nm 11, 27 20MSP=20kV MOV Surge Protective Device 20K=20kV UL 1449 Fused Surge Protective Device PC=Button Type Photocontrol PER=NEMA 3-PIN Twistlock Photocontrol Receptacle PER7=NEMA 7-PIN Twistlock Photocontrol Receptacle HA=50°C High Ambient Temperature 9 SPB1=Dimming Occupancy Sensor with Bluetooth Interface, <8’ Mounting 23 SPB2=Dimming Occupancy Sensor with Bluetooth Interface, 8’-20’ Mounting 23 SPB4=Dimming Occupancy Sensor with Bluetooth Interface, 21’-40’ Mounting 23 MS–L08=Motion Sensor for ON/OFF Operation, Maximum 8′ Mounting Height 10, 11 MS–L20=Motion Sensor for ON/OFF Operation, 9′ – 20′ Mounting Height 10, 11 MS–L40W=Motion Sensor for ON/OFF Operation, 21′ – 40′ Mounting Height 10, 11 MS/DIM-L08=Motion Sensor for Dimming Operation, Maximum 8′ Mounting Height 10, 11 MS/DIM-L20=Motion Sensor for Dimming Operation, 9′ – 20′ Mounting Height 10, 11 MS/DIM-L40W=Motion Sensor for Dimming Operation, 21′ – 40′ Mounting Height 10, 11 ZW=WaveLinx-enabled 4-PIN Twistlock Receptacle 10,12,13,29,30 ZD=SR Driver-enabled 4-PIN Twistlock Receptacle 10,12,13,29,30 ZW-WOBWH=WaveLinx Lite, Dimming Motion and Daylight, Bluetooth Programmable, 7′ – 15′ Mounting ZW-WOFWH=WaveLinx Lite, Dimming Motion and Daylight, Bluetooth Programmable, 15′ – 40′ Mounting ZD-WOBWH=WaveLinx Lite, SR Driver, Dimming Motion and Daylight, Bluetooth Program- mable, 7′ – 15′ Mounting ZD-WOFWH=WaveLinx Lite, SR Driver, Dimming Motion and Daylight, Bluetooth Program- mable, 15′ – 40′ Mounting ZW-SWPD4WH=WaveLinx Pro, Dimming Motion and Daylight, WAC Programmable, 7′ – 15′ Mounting 10,12,13,15,19,29,30 ZW-SWPD5WH=WaveLinx Pro, Dimming Motion and Daylight, WAC Programmable, 15′ – 40′ Mounting 10,12,13,15,19,29,30 ZD-SWPD4WH=WaveLinx Pro, SR Driver, Dimming Motion and Daylight, WAC Programmable, 7′ – 15′ Mounting 10,12,13,15,19,29,30 ZD-SWPD5WH=WaveLinx Pro, SR Driver, Dimming Motion and Daylight, WAC Programmable, 15′ – 40′ Mounting 10,12,13,15,19,29,30 LWR-LW=Enlighted Wireless Sensor, Wide Lens for 8′ – 16′ Mounting Height 10, 16 LWR-LN=Enlighted Wireless Sensor, Narrow Lens for 16′ – 40′ Mounting Height 10, 16 5LTD=Fifth Light Dali Driver 10, 17 DIM=0-10V External Dimming Leads 10, 18 VS=Tempered Glass Vandal Shield CC=Coastal Construction 24 SPBL2=FDP-301-L2 (Wattstopper DALI sensor) SPBL4=FDP-301-L7 (Wattstopper DALI sensor) TH=Toolless hardware F=Single Fuse 28 | ARSA-XX=Single Pole Mount Arm 20 ARWM-XX=Wall Mount Arm ARTA15-XX=Twin Mount Bracket 21 ARPA4-XX=Pole Adapter 4″ O.D. Pole FSIR-100=Wireless Configuration Tool for Occupancy Sensor 21 WOLC-7P-10A=Wavelinx Outdoor Control Module (7-PIN) 10, 22 WOB-WH= WaveLinx Lite Sensor, Dimming Motion and Daylight, Bluetooth Pro- grammable, 7′ – 15′ Mounting WOF-WH= WaveLinx Lite Sensor, Dimming Motion and Daylight, Bluetooth Pro- grammable, 15′ – 40′ Mounting SWPD4-WH= WaveLinx Sensor, Dimming Motion and Daylight, WAC Program- mable, 7′ – 15′ Mounting 13,15,19,29 SWPD5-WH= WaveLinx Sensor, Dimming Motion and Daylight, WAC Program- mable, 15′ – 40′ Mounting 13,15,19,29 | ||||
NOTES:
- Customer is responsible for engineering analysis to confirm pole and fixture compatibility for all applications. Refer to our white paper WP513001EN for additional information.
- Fixture slipfits over standard 2-3/8″ tenon. 3″ O.D. tenon when used with a ARPA4-XX 4” O.D. pole adapter.
- Standard 4000K CCT, nominal 70CRI.
- B4 only available with Type V distribution.
- Requires the use of a step down transformer.
- Only for use with 480V Wye systems. Per NEC, not for use with ungrounded systems, impedance grounded systems or corner grounded systems (commonly known as Three Phase Three Wire Delta, Three Phase High Leg Delta and Three Phase Corner Grounded Delta systems).
- Custom and RAL color matching available upon request. Consult your lighting representative for more information.
- Extended lead times apply. Use dedicated IES files when performing layouts.
- Not available with B3 lumen package in Type II, III, or IV distributions.
- Controls system is not available with photocontrol (PC), photocontrol receptacle (PER or PER7), or controls systems MS, LWR, DIM or SPBx.
- Not available with HA option.
- Sensor passive infrared (PIR) may be overly sensitive below -20°C (-4°F).
- For device to be field-configurable, requires WAC Gateway components WAC-POE and WPOE-120 in appropriate quantities. Only compatible with WaveLinx system and software and requires system components to be installed for operation. See website for more WaveLinx application information.
- Not available on B1 or B4 lumen packages.
- Requires 4-PIN twistlock receptacle (ZD or ZW) option.
- Enlighted wireless sensors are factory installed and require network components LWP-EM-1, LWP-GW-1, and LWP-PoE8 in appropriate quantities. See website for application information.
- Not available in B4 lumen package.
- Low voltage control leads brought 18″ outside fixture.
- Replace XX with paint color.
- Fits on 3″ O.D. x 4″ long tenon for nominal 4-1/2″ O.D. pole top.
- This tool enables adjustment to Motion Sensor (MS) parameters including high and low modes, sensitivity, time delay, cutoff and more. Consult your lighting representative for more information.
- Requires 7-PIN NEMA twistlock photocontrol receptacle (PER7) option. The WOLC-7 cannot be used in conjunction with other controls systems (MS, ZW, ZD or LWR). Operates on 120-347V input voltages.
- Smart device with mobile application required to change system defaults. See controls section for details.
- Coastal construction finish salt spray tested to over 5,000-hours per ASTM B117, with a scribe rating of 9 per ASTM D1654.
- Only product configurations with this designated prefix are built to be compliant with the Buy American Act of 1933 (BAA). Please refer to DOMESTIC PREFERENCES website for more information. Components shipped separately may be separately analyzed under domestic preference requirements.
- Accessories sold separately will be separately analyzed under domestic preference requirements. Consult factory for further information.
- Narrow-band 590nm +/- 5nm for wildlife and observatory use. Choose Lumen Package B1. See IES files for photometric performance.
- Must specify voltage (120V, 277V, or 347V) to fuse the single hot leg.
- Not available with 5LTD option.
- If ZD or ZW only, shorting cap will be installed on 4-pin receptacle.
POWER AND LUMENS
| Lumen Package | B1 | B2 | B3 | B4 | |
| Drive Current | |||||
| Power Wattage (Watts) | 24W | 48W | 96W | 99W | |
| Input Current (mA) @ 120V | 200 | 400 | 800 | 830 | |
| Input Current (mA) @ 208V | 120 | 240 | 470 | 480 | |
| Input Current (mA) @ 240V | 100 | 200 | 400 | 420 | |
| Input Current (mA) @ 277V | 90 | 180 | 350 | 360 | |
| Power Wattage (Watts) | 26W | 53W | 107W | 108W | |
| Input Current (mA) @ 347V | 79 | 161 | 325 | 328 | |
| Input Current (mA) @ 480V | 58 | 117 | 235 | 237 | |
| Optics | |||||
| Type II | Lumens | 2,045 | 3,994 | 7,362 | — |
| BUG Rating | B1-U0-G1 | B1-U0-G2 | B3-U0-G3 | — | |
| Type III | Lumens | 2,324 | 4,534 | 8,451 | — |
| BUG Rating | B1-U0-G1 | B1-U0-G2 | B2-U0-G3 | — | |
| Type IV | Lumens | 2,408 | 4,691 | 8,740 | — |
| BUG Rating | B1-U0-G1 | B1-U0-G2 | B2-U0-G3 | — | |
| Type V | Lumens | 2,311 | 4,529 | 8,511 | 9,464 |
| BUG Rating | B2-U0-G1 | B3-U0-G2 | B3-U0-G3 | B3-U0-G3 | |
LUMEN MULTIPLIER
| Ambient Temperature | Lumen Multiplier |
| 0ºC | 1.02 |
| 10ºC | 1.01 |
| 25ºC | 1.00 |
| 40ºC | 0.99 |
| 50ºC | 0.97 |
LUMEN MAINTENANCE
| Ambient Temperature | TM-21 Lumen Maintenance (60,000 Hours) | Calculated L70 (Hours) |
| 25ºC | >91% | >230,000 |
| 40ºC | >88% | >172,000 |
| 50ºC | >86% | >142,000 |
NOTE: Maintenance data applies to the highest drive current and represents the worst case at the highest wattage.
COLOR TEMPERATURE
| Color Temperature (CCT) | CRI (Nominal) | Multiplier |
| 4000 | 70 | 1.00 |
| 3000 | 80 | 0.91 |
MINIMUM AMBIENT TEMPERATURE
| Lumen Package | Temperature |
| B1 | -40ºC |
| B2 | -35ºC |
| B3 | -35ºC |
| B4 | -40ºC |
| All DALI powered lumen packages | -20ºC |
CONTROL OPTIONS
0-10V (D) The dimming option provides 0-10V dimming wire leads for use with a lighting control panel or other control method.
Photocontrol (PER and PER7) Photocontrol receptacles provide a flexible solution to enable “dusk-to-dawn” lighting by sensing light levels. Advanced control systems compatible with NEMA 7-pin standards can be utilized with the PER7 receptacle.
Dimming Occupancy Sensor (SPB, MS/DIM-LXX and MS-LXX) These sensors are factory installed in the luminaire housing. When the SPB or MS/DIM sensor options are selected, the occupancy sensor is connected to a dimming driver and the entire luminaire dims when there is no activity detected. When activity is detected, the luminaire returns to full light output. The MS/DIM sensor is factory preset to dim down to approximately 50 percent power with a time delay of five minutes. The MS-LXX sensor is factory preset to turn the luminaire off after five minutes of no activity. SPB motion sensors require the Sensor Configuration mobile application by Wattstopper to change factory default dimming level, time delay, sensitivity and other parameters. Available for iOS and Android devices. The SPB sensor is factory preset to dim down to approximately 10% power with a time delay of five minutes. The MS/DIM occupancy sensors require the FSIR-100 programming tool to adjust factory defaults.
These sensors are factory installed in the luminaire housing. When the SPB or MS/DIM sensor options are selected, the occupancy sensor is connected to a dimming driver and the entire luminaire dims when there is no activity detected. When activity is detected, the luminaire returns to full light output. The MS/DIM sensor is factory preset to dim down to approximately 50 percent power with a time delay of five minutes. The MS-LXX sensor is factory preset to turn the luminaire off after five minutes of no activity. SPB motion sensors require the Sensor Configuration mobile application by Wattstopper to change factory default dimming level, time delay, sensitivity and other parameters. Available for iOS and Android devices. The SPB sensor is factory preset to dim down to approximately 10% power with a time delay of five minutes. The MS/DIM occupancy sensors require the FSIR-100 programming tool to adjust factory defaults.
WaveLinx Wireless Control and Monitoring System Available in 7-PIN or 4-PIN configurations, the WaveLinx Outdoor control platform operates on a wireless mesh network based on IEEE 802.15.4 standards enabling wireless control of outdoor lighting. Use the WaveLinx Mobile application for set-up and configuration. At least one Wireless Area Controller (WAC) is required for full functionality and remote communication (including adjustment of any factory pre-sets).
WaveLinx Outdoor Control Module (WOLC-7P-10A) A photocontrol that enables astronomic or time-based schedules to provide ON, OFF and dimming control of fixtures utilizing a 7-PIN receptacle. The out-of-box functionality is ON at dusk and OFF at dawn.
WaveLinx Wireless Sensor (SWPD4 and SWPD5) These outdoor sensors offer passive infrared (PIR) occupancy and a photocell for closed loop daylight sensing. These sensors can be factory installed or field-installed via simple, tool-less integration into luminaires equipped with the Zhaga Book 18 compliant 4-PIN receptacle (ZD or ZW). These sensors are factory preset to dim down to approximately 50 percent power after 15 minutes of no activity detected. These occupancy sensors include an integral photocell for “dusk-to-dawn” control or daylight harvesting that is factory-enabled. A variety of sensor lenses are available to optimize the coverage pattern for mounting heights from 7′-40′.
Enlighted Wireless Control and Monitoring System (LWR-LW and LWR-LN) The Enlighted System is a connected lighting solution that combines LED luminaires with an integrated wireless sensor system. The sensor controls the lighting system in compliance with the latest energy codes and collects valuable data about building performance and use. Software applications turn the granular data into information through energy dashboards and specialized apps that make it simple and help optimize the use of other resources beyond lighting.
![]()
CERTIFICATION DATA
UL/cUL Listed
IEC 60529 IP66 Housing
ASTM B117 SaH Spray Tested
ASTM A3560 Low Cooper Alloy ISO 9001
Dark Sky Approved (3000K CCT and warmer only)
ANSI C136.31 3G Vibration Tested (Post Top)
ANSI C136.31 1.5G Vibration Tested (Twin Mount / Accessory Arm Mount)
ENERGY DATA
Electronic LED Driver
>0.9 Power Factor
<20% Total Harmonic Distortion
120-277V 50/60Hz, 347V/60Hz, 480V/60Hz 40°C Ambient Temperature Rating
As low as -40°C (-40°F) minimum temperature
*See MINIMUM TEMPERATURE table
EPA
Effective Projected Area: (Sq. Ft.) 0.9
Approximate Net Weight: 37 lbs. [16.8 kgs.]
Cooper Lighting Solutions
1121 Highway 74 South
Peachtree City, GA 30269
P: 770-486-4800
www.cooperlighting.com
Specifications and
dimensions subject to
change without notice.
TD516018EN
August 17, 2022 6:25 PM



















