GLOBAL SPECIAL EFFECTS Magic Lamp Pro Evaporative Snow Machine 
MACHINE INFORMATION
The Magic Lamp PRO Evaporative Snow® Machine is a smaller version of our original, commercial-grade Magic Lamp used for years in movie productions, music videos, theme parks, theaters, malls, exhibits, and more. The Magic Lamp PRO Evaporative® Snow Machine allows any customer, big or small, to achieve and enjoy a beautiful snowfall effect in a more practical way. This machine disperses a specially formulated Evaporative Snow® that creates a unique snowfall effect without cold air or cleanup required. The Magic Lamp PRO is the perfect addition to any special event or celebration.
IMPORTANT PRODUCT & SAFETY INFORMATION
Failure to follow these instructions could cause serious bodily injury or property damage. These instructions pertain to a risk of fire, electric shock, or injury to persons.
WARNING: You must read the following before operating this device.
The Magic Lamp PRO is an electrical product, not a toy. To avoid the risk of fire, burns, personal injury, and electric shock, it should not be used in a manner for which it was not designed and should be placed out of reach of small children. Competent adult supervision is necessary to avoid the risk of electric shock or personal injury.
This device dispenses Evaporative Snow® that easily dissipates when sprayed from 15-20 ft. in the air. However, there is a chance for some build-up of slippery residue on some ground surfaces (linoleum in particular). Always use caution in determining the location of the Magic Lamp PRO. Take proper precautions to ensure a safe environment and alert passers-by of potential snow surfaces.
CUSTOMER SERVICE
Thank you for purchasing the Magic Lamp PRO by Global Special Effects! Please contact us with any questions or comments you may have.
Phone Support: (256) 229-5551
Email Support: [email protected]
NOTE:
Please read this instruction manual thoroughly prior to use. Failure to comply with instructions could result in personal injury or property damage. Retain this instruction manual for future reference.
TECHNICAL SPECIFICATIONS
| Supply Voltage | 120 Volts – 60Hz – 15 Amps 220 Volts – 60Hz – 10 Amps |
| Light Bulb Specifications | LED Bulbs Only |
| Dimensions | 24”L x 24”W x 98”H |
| Weight | Approx. 55 lbs |
| FEATURES | |
| • 4-Channel DMX Control • Remote Control Available (Rented or Sold Separately) • Programmable Cycle Timer • Adjustable Flake Size and Quantity • Limited Lifetime Warranty (When using Global Special Effects Fluid) • 24-Hour Tech Support: (256) 229-5551 | |
SAFETY INFORMATION
- This unit is not a toy. To avoid the risk of fire, burns, personal injury, and electric shock, it should not be used other than as described herein, and always under adult supervision.
- Do not attempt to install, service, or perform maintenance on the unit while connected to an electrical circuit. This could cause serious harm to the operator and/or product.
- The electric circuit used for the operation of this device should be installed and checked by a qualified electrician to ensure proper grounding and conformance to National Electric Code and all local codes prior to use.
- Prior to each use, inspect all electrical cords for frays, cuts, or any other damage and discontinue use if found.
- This unit is must be connected to a Ground Fault Circuit Interrupter (GFCI) device using a 3-prong grounded socket and plug.
- The Magic Lamp PRO must be fully assembled before connection of electric service.
- The Magic Lamp PRO must be operated on a level and stable surface sufficient enough to support the weight of the unit and any snow fluid or accessories.
- Use only approved solutions mixed per manufacturer instructions. Never use this product with any additives or flammable liquids (oil, gas, alcohol, perfume, etc.) in the solution.
- When not operated correctly or not using proper fluid, residue may collect on surfaces around the unit. Use caution to monitor area for unsafe conditions.
- Do not allow individuals to climb on or hang on the unit.
- Keep participants a safe distance away to avoid running into or hitting the Magic Lamp PRO.
- Do not run the Magic Lamp PRO without fluid. This automatically voids the warranty and may cause internal damage to the machine.
INCLUDED IN THE PACKAGE
Carefully open packaging and remove the contents listed below:
- Magic Lamp PRO User Manual
- Lamp Base Sub-Assembly
- Lamp Top Sub-Assembly
- DMX Terminator Plug
- 3 Bolts to connect Base to Pole
ASSEMBLY INSTRUCTIONS
WARNING:
The Magic Lamp PRO should remain unplugged during the assembly process.
- Remove Lamp Base Sub-Assembly from packaging and place on firm, level surface.
- Locate the Solution Line Quick Connect and Electric Socket at the top of the Lamp Base Sub-Assembly as shown in Fig. 1.

- Remove Lamp Top Sub-Assembly from packaging.
- Insert the Solution Line and mating electrical plug located inside the Lamp Top Sub-Assembly to the Quick Connectors displayed in Fig. 1.
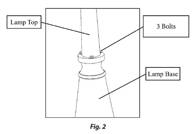
- After connections are complete, set the Lamp Top Sub-Assembly onto the Lamp Base Sub-Assembly and secure with three bolts as shown in Fig. 2.

- Remove lid from the base of the Magic Lamp PRO by rotating the latch shown in Fig. 3 then tilting and lifting the lid away from the base.

- Locate the fluid suction line inside the base on the lower left-hand side of the unit.
- Insert the fluid suction line into a container of Global Special Effects Evaporative Snow® Fluid so that the line rests on the bottom of the container. The Magic Lamp PRO base was designed to hold 1-Gallon Bottles or 5-Gallon Buckets of Evaporative Snow® Fluid.
NOTE: See Page 10 for more information about Evaporative Snow® Fluid.
NOTE: The Magic Lamp PRO base will fit up to a standard 5-Gallon Bucket of Evaporative Snow® Fluid. Smaller containers may be used as desired. - Place the Evaporative Snow® Fluid container into the base of the Magic Lamp PRO.
- Locate the control panel inside the base on the right-hand side as shown in Fig. 4.

- Find the Rotary Selector Switches displayed in Fig. 5 and set to desired settings as directed by the information in Table 1.
NOTE: DMX terminator must be plugged into the output socket for the controller to function.
NOTE: When daisy chaining together multiple DMX devices for use with a single external interface, the DMX terminator must be plugged into the output socket on the last device in line.
- Once Rotary Selector Switches are set, the unit is now ready to be plugged into power.
- Turn the power switch located on the control panel to the ON position.
- Replace the lid to the Magic Lamp by reversing the process completed in Step 1.
INFORMATION TABLES
| TABLE 1 | |||
| Set 3-digit code on rotary dials reading top to bottom. | |||
| Setting Range | Description | ||
| 001 | to | 509 | For use with external DMX interface – See Table 2 |
| 510 | to | 599 | Standby Mode – No Activity |
| 600 | to | 699 | Short Cycles of ON/OFF Activity (5 Minute) – See Table 3 |
| 700 | to | 799 | Long Cycles of ON/OFF Activity (15 Minute) – See Table 4 |
| 800 | to | 899 | Always On – See Table 5 |
| 900 | to | 999 | Using Hard Wire Remote (Sold Separately) – See Table 6 |
| TABLE 2 (DMX) | ||||||
| Set 3-digit code on rotary dials reading top to bottom. | ||||||
| Setting Range | Description | |||||
| 001 | to | 509 | Set to Desired Starting Address | |||
| DMX Channel | External Interface Slider Position Definition | |||||
| 0% to 24% | 25% to 50% | 51% to 74% | 75% to 100% | |||
| Channel 1: Mode | Off | 5-Min Cycle | 15-Min Cycle | Always On | ||
| Channel 2: Cycle Timer | • Activate when Mode Channel is set to 5 or 15 minute cycle. • Allows for fine tuning of total cycle time. (e.g., setting the Cycle Time Slider at 50% when in 5-Minute Mode will yield a total cycle time of 2 minutes 30 seconds.) | |||||
| Channel 3: Duration | • Activate when Mode Channel is set to 5 or 15 minute cycle. • Allows for fine tuning of snow ON time. (e.g., setting the Cycle Time Slider at 50% and the Duration Slider at 50% when in 5-Minute Mode will yield a total cycle time of 2 minutes 30 seconds, with the snow effect ON for 1 minute 15 seconds of that cycle.) | |||||
| Channel 4: Flake Size | Smallest Flake <<<<<<<<<<<<<<>>>>>>>>>>>>>> Largest Flake | |||||
| *The Magic Lamp PRO Controller is compliant with DMX-512 standards and is electrically isolated to 1000VAC. The starting address can be set from 1 to 509. | ||||||
| TABLE 3 (5 Minute Cycles) | ||||
| Set 3-digit code on rotary dials reading top to bottom. | ||||
| Dial 1 | Dial 2 | Dial 3 | Description | |
| 0 | 15 Seconds ON / 4 Minutes, 45 Seconds OFF | |||
| 1 | Flake | 30 Seconds ON / 4 Minutes, 30 Seconds OFF | ||
| 2 | 1 Minute ON / 4 Minutes OFF | |||
| Size | ||||
| Adjustment | ||||
| 3 | 1 Minute, 30 Seconds ON / 3 Minutes, 30 Seconds OFF | |||
| 0 = | ||||
| 4 | 2 Minutes ON / 3 Minutes OFF | |||
| 6 | Smallest Flakes | |||
| 5 | 2 Minutes, 30 Seconds ON / 2 Minutes, 30 Seconds OFF | |||
| 6 | 9 = | 3 Minutes ON / 2 Minutes OFF | ||
| 7 | 3 Minutes, 30 Seconds ON / 1 Minute, 30 Seconds OFF | |||
| Largest | ||||
| Flakes | ||||
| 8 | 4 Minutes ON / 1 Minutes OFF | |||
| 9 | 4 Minutes, 30 Seconds ON / 30 Seconds OFF | |||
| TABLE 4 (15 Minute Cycles) | ||||
| Set 3-digit code on rotary dials reading top to bottom. | ||||
| Dial 1 | Dial 2 | Dial 3 | Description | |
| 0 | 45 Seconds ON / 14 Minutes, 15 Seconds OFF | |||
| 1 | Flake | 1 Minute, 30 Seconds ON / 13 Minutes, 30 Seconds OFF | ||
| 2 | 3 Minutes ON / 12 Minutes OFF | |||
| Size | ||||
| Adjustment | ||||
| 3 | 4 Minutes, 30 Seconds ON / 10 Minutes, 30 Seconds OFF | |||
| 0 = | ||||
| 4 | 6 Minutes ON / 9 Minutes OFF | |||
| 7 | Smallest Flakes | |||
| 5 | 7 Minutes, 30 Seconds ON / 7 Minutes, 30 Seconds OFF | |||
| 6 | 9 = | 9 Minutes ON / 6 Minutes OFF | ||
| 7 | 10 Minutes, 30 Seconds ON / 4 Minutes, 30 Seconds OFF | |||
| Largest | ||||
| Flakes | ||||
| 8 | 12 Minutes ON / 3 Minutes OFF | |||
| 9 | 13 Minutes, 30 Seconds ON / 1 Minute, 30 Seconds OFF | |||
| TABLE 5 (Always On) | |||
| Set 3-digit code on rotary dials reading top to bottom. | |||
| Setting Range | Description | ||
| 800 | to | 849 | Always On – Minimal / No Snow Output |
| 850 | to | 859 | Always On – Low Snow Output |
| 860 | to | 879 | Always On – Light Snowfall |
| 880 | to | 889 | Always On – Sub-Blizzard Snowfall (Recommended Starting Point) |
| 890 | to | 895 | Always On – Blizzard Snowfall |
| 896 | to | 899 | Always On – Maximum Snow Output |
| TABLE 6 (Hard Wire Remote) (Sold Separately) | ||||
| Set 3-digit code on rotary dials reading top to bottom. | ||||
| Setting Range | Description | ![]() | ||
| 900 | to | 999 | This setting enables the Hard Wire Remote. The Hard Wire Remote features an ON/OFF switch, as well as a flake size adjustment dial. 0 = Smallest Flakes, 5 = Largest Flakes | |
| *There is a red status light on the Hard Wire Remote. If the remote is connected and set to the OFF position, the light will slowly pulse to indicate the unit is in standby mode. When the switch is turned to the ON position, the light will be solid red. | ||||
EVAPORATIVE SNOW® FLUID
Global Special Effects is the sole inventor and formulator of Evaporative Snow® Fluid. All Global Special Effects fluids are formulated and bottled at our in-house Fluids Lab located in Lexington, Alabama.
Our Special Effects Chemists are dedicated to continually improving and providing quality and innovative products that exceed our customers’ expectations with regards to value, functionality, service, and delivery. Global Special Effects fluids are crafted with high quality ingredients to prolong the life of your machine, as well as produce a very dry and high-quality snow. Using cheap, low quality fluid can cause clogging inside the machine which may lead to internal damage. In order to prevent operation issues, maintain the integrity of Global Special Effects machines & fluids, and abide by the Limited Lifetime Warranty guidelines— always use Global Special Effects Evaporative Snow® Fluid.
Evaporative Snow® Pre-Mix (Recommended)
Global Special Effects Evaporative Snow® Pre-Mix is a ready-to-use fluid with no dilution required. Drop the fluid line into a 1-Gallon Bottle or 5-Gallon Bucket of our Evaporative Snow® Pre-Mix and you’re ready to go! The Evaporative Snow® Pre-Mix is formulated with the highest grade of water-based surfactants. The surfactant-based solution is then combined with deionized water to produce a high-quality snowflake that leaves behind little to no residue behind. Snowflakes evaporate within an average of 60-120 seconds with no build up or clean up necessary. Evaporative Snow® Pre-Mix is ideal for those who want the convenience of a high-quality, ready-to-use fluid to experience a more “plug-and-play” approach.
Evaporative Snow® Concentrate
Global Special Effects Evaporative Snow® Concentrate is our most cost-effective option for snow fluid. By utilizing Evaporative Snow® Concentrate, you’ll produce the same high-quality snow fluid you love AND get the most bang for your buck. This is a highly concentrated formula that must be diluted. Mix (8) oz. of Evaporative Snow® Concentrate per (1) gallon of water to produce a ready-to-use snow fluid! While the concentrate will work with any type of water, it’s important to keep in mind that the kind of water used will affect the quality of snow. As we like to say, “The Cleaner the Water, the Cleaner the Snow!” We recommend using deionized or distilled water for best results, as these waters contain minimal minerals, properties, and chlorine. Tap waters tend to contain various mineral contents that vary by location and can impact the quality of snow produced. Evaporative Snow® Concentrate is ideal for those who are looking for the most cost-effective solution, as it comes out to a cheaper price per ready-to-use gallon once diluted. Plus, you save some money on shipping since you’re not paying for extra water weight.
| CONCENTRATE YIELDS | ||
| (8) oz. Evaporative Snow® Concentrate per (1) Gallon of Water | ||
| Concentrate | Yields | Ready-to-Use Gallons Produced |
| 8 oz. | Yields | 1 Gallon of Ready-to-Use Snow Fluid |
| 1/2 Gallon | Yields | 8 Gallons of Ready-to-Use Snow Fluid |
| 1 Gallon | Yields | 16 Gallons of Ready-to-Use Snow Fluid |
| 5 Gallon | Yields | 80 Gallons of Ready-to-Use Snow Fluid |
NOTE: Evaporative Snow® Pre-Mix is not designed to be diluted. If you dilute Evaporative Snow® Pre-Mix, you will not be able to generate snow. Evaporative Snow® Pre-Mix is a ready-to-use formula.
NOTE: Lightly shake or stir the snow fluid before use for best results.
GENERAL CARE & MAINTENANCE
WARNING:
Ensure the Magic Lamp PRO is unplugged prior to any cleaning or maintenance.
- To clean the Magic Lamp PRO prior to storage: Fill a clean 1-gallon container with water, drop in the fluid line, and run the machine for 3-5 minutes.
- Periodically wipe down the exterior of the unit with mild detergent and water.
- Store the Magic Lamp PRO in a cool, dry environment between 40-80ºF.
- Light bulbs are not included with the Magic Lamp PRO for shipping and safety reasons. Utilize any standard E26 base LED bulb. *LED BULBS ONLY*
- The Magic Lamp PRO has a Limited Lifetime Warranty and should never require you to disassemble the machine. If you have any problems or issues, please contact Global Special Effects Tech Support at (256) 229-5551.
NOTE:
Allowing the Magic Lamp PRO to be exposed to freezing temperatures while fluid is in the machine may result in permanent machine damage and void the warranty.
TROUBLESHOOTING
The Magic Lamp PRO will not turn on when the switch is in the ON position.
- Check that the unit is securely plugged into a GFCI outlet.
- Make certain that the GFCI outlet is not tripped.
- Verify that the electrical circuit is active by testing with known good device.
The blower motor overheats and turns off after brief period of operation.
- The supply voltage from the electrical circuit is too low.
- Debris is clogging the inlet of the blower motor.
- Airflow through the lamp base vents is restricted.
The unit does not generate snow when the switch is in the ON position.
- Verify the Blower Motor is operating. (Air is shooting out of the snow sock nozzle.)
- Check that the DMX terminator plug is tight in the control panel outlet socket.
- If applicable, check the remote control connector is tight in the control panel inlet socket.
- Check to see if the power switch is in the ON position and look for red indicator lights on the control panel.
- Make sure the DMX settings correspond to your desired criteria.
- Feel for vibration on the clear plastic solution suction line to make sure the pump is running. Make sure the clear solution suction line is fully submerged in the solution and not pinched.
- Inspect solution suction line for any cracks, slits, or holes.
- Test with another batch of snow fluid. If mixing a concentrated formula, check your water-to-concentrate ratio carefully.
Snow generated is very wet or light in volume.
NOTE:
Allowing approximately two minutes for the Magic Lamp PRO to come on to full operation after an extended storage period or for the first time operating. In many cases, priming the pump with a solution using an appropriately sized syringe or another injector pump will ease the start-up process.
Global Special Effects offers priming tools sold separately if needed.
- Test with another batch of snow fluid. If mixing a concentrated formula, check your water-to-concentrate ratio carefully.
- Make sure the clear solution suction tube is fully submerged in the solution and is not pinched.
- Inspect the solution suction line for any cracks, slits, or holes.
NOTE:
Never disassemble the Magic Lamp PRO. If you need additional assistance, please contact Global Special Effects Technical Support Line at (256) 229-5551.
WARRANTY
LIMITED LIFETIME WARRANTY
Global Special Effects provides a Limited Lifetime Warranty for the Magic Lamp PRO from any manufacturing defects. Any misuse, abuse, or negligence automatically voids this warranty. Running any other fluids or solutions other than Global Special Effects solutions through the pump automatically voids this warranty. Global Special Effects is not responsible for loss of income, labor, or business as a result of a Magic Lamp PRO’s malfunction. Global Special Effects is not responsible for physical damage, scratching, or tube damage after shipping from the Global Special Effects manufacturing facility. For safety reasons, Global Special Effects will repair damaged electrical wires per the warranty. The Limited Lifetime Warranty applies to the circuit board and other electronics to the blower or pump. This warranty excludes all costs of shipping and related expenses. Direct all questions and claims to our customer service line at (256) 229-5551.
11054 County Road 71 Lexington, AL 35648
(256) 229-5551
[email protected]
www.GlobalSpecialEffects.com
























