
![]()
Thermal Transfer Option
right by our customers.

Overview
This document describes the installation and use of the General Purpose Input Output GPIO) option for the H-Class printer. After verifying the kit contents and tools needed,
follow the steps to install and begin using the option.
CAUTION
For safety and to avoid equipment damage, turn OFF the power switch and unplug the AC power cord from the printer before starting this installation.
Contents
This kit contains the following items:
- GPIO Circuit Card Assembly
- Cover Plate
- Screws
Tools Required
To install this option, you will need a Philips screwdriver.
Additional Requirements
Depending on your application, you may need the following hardware to interface the card:
| • GPI/O A | – DB15 Male connector (e.g., StarTech C15PCM) and shielded cabling. |
| • GPI/O B | – High-Density DB15 Male VGA connector (e.g., StarTech C15HPSM) and shielded cabling. |
| • COM C | DB9 Male connector (e.g., StarTech C9PSM) and shielded cabling, or a prefabricated cable (see part numbers and pinout requirements below). |
| • COM D | RJ45 Plug (e.g., Belkin R6G088) and shielded cabling, or a prefabricated cable (see part number and pinout requirements below). |


Step 1: Configuring the Hardware
Configure the card to meet your interfacing requirements by arranging hardware jumpers, as described in the following procedure:
CAUTION
Always wear a wrist strap and follow standard ESD prevention measures when handling the card.
A) Remove the card from the packaging and then place the card onto a static-free work area.
B) Set the jumpers on the card (detailed below) to meet the requirements of your application:

► GPI/O A (J1)
Four dedicated inputs control printer functions. Designed to interface to open-collector outputs, these inputs require no external pull-ups while blocking diodes allow the use of totem pole outputs from +4.5 VDC to + 26 VDC. Optical isolators provide galvanic isolation. Two print control interface circuit examples are given below.
For direct inputs –

Use the printer’s +5VDC and Ground to supply the devices interfacing to the GPI/O A inputs (as shown in the sample circuit, right).
For isolated inputs –

To provide galvanic isolation for the GPI/O A inputs, remove Jumper JMP 9 then supply an external +5VDC source voltage to Pin 2, and remove Jumper JMP 8 then supply an external Ground to Pin 1 (as shown in this sample circuit, right).
Seven dedicated outputs are available for control, warning, and error functions.
These open-collector outputs have slew-limited signal-edge rise and fall times to prevent cross-talk in the cabling. Optional 10K ohm pull-up resistors, tied to a common point for use at either +5 or +24 VDC, are available via Jumper JMP 1.
Note: If external pull-ups are used (that is, without Jumper JMP1 installed), ensure that the applied external voltage does not exceed +30VDC.
The table below details the GPI/O A pin assignments, settings, and functions.
WARNING
Failure to properly configure the GPIO Port can result in damage to the printer and/or connected devices.
| GPI/O Port A Jumper Overview | |||||
Pin | Signal Name | Direction [1] | Jumper | Position | Function / Description |
| 1 | Ground | JMP 8 | Installed | Printer chassis is used. | |
| Removed | Ground must be supplied. | ||||
| 2 | +5 VDC | N/A | JMP 9 | Installed | Printer +5VDC is used (.5 amp maximum) þ Note: Drawing more than .5 amps can cause unreliable printer operation. |
| Removed | +5VDC must be supplied. | ||||
| 3 | Start Of Print [2] | Input | N/A | N/A | Programmable [3] |
| 4 | Slew Label | Media is advanced until the signal goes HIGH and, if not in continuous mode, the label is positioned at the next available TOF. | |||
| 5 | Toggle / Pause | The printer pauses when the signal is taken LOW. | |||
| 6 | Reprint | The last label is reprinted exactly, with no increment or timestamp changes; recommended for use during error conditions. Keeping this signal LOW produces non-stop printing. | |||
| 7 | +24 VDC | N/A | Printer +24 VDC (1.5 amp maximum). | ||
| 8 | Ground | Printer chassis. | |||
| 9 | Ribbon Low | Output | JMP 1 | When inactive, outputs will be pulled up to a voltage determined by this jumper setting, where: § Pins 1 – 2 = +5VDC; | Programmable [1]. Signifies a RIBBON LOW DIAMETER warning condition. |
| 10 | Service Required | Evoked by occurrences listed under ‘Fault Messages.’[1] Active LOW. | |||
| 11 | End Of Print | Programmable [1]. Signifies the End of Print (EOP) process. | |||
| 12 | Media Out | Evoked during an Out of Stock condition. Active LOW. | |||
| 13 | Ribbon Out | Evoked during an Out of Ribbon condition. Active LOW. | |||
| 14 | Data Ready | Evoked when a label is waiting to print. After the Start of Print is received, printing will begin. For synchronization with the print cycle, End Of Print indicates the completion of the process. Active LOW. | |||
| 15 | Option Fault | Evoked during a Linear Scanner or RFID fault condition. Active LOW. | |||
[1] Signal directions are given relative to the printer.
[2] If active with no current print job, “WAITING FOR DATA” will be displayed. Specifying a quantity of 9999 while keeping this signal ON will cause non-stop label printing, except in single label “Imaging Mode”, which will cause the printer to stop between labels. See the Operator’s Manual for details.
[3] For details see PRINTER OPTIONS / GPIO PORT in the Operator’s Manual.
► GPI/O B (J2)
Six unassigned inputs are designed to interface to open-collector outputs. These inputs require no external pull-ups while blocking diodes allow the use of totem pole outputs from +4.5 VDC to + 26 VDC. Optical isolators provide galvanic isolation. Two print control interface circuit examples are given below.
For direct inputs:

Use the printer’s +5VDC to supply the devices interfacing to the GPI/O B inputs (as shown in the sample circuit, right).
For isolated inputs:
To provide galvanic isolation for the GPI/O B inputs, remove Jumper JMP 11 then supply an external +5VDC source voltage to Pin 1, and remove Jumper JMP 10 then supply an external Ground to Pin 6 (as shown in the sample circuit, right).
Six unassigned outputs have slew-limited signal-edge rise and fall times to prevent cross-talk in the cabling. Optional 10K ohm pull-up resistors, one for each of the output lines, can be used at either +5 or +24 VDC via Jumpers JMP 2 – 7.
Note: If external pull-ups are employed (that is, when Jumpers JMP 2 – 7 are not installed), ensure that the applied external voltage does not exceed +30VDC.
The table below details the GPI/O B pin assignments, settings, and functions.
WARNING
Failure to properly configure the GPIO Port can result in damage to the printer and/or connected devices.
| GPI/O Port B Overview | ||||
Pin | Signal Name / Direction [1] | Jumper | Position | Function / Description |
| 1 | +5 VDC | JMP 11 | Installed | Printer +5VDC is used (.5 amp maximum). Note: Drawing more than .5 amps can cause unreliable printer operation. |
| Removed | +5VDC must be supplied. | |||
| 2 | Input 6 | N/A | N/A | Programmed input function. |
| 3 | Input 3 | N/A | N/A | Programmed input function. |
| 4 | Output 6 | JMP 7 | Installed: Pins 1 – 2 | Programmed output function pulled up to +5VDC. |
| Installed: Pins 2 – 3 | Programmed output function pulled up to +24VDC. | |||
| Removed | An external voltage via external pull-ups will determine this level, not exceeding +30VDC. | |||
| 5 | Output 3 | JMP 4 | Installed: Pins 1 – 2 | Programmed output function pulled up to +5VDC. |
| Installed: Pins 2 – 3 | Programmed output function pulled up to +24VDC. | |||
| Removed | An external voltage via external pull-ups will determine this level, not exceeding +30VDC. | |||
| 6 | Ground | JMP 10 | Installed | Printer chassis is used. |
| Removed | Ground must be supplied. | |||
| 7 | Input 5 | N/A | N/A | Programmed input function. |
| 8 | Input 2 | N/A | N/A | Programmed input function. |
| 9 | Output 5 | JMP 6 | Installed: Pins 1 – 2 | Programmed output function pulled up to +5VDC. |
| Installed: Pins 2 – 3 | Programmed output function pulled up to +24VDC. | |||
| Removed | An external voltage via external pull-ups will determine this level, not exceeding +30VDC. | |||
| 10 | Output 2 | JMP 3 | Installed: Pins 1 – 2 | Programmed output function pulled up to +5VDC. |
| Installed: Pins 2 – 3 | Programmed output function pulled up to +24VDC. | |||
| Removed | An external voltage via external pull-ups will determine this level, not exceeding +30VDC. | |||
| 11 | +24 VDC | N/A | N/A | Printer +24 VDC (1.5 amp maximum). |
| 12 | Input 4 | N/A | N/A | Programmed input function. |
| 13 | Input 1 | N/A | N/A | Programmed input function. |
| 14 | Output 4 | JMP 5 | Installed: Pins 1 – 2 | Programmed output function pulled up to +5VDC. |
| Installed: Pins 2 – 3 | Programmed output function pulled up to +24VDC. | |||
| Removed | An external voltage via external pull-ups will determine this level, not exceeding +30VDC. | |||
| 15 | Output 1 | JMP 2 | Installed: Pins 1 – 2 | Programmed output function pulled up to +5VDC. |
| Installed: Pins 2 – 3 | Programmed output function pulled up to +24VDC. | |||
| Removed | An external voltage via external pull-ups will determine this level, not exceeding +30VDC. | |||
► COM C (J4)
Recognized by the printer as Serial Port C, COM C functions as an auxiliary RS-232 interface or dedicated device port for the RFID and Linear Scanner options. Pin
assignments for the port are as follows:
Pin Number | COM C (J4) |
| 1 | +5V (@ .5 amps) |
| 2 | RX |
| 3 | TX |
| 4 | DTR |
| 5 | Ground |
| 6 | Ground |
| 7 | RTS |
| 8 | CTS |
| 9 | N/C |
At default settings, the COM C port automatically selects its function. To force a selection, however, change the jumper settings as denoted in the table below:
| COM C Jumper Setting Functions | ||||
| Selected Function | Jumper and Setting | |||
| JMP 12 | JMP 13 | JMP 14 | JMP 15 | |
| RS-232 Communications (default) | On | On | On | On |
| RFID | Off | On | On | On |
| Linear Scanner | On | Off | On | On |
Note: Jumper settings override menu settings: If set for RS-232 (default) with the RFID and Linear Scanner menu-enabled, the printer will assign RFID to Serial Port B (backplane port J13) and the Linear Scanner to the COM C port.
► COM D (J3)
Recognized by the printer as Serial Port D, COM D is an auxiliary RS-232 interface.
Pin assignments for the port are as follows:
Pin Number | COM D (J3) |
| 1 | +5V (@ .5 amps) |
| 2 | RTS |
| 3 | Ground |
| 4 | TX |
| 5 | RX |
| 6 | Ground |
| 7 | CTS |
| 8 | DTR |
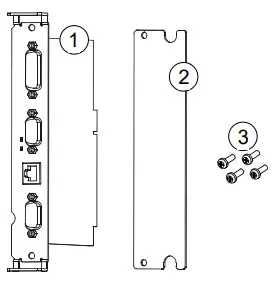
Step 2: Installing the Option
Install the GPIO Card as described below:
A) Turn OFF the Power Switch and unplug the power cord from the AC Receptacle.

B) Remove the two Screws that secure the Back Panel to the Card Cage, and then remove the Back Panel.

C) Slide the GPIO Card (Item 1), Notch down, into the leftmost Card Cage Slot. Firmly push the GPIO Card to seat it and then secure the card using the two Screws (Item 3).

D) Place the Cover Plate (Item 2) onto the Card Cage, as shown, then install and tighten the two Screws (Item 3) to secure the plate.

Step 3: Interfacing
Interface the card according to your application requirements (see the drawing below for connector pin-outs, refer to Step 1 for signal details) as follows:

A) For GPIO functions connect a GPI/O interface cable to the GPI/O A (J1) and/or GPI/O B (J2) ports.
B) For RS232 communications connect a serial interface cable to COM C (J4) and/or COM
D (J3); for dedicated devices, connect the cabling from that device to COM C (J4).
Note: If using both the RFID and Linear Scanner, see Configuring Hardware Settings, above.
C) Connect the AC power cord to the printer and then turn the power switch ON.
Step 4: Configuring the Software Settings
Configure the printer’s menu settings for the option’s operation.
A) Using the Control Panel, enter the ADVANCED MENU (see the Operator’s Manual for menu navigation details):
- If using the GPIO A (J1) port, configure the settings to meet the requirements of your system using the PRINTER OPTIONS → GPIO PORT → APPLICATOR menu selection;
- If using the GPIO B (J2) port, refer to your MCL documentation;
- If using the COM C (J4) port for serial communications, configure it to meet the requirements of your host system’s serial port settings using the COMMUNICATIONS → SERIAL PORT C menu selection; or, If using the COM C (J4) port for a dedicated device, enable that device using the PRINTER OPTIONS menu selection; and,
- If using the COM D (J3) port for serial communications, configure the port to meet the requirements of your host system’s serial port settings using the COMMUNICATIONS → SERIAL PORT D menu selection.
B) After entering the desired settings exit the menu system and save your changes. The printer is now ready to operate using the GPIO option.
Verifying Setup and Operation
Verification of the settings and active monitoring is provided:

- Indicators – View incoming (IN) and outgoing (OUT) signal activity via the card bracket. Sampled every millisecond, these LED indicators change color as incoming or outgoing GPIO signals change state.
- Input Monitor → Display incoming GPIO binary signal states using the ADVANCED MENU → DIAGNOSTICS → OPTIONS TESTING → TEST GPIO → MONITOR GPIO INPUT selection.

Note: Unused, non-connected inputs will have an indeterminate state, and may assume a value of 1 or 0.
- Output Monitor – Display outgoing GPIO binary signal states using the ADVANCED MENU → DIAGNOSTICS → OPTIONS TESTING → TEST GPIO → MONITOR GPIO OUTPUT selection.

Note: Unused, non-connected outputs will have an indeterminate state, and may assume a value of 1 or 0.
- GPIO Report – Print the configuration and current signal state information using the ADVANCED MENU / DIAGNOSTICS / OPTIONS TESTING / TEST GPIO / PRINT SIGNAL INFO selection:


















