kapok UC0507 USB C to Dual HDMI Adapter

Product Introduction
The multi-functional USB-C hub adds multiple connections to your Macbook and other USB-C laptops just by using one USB-C port. It features 2xHDMI, DP, VGA, 3xUSB2.0 slots to your computer. It’s your all-in-one solution to connect all your peripherals, support plug and play.
Structure Diagram

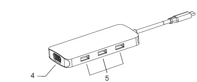
1
2- DP
- VGA
- USB2.0

Feature
- HDMI 1 video output:
- 4Kx2K 60Hz/ 3840×2160 (work separately while source is DP1.4)
- 4Kx2K 30Hz/ 3840×2160 (work separately while source is DP1.2)
- HDMI 2 video output: Up to 4Kx2K 30Hz/ 3840×2160 max.
- DP: 4Kx2K @60Hz/ 3840×2160
- VGA: Up to 1080P 60Hz
- 3x USB-A 2.0
Up to 480Mbps data speed. Design for the connection of 2.4 GHz wireless devices, such as wireless keyboards/mouse adapters etc.
Connection

Graphics Settings for Windows 10
- Clone Mode
Right click desktop >Graphics Settings > Display

- Extended Desktop(NOT supported by APPLE)
Right click desktop >Graphics Settings >Display

Graphics Settings for Mac
- Mirror Display
Apple logo>System Preferences >Displays

- Extend Display
Apple logo>System Preferences >Displays

FAQ
A. Why is there no video output?
- Please make sure the USB-C port of your devices (Laptop/Tablet) support video output.
- Please check if the cable is well connected.
- Please use the standard HDMI cable.
- Windows computer with Intel graphics card only supports two external monitors at most.
B. Why is there no audio output from HDMI?
- Please make sure your monitor support audio output function.
- Please set the external monitor as default audio output device.
C. What should I do if the display screen drops after connecting a large current HDD/SSD?
Please connect your laptop charger/adapter to the USB-C PD charging port of product.
D. Why does the output not reach 4K 60Hz?
- Please make sure your monitor support 4K 60Hz.
- Please make sure the video source is 4K 60Hz.
- Please make sure to use the 2.0 or higher version HDMI cable.
- Please make sure your computer specification support DP1.4 signal output.

HIGH-DEFINITION MULTIMEDIA INTERFACE
The terms HDMI, HDMI High-Definition Multimedia Interface, and the HDMI Logo are trademarks or registered trademarks of HDMI Licensing Administrator, Inc.



























