MOULTRIE MFG-15041 Ranch Series Auger Feeder Kit

Instructions for Ranch Series Auger Feeder Kit
Thank you for your purchase of a Moultrie Ranch Series Auger Feeder Kit. Please read this sheet before operating the unit. If you should have any questions about this product or any other Moultrie product, please contact us using the information on the back of this sheet. Allow us to better serve you by activating your 1-year warranty online at http://www.moultriefeeders.com/warranty .

ASSEMBLE AUGER FEEDER KIT

- Remove all hardware from packaging.
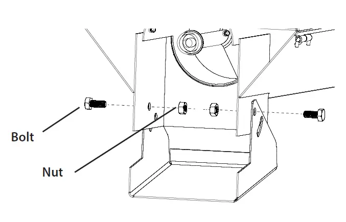
- From the inside of your feeder hopper, install (3) M6 bolts, fitted with washers, through the mounting bolt holes on the bottom. Do not thread anything onto the bolts,
this will be the mounting hardware for the assembled auger kit.
NOTE: Remove the rubber grommet in bottom of hopper cone to avoid interfering with the grommet on the Auger Kit. - On the right side of the auger kit, remove the access door by unscrewing the (2) Phillips head screws.
The door will drop straight down after screw removal. - Remove the carabiner clip and rotate the main door downward to begin mounting the auger kit to your hopper.

- With the main door open and the access door removed, lift the auger kit up to the hopper, inserting the mounting hardware from STEP 2 through the 3 mounting holes on top of the auger kit.
Be sure that the main door is oriented to be at the front of the feeder, indicated by the stamping on the Hopper Cone.
Secure the Auger kit to the mounting hardware from STEP 2 using (1) flat washer and (1) hex nut per bolt (3). (10mm wrench)
Re-install the access door by sliding it vertically back into its original location.
While holding the door in place, insert the screw on the right-hand side first to help align the top screw. Tighten both screws until they are snug, but DO NOT OVER TIGHTEN or you will strip the threads.
Using the carabiner clip you removed earlier, close and secure the main door of the auger kit to get it out of the way for installing the feed chute.
INSTALL FEED CHUTE AND BATTERY
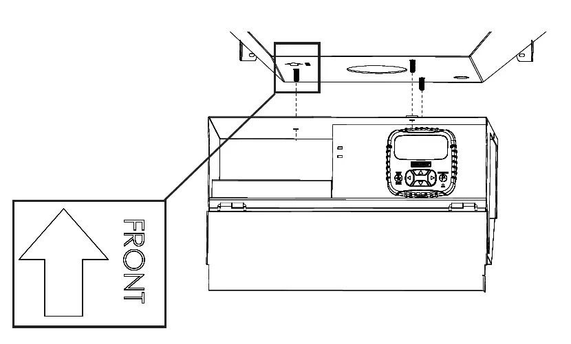
- Place the “feed chute” mounting flanges over the square outlet on the bottom of the auger kit, aligning all 4 bolt holes.

- From the outside of the auger kit, insert (1) bolt through each of the (2) top holes in the feed chute. From the inside, secure with a hand-tight hex nut.

- Following the same procedure from Step 2, insert (1) bolt fitted with a washer, through both feed chute adjustment slots. Secure with a hand-tight hex nut.

- To set the angle for the feed chute:
Rotate the chute to the desired angle, tighten the (2) washer bolts to lock the chute to that position, tighten the (2) top bolts to fully secure the feed chute.
- We recommend a Moultrie 12V 7ah Rechargeable Battery MCA-13093.
THE RED CABLE CONNECTS TO THE POSITIVE (+) BATTERY TERMINAL
THE BLACK CABLE CONNECTS TO THE NEGATIVE (-) BATTERY TERMINAL
If not attaching a solar panel, connect to battery with tabs pointed downward.
Note: Make sure the rubber protectors are around the wire connectors after installation onto the battery and that the wire connectors are firmly seated on the battery posts and have a snug fit. This helps protect the connectors from touching which can cause damage.
- Insert the battery into the battery compartment of your feeder, ensuring the battery terminals and/or connectors do not contact the side of the auger kit. See image for suggested battery orientation.

CAUTION: DO NOT REVERSE POLARITY OF THE BATTERY LEADS. DO NOT LET THE BATTERY LEADS COME IN CONTACT WITH ONE ANOTHER WHILE CONNECTED TO A BATTERY. DO NOT LET THE BATTERY TERMINALS CONTACT THE SIDE OF THE FEEDER KIT. THIS CAN CAUSE PERSONAL INJURY OR PROPERTY DAMAGE. IN NO EVENT SHALL PRADCO BE LIABLE FOR ANY DIRECT, INDIRECT, PUNITIVE, INCIDENTAL, SPECIAL CONSEQUENTIAL DAMAGES, TO PROPERTY OR LIFE, WHATSOEVER ARISING OUT OF OR CONNECTED WITH THE USE OR MISUSE OF THIS PRODUCT.
YOUR USE OF THIS PRODUCT IS AT YOUR OWN RISK.
FCC COMPLIANCE
This device complies with part 15 of the FCC Rules.
Operation is subject to the following two conditions:
- This device may not cause harmful interference, and
- This device must accept any interference received, including interference that may cause undesired operation.
For devices approved under Part 15, the user’s manual or instruction manual for an intentional or unintentional radiator shall caution the user about changes or modifications to the device (Section 15.21).
NOTE: This equipment has been tested and found to comply with the limits for a Class B digital device, pursuant to part 15 of the FCC Rules. These limits are designed to provide reasonable protection against harmful interference in a residential installation. This equipment generates, uses and can radiate radio frequency energy and, if not installed and used in accordance with the instructions, may cause harmful interference to radio communications. However, there is no guarantee that interference will not occur in a particular installation. If this equipment does cause harmful interference to radio or television reception, which can be determined by turning the equipment off and on, the user is encouraged to try to correct the interference by one or more of the following measures:
- Reorient or relocate the receiving antenna.
- Increase the separation between the equipment and receiver.
- Connect the equipment into an outlet on a circuit different from that to which the receiver is connected.
- Consult the dealer or an experienced radio/TV technician for help.
CONFIGURING AND TESTING FEEDER
- INSTALL BATTERY: Open Kit by removing carabiner clip and rotate the main door downward. Install a 12V 7ah battery (Moultrie rechargeable battery MCA-13093) by attaching the Red Wire Connector to the positive (+) terminal and the Black Wire Connector to the negative (-) terminal, making sure that the leads do not touch.
Note: Make sure the rubber protectors are around the wire connectors after installation onto the battery and that the wire connectors are firmly seated on the battery posts and have a snug fit. This helps protect the connectors from touching which can cause damage.
CAUTION: DO NOT REVERSE POLARITY OF THE BATTERY LEADS. DO NOT LET THE BATTERY LEADS COME IN CONTACT WITH ONE ANOTHER WHILE CONNECTED TO A BATTERY. DO NOT LET THE BATTERY TERMINALS CONTACT THE SIDE OF THE FEEDER KIT. THIS CAN CAUSE PERSONAL INJURY OR PROPERTY
DAMAGE. IN NO EVENT SHALL PRADCO BE LIABLE FOR ANY DIRECT, INDIRECT, PUNITIVE, INCIDENTAL, SPECIAL CONSEQUENTIAL DAMAGES, TO PROPERTY OR LIFE, WHATSOEVER ARISING OUT OF OR CONNECTED WITH THE USE OR MISUSE OF THIS PRODUCT. YOUR USE OF THIS PRODUCT IS AT YOUR OWN RISK. - SET CURRENT TIME: Press the PROGRAM button and SET CURRENT TIME will appear. Press UP or DOWN to set the hour, then press RIGHT to go to the minutes. Press UP or DOWN to set the minutes. Press the BACK button to return to the Main Menu , or press PROGRAM to proceed through the settings.
NOTE: The timer is capable up to 10 feed times, each 1-60 seconds each, and each can operate on any day of the week where each day can be toggled ON/OFF. - SET CURRENT DAY: Press the PROGRAM button until the Set Current Day screen appears. Press LEFT or RIGHT to select the current day. Press BACK to return to the Main Menu, or press PROGRAM to proceed through the settings.
- SET EST. FEED REMAINING: Press the PROGRAM button until the Est. Feed Remaining screen appears. Press UP or DOWN to select the amount of feed you have in the feeder. Press BACK to return to the Main Menu, or press PROGRAM to proceed through the settings.
- SET FEED TIME: Press the PROGRAM button until the desired Feed Timer appears at the top of the screen. Press the DOWN button until the feed time is flashing. Press PROGRAM to enter edit mode. Press UP or DOWN to set the hour. Press the RIGHT button to go over to the minutes. Press UP or DOWN to set the minutes. Press PROGRAM or BACK to return to the Feed Timer. The factory settings include two feeder times 7am and 6pm, each for 6 seconds.
- SET DAYS OF THE WEEK: After setting the feed time, press UP so the days of the week start flashing. Press PROGRAM to enter edit mode. By default all days should be enabled. Press LEFT or RIGHT to highlight the desired day. Press DOWN to disable the selected day. Press UP to re-enable the selected day. Once all desired days are selected, press PROGRAM or BACK to return to the Feed Timer.
- SET RUN DURATION: Press DOWN and LEFT until the RUN DURATION seconds are flashing. Press PROGRAM to enter edit mode. Press UP or DOWN to set desired feed duration. Press PROGRAM or BACK to return to the Feed Timer.
- SET MOTOR SPEED: Press UP or DOWN until the motor speed setting is flashing at the bottom of the screen. Press PROGRAM to enter edit mode. Press RIGHT or LEFT to select the desired motor setting. Press PROGRAM or BACK to return to the Feed Timer.
When the Feed Timer is blinking at the top of the screen, press PROGRAM or RIGHT to advance to the next feed timer. Repeat for all required feed times. - TEST FEEDER: Press the BACK button to reach the Main Menu. Press the TEST button to enter the Test Mode. The Test Duration will appear (this will be the same as the duration as Feed Timer 1). Press UP or DOWN to set the Test Duration. Press PROGRAM. Press RIGHT or LEFT to select desired motor speed. Press PROGRAM to perform test.
After a 5 second countdown, the test will commence.
Using the carabiner clip you removed earlier, close insecure the main door of the auger kit.
Your Auger kit is now ready for operation.
Set your desired feed schedule using the included timer and begin feeding.

Our Service Department will gladly answer any questions you have. www.moultriefeeders.com/support




























