Ranch Series Gravity Feeder Kit
Instruction Manual
MFG-15047 Ranch Series Gravity 300
Thank you for your purchase of a Moultrie Ranch Series Gravity Feeder Kit. Please read this sheet before operating the unit. If you should have any questions about this product or any other Moultrie product, please contact us using the information on the back of this sheet. Allow us to better serve you by activating your 1-year warranty online at http://www.moultriefeeders.com/warranty .
ASSEMBLE FEEDER KIT
- Remove all hardware from packaging.

- From the inside of your feeder hopper, install (3) M6 bolts, fitted with washers, through the mounting bolt holes on the bottom. Do not thread anything onto the bolts at this time, this will be the mounting hardware for the gravity kit.

- Fit the Extension Tube to the top of the gravity head, aligning the 3 bolt holes.

- From the outside of the extension tube, Insert the (3) M6 bolts through the holes from Step 3. Secure with the supplied hex nuts on the inside of the tube. Once all three bolts are in place and hex nuts are finger tight, fully tighten with 10mm wrench.
ONLY TIGHTEN AFTER ALL 3 BOLTS ARE INSTALLED (10mm wrench)
- Following the same procedure from Step 4, attach the Mounting Plate (ribs facing downward) to the top of the Extension Tube.
ONLY TIGHTEN AFTER ALL 3 BOLTS ARE INSTALLED (10mm wrench)
- The kit is now ready to be installed to your hopper. Align the pre-installed mounting studs from Step 2 with the (3) holes in the mounting plate, then secure the kit using (3) Flat Washers and (3) Hex Nuts.
ONLY TIGHTEN AFTER ALL 3 BOLTS ARE INSTALLED (10mm wrench)

ASSEMBLE THE HOPPER
- Remove all hardware from packaging.

- Gather all 4 hopper panels and the hopper cone.
Place the cone on its side, with the front arrow pointing either Left or Right. Attach both face panels to the cone using (4) M6 Short Boltsand (4) M6 Lock Nut. Hand tighten only.
Place a face panel on top of the cone and overlapping the side panels. Align the bolt holes in the cone with the (2) lower holes in the face panel. Secure using (2) Short M6 Bolts and (2) M6 Lock Nuts. Hand tighten only.
Flip the hopper over and install the remaining face panel following the same procedure above.
OPTIONAL: (2) Solar Panel Mounts are included with the kit. Install during this step if you choose to use them.
(Not included with Gravity Kit)
Stand the hopper upright with the cone flat on the floor. Align the bolt holes in the top (4) corners. Secure with (4) Short M6 Bolts and (4) M6 Lock Nuts. Hand tighten only.
- Place the (4) leg brackets against the corner bracket mounting holes as shown, align the holes and insert (2) short M8 bolts from the outside of each leg bracket into the hopper. Secure with a hand-tight M8 lock nut on each bolt (8).

- Go back and tighten all previously installed bolts. M6 bolts will require a 10mm wrench, M8 bolts (leg bracket) will require a 13mm wrench.
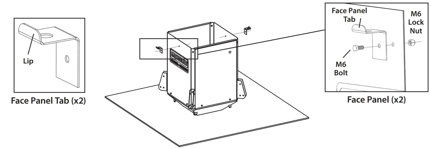
Note: Do not overtighten. - Install the Face Panel Tabs (2) to both the face panels, using a short M6 bolt and a lock nut.
Tighten with a 10mm wrench. The “lip” should point upwards to create a hanger for the lid handle while filling feeder.
ASSEMBLE & INSTALL THE LEGS
- Collect all 4 Top-Leg sections. Insert each section into a leg bracket. Set the leg angle to either 0° or 15° (15º recommended for most installations).
Secure each with (2) long M8 bolts and (2) M8 lock nuts. Tighten using a 13mm wrench.
- Insert the remaining leg sections into the (4) top-leg sections.
Tap firmly on the end of the legs when joining leg sections; this will help to keep them locked together.
INSTALL FEEDER KIT ONTO HOPPER
See additional feeder kit instructions for installation.
INSTALL INTERNAL FUNNEL
After installing your feeder kit onto your hopper, insert the internal funnel into the hopper, letting the self-alignment ring lock it into place at the bottom of the hopper cone.
NOTE: Make sure internal funnel is fully seated at hopper exit, and placed at the very bottom of the hopper. Funnel alignment is critical to proper feeder operation.
ASSEMBLE & INSTALL THE LID
- Install the Lid Tabs (2) to the mounting holes on the lid by inserting a short M6 bolt from the INSIDE of the lid and securing with a lock nut tightened with a 10mm wrench. These will enable you to lock your feeder lid using most standard locks.

- Place the lid assembly on top of the feeder with the tabs aligned.
The handles should be on the sides of the feeder.
Our Service Department will gladly answer any questions you have.
www.moultriefeeders.com/support
11292022 / MFG-15042 • MFG-15045 • MFG-15047







Place a face panel on top of the cone and overlapping the side panels. Align the bolt holes in the cone with the (2) lower holes in the face panel. Secure using (2) Short M6 Bolts and (2) M6 Lock Nuts. Hand tighten only.
Flip the hopper over and install the remaining face panel following the same procedure above.
























