CORN FEEDER
OWNER’S MANUAL
ASSEMBLY AND OPERATING IN STRUC TIONS
SAVE THIS MANUAL FOR FUTURE REFERENCE
Models FDR0350AS & FDR0600AS
NOTICE TO INSTALLER:
LEAVE THESE INSTRUCTIONS WITH THE FEEDER OWNER FOR FUTURE REFERENCE.
IMPORTANT SAFETY WARNINGS
WE WANT YOU TO ASSEMBLE AND USE YOUR FEEDER AS SAFELY AS POSSIBLE.
THE PURPOSE OF THIS SAFETY ALERT SYMBOL
IS TO ATTRACT YOUR ATTENTION TO POSSIBLE HAZARDS AS YOU ASSEMBLE AND USE YOUR FEEDER.
WHEN YOU SEE THE SAFETY ALERT SYMBOL, PAY CLOSE ATTENTION TO THE INFORMATION WHICH FOLLOWS!
READ ALL SAFETY WARNINGS AND INSTRUCTIONS CAREFULLY BEFORE ASSEMBLING AND OPERATING YOUR FEEDER.
WARNING
- You should never attempt to assemble this feeder alone. We recommend having a minimum of at least two adults for the assembly of this feeder. Failure to follow these instructions may result in serious injury or death.
- This feeder must be placed on firm and level ground. Before filling the feeder, we recommend installing ground stakes (not included) through the holes located in the feet.
- Refer to the drawings in this manual for visualization of the assembly process in addition to reading the instructions.
- Some parts may contain sharp edges. Wear appropriate clothing and gloves during assembly.
- Do not fill feeder under and/or during bad weather such as storms, snow, lightning, or thunderstorms. Failure to follow these instructions may result in serious injury or death.
- Do not sit or stand on or inside the hopper.
- Do not fill feeder until it is completely assembled and standing up in place.
- Make sure hands and arms are out of the way of the feeder body and lid when filling the feeder. Failure to follow these instructions may result in serious injury.
- BEFORE STANDING UP THE FEEDER, YOU MUST:
- Check all hardware to be sure it is in place and tightened.
- Check all bolts and nuts to be sure they are secure and tight.
IMPORTANT! The manufacturer of this feeder is not responsible for any inaccurate information you have received regarding state feeding regulations. Please always keep your information up-to-date and reliable. Many state laws change and are
amended without notice. Always double check your state and specific county feeding laws regarding the use of feeders. - Contact your local or state wildlife agency if you have any questions concerning feeding wildlife.
USE CAUTION AND COMMON SENSE WHEN OPERATING YOUR FEEDER.
FAILURE TO ADHERE TO SAFETY WARNING AND GUIDELINES IN THIS MANUAL COULD RESULT
IN BODILY INJURY OR PROPERTY DAMAGE.
SAVE THIS MANUAL FOR FUTURE REFERENCE.
ASSEMBLY INSTRUCTIONS
READ ALL SAFETY WARNINGS & ASSEMBLY INSTRUCTIONS CAREFULLY BEFORE ASSEMBLING OR OPERATING YOUR FEEDER.
FOR MISSING PARTS, PLEASE CALL CUSTOMER SERVICE AT 855-735-9922.
Inspect contents of the box to ensure all parts are included and undamaged.
We recommend two people work together when as sem bling this unit.
The following tools are required (not included) to assemble this Corn Feeder:
- Pliers
- Phillips & Flathead Screwdrivers
- Adjustable Wrench
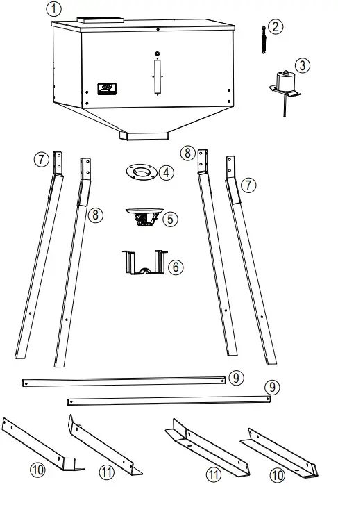
Part Contents:
- 1 Hopper
- 1 Spring Latch
- 1 Motor Assembly
- 1 Funnel Plate
- 1 Spinner Plate Assembly
- 1 Spinner Bracket
- 2 Front Right and Rear Left Legs
- 2 Front Left and Rear Right Legs
- 2 Leg Braces
- 2 Front Skids
- 2 Rear Skids

Component Pack Contents:
Choose a good, cleared assembly area and get a friend to help you put your feeder together. Lay card board down to protect feeder finish and assembly area.
Step 1
Install 2 AA batteries in back of timer. Set aside for later use.
Step 2
Lay hopper on its side and attach motor assembly to bottom of hopper using two M6 x
12 mm hex bolts. Connect motor assembly to battery wire in plastic conduit.
Note: Feed wire connectors inside plastic conduit.
Step 3
Attach funnel plate to bottom of hopper using four M6 x 8 mm bolts.
Note: Take extra care to protect solar panel when laying hopper on lid.
Step 4
Slide spinner plate assembly onto motor shaft and secure with one M6 x 12 mm hex bolt. Align bolt with flat section of motor shaft.
Note: Make sure spinner plate has a 1/8 inch gap between the plate and funnel plate. (See illustration)
Step 5
Slide spinner bracket onto shaft and secure with four M6 x 12 mm hex bolts and washers.’
Step 6
Attach legs to hopper using sixteen M6 x 15 mm hex bolts and washers.
Note: Make sure the holes in the bottom of the legs are oriented with the sides of the hopper as shown.
Step 7
Attach leg braces to front legs and rear legs using four M6 x 75 mm hex bolts, eight washers and four M6 lock nuts.
Step 8
Attach front and rear skid sections together using four M6 x 15 mm hex bolts, eight washers and four M6 lock nuts.
Step 9
Attach skids to the bottom of the legs using four M6 x 50 mm hex bolts, eight washers and four M6 lock nuts. With the help of others, turn the feeder to the upright position.
Step 10
Attach spring latch to front of hopper using one M6 x 15 mm bolt, washer (outside hopper) and one rubber washer, washer and M6 lock nut (inside hopper).
Step 11
Slide component cover back and insert 12 volt battery (not included) and timer. 
Step 12
Connect wire (from motor) to timer plug wire and insert plug into timer.
Attach red piggyback connector from timer to red connector from solar panel together.
Then attach black piggyback connector from timer to black connector from solar panel together.
Attach red connectors to (+) positive terminal on battery and attach black connectors to (-) negative terminal on battery.
CORN FEEDER ASSEMBLED

OPERATING INSTRUCTIONS
PLACE THE FEEDER OUTDOORS ON A HARD, LEVEL SURFACE IN AN AREA THAT IS PRO TECT ED FROM THE WIND.
READ ALL SAFETY WARNINGS AND INSTRUCTIONS CAREFULLY BEFORE OPERATING YOUR FEEDER..
Instructions
- The proper spacing between the spinner plate and the funnel plate should be around 1/8 inch. This is very important for service free operation.
- To test your feeder, follow the instructions on the back of the timer.
Proper Care & Maintenance
How to Load Your Feeder:
- Open the lid and pour feed into the hopper. After filling, carefully close the lid and install the latch.
- What kind of feed to use – whole kernel corn is recommended. Corn mixed with soybeans, pelleted feed, and milo is also effective for attracting deer and other wildlife.
Note: When not mixed with corn, some types of pelleted feed can take on moisture and clog the feeder.
How to Install Your Battery:
- Slide the door open and install a 12 volt battery (not included). The red clip goes to the (+) positive terminal and the black clip goes to the (-) negative terminal.
Troubleshooting
How to Operate the Timer:
- Read the instructions located on the back of the timer.
- Inspect feeder for any loose parts or hardware.
- If rust appears on the exterior surface of the feeder, clean and buff the affected areas with a stiff bristle brush or steel wool. Then, touch-up the area with a good quality paint.
- Always store excess feed indoors and check the quality of the feed before pouring it into feeder.
- Make sure feeder is empty before testing.
- Check the battery level showing on the timer display. If the battery is showing 2 bars or less, it needs to be replaced. You can also use a volt meter to check the voltage.
- Check the solar panel using a volt meter to ensure the solar panel is reading more than 12 volts when in full direct sunlight.
- If your battery is fully charged, you can check if the motor is working properly. Directly connect the motor to the battery using the spare wire. Connect the wire ends to each battery terminals, if the motor is working, the spinner plate will spin immediately.
- If your battery, solar panel and motor are working properly the issue will be the timer. The timer should be replaced.

1-YEAR LIMITED WARRANTY
For 1-year from date of purchase, The Boltz Group warrants the Corn Feeder against defects due to workmanship or materials to the original pur chaser.
The Boltz Group’s obligations under this warranty are limited to the following guidelines:
- This warranty does not cover feeders that have been altered/modified or damaged due to: normal wear, rust, abuse, improper maintenance and/or improper use.
- This warranty does not cover surface scratches or sun damage to the finish, which is considered normal wear.
- The Boltz Group may elect to repair or replace damaged units covered by the terms of this warranty.
- This warranty extends to the original purchaser only and is not trans fer able or assignable to subsequent purchasers.
The Boltz Group requires reasonable proof of purchase. Therefore, we strongly recommend that you retain your sales receipt or invoice. To obtain replacement parts for your Corn Feeder under the terms of this warranty, please call Customer Service Department at 855-735-9922 for a Return Authorization Number and further instructions. A receipt or proof of purchase will be required. The Boltz Group will not be responsible for any feeders forwarded to us without prior authorization.
EXCEPT AS ABOVE STATED, THE BOLTZ GROUP MAKES NO OTHER EXPRESS WARRANTY.
THE IMPLIED WARRANTIES OF MERCHANTABILITY AND FITNESS FOR A PARTICULAR PURPOSE ARE LIMITED IN DURATION TO 1-YEAR FROM THE DATE OF PURCHASE. SOME STATES DO NOT ALLOW LIM I TA TIONS ON HOW LONG AN IMPLIED WARRANTY LASTS, SO THE ABOVE LIMITATION MAY NOT APPLY TO YOU.
ANY LIABILITY FOR INDIRECT, INCIDENTAL OR CONSEQUENTIAL DAMAGES ARISING FROM THE FAILURE OF THE CORN FEEDER TO COMPLY WITH THIS WARRANTY OR ANY IMPLIED WARRANTY IS EXCLUDED. CUSTOMER ACKNOWLEDGES THAT THE PURCHASE PRICE CHARGED IS BASED UPON THE LIMITATIONS CONTAINED IN THE WARRANTY SET OUT ABOVE. SOME STATES DO NOT ALLOW THE EXCLUSION OR LIMITATION OF INCIDENTAL OR CONSEQUENTIAL DAMAGES, SO THE ABOVE LIMITATION OR EXCLUSION MAY NOT APPLY TO YOU. THIS WARRANTY GIVES YOU SPECIFIC LEGAL RIGHTS, AND YOU MAY ALSO HAVE OTHER RIGHTS WHICH VARY FROM STATE TO STATE.
OM0350AS
1122
©2022 The Boltz Group LLC.
Carrollton, Texas 75006 U.S.A.
www.evenembers.com
Owner’s Manual for Models
FDR0350AS & FDR0600AS
















