Inovys II Passive Wheelchair
User Manual
Preface
Congratulations! You are now owner of a Vermeiren wheelchair!
This wheelchair is made by qualified and committed personnel. It is designed and produced according to high quality standards guarded by Vermeiren.
Thank you for your trust in the products of Vermeiren. To support you on the use of this wheelchair and its operating options, this manual is offered. Please read it carefully; it will help you to get familiar with the operation, capabilities and limitations of your wheelchair.
If you still have questions after reading this manual, do not hesitate to contact your specialist dealer. He/she will be glad to help you.
Important note
To ensure your safety and to prolong the lifetime of your product, please take good care of it and have it checked and/serviced on a regular basis.
The warranty on this product is based on normal use and maintenance as described in this manual. Damage to your product caused by improper use or lack of maintenance will cause the warranty to lapse.
This manual reflects the latest product developments. Vermeiren has the right to implement changes to this type of product without any obligation to adapt or replace similar products previously delivered.
Pictures of the product are used to clarify the instructions in this manual. Details of the depicted product may deviate from your product.
Information available
On our website http://www.vermeiren.com/ you will always find the most recent version of the information in this manual. Please consult this website regularly for possible updates.
Visually impaired people can download the electronic version of this manual and have it read out by means of a text-to-speech software application.
User manual
For user and specialist dealer
Installation manual
For specialist dealer
Service manual for wheelchairs
For specialist dealer
Your product
1.1 Description
This Inovys II wheelchair is easy to operate and can be used indoors as well as outdoors. It is foldable which makes it very compact to store. The wheelchair is available in multiple sizes and is easily expandable with optional parts to enhance user’s comfort.
The following picture shows all parts that are relevant to the user. In the operation and maintenance section, these parts are described if applicable.
Before using your wheelchair, check the technical details and limits of intended use, see chapter 5.

| 1. Headrest (optional) 2. Backrest 3. Arm pad 4. Leg rest (2x) 5. Footplate (2x) | 12. Rear wheel (2x) 13. Hand rim (2x) 14. Push handle with handgrip (2x) 15. Headrest support (optional) |

16. Seat
17. Side panel (2x)
18. Push bar
19. Tip cap (2x)
20. Location of identification plate
1.2 Accessories
Following accessories are available for the Inovys II:
- Wooden table (B12)
- Headrest (L55, L58)
- Personal safety belt (B58)
- Horizontal wedge (B22)
- Hemiplegic armrests (B66)
For more information, please consult your specialist dealer.
Before use
2.1 Intended use
In this paragraph a brief description of the intended use of your wheelchair is given. Additionally, relevant warnings are added to the instructions in the other paragraphs. In this way we would like to make you aware of the possible misuse that may appear.
- This wheelchair is suitable for indoor and outdoor use.
- This wheelchair is designed and produced solely to transport one (1) person with a maximum weight, according to the configuration of the technical specifications in § 5. It is not designed to transport goods or objects, nor for any other use as previously described.
- Depending on the type of wheels on your wheelchair, it can be operated by an attendant or by the user sitting in the wheelchair. You should NOT use this wheelchair without attendant if you suffer from physical or mental impairments that may put you, or other people, in danger when riding the wheelchair. For this reason, consult your doctor first and make sure that your specialist dealer is informed about his advice.
- Only use accessories and spare parts approved by Vermeiren.
- Please read all technical details and limits of your wheelchair in § 5.
- The warranty of this product is based on normal use and maintenance as described in this manual. Damage to your product caused by improper use or lack of maintenance will cause the warranty to lapse.
2.2 General safety instructions
CAUTION
Risk of injuries and/or damage
Please read and follow the instructions in this manual. Otherwise you may get injured or your wheelchair may get damaged.
Keep the following general warnings in mind during use:
- Do not use your wheelchair if you are under influence of alcohol, medicines or other substances that may influence your riding abilities. This also counts for your attendant operating the wheelchair.
- Be aware that some parts of your wheelchair may get very hot or cold due to ambient temperature, solar radiation or heating devices. Be careful when touching. Wear protective clothing if the weather is cold. When going outdoors, riding gloves can be used to improve the grip on the hand rims.
- Take note of the instructions for care and service. The manufacturer is not liable for damage caused by improper servicing / care.
Be aware that your wheelchair may interfere with some types of anti-theft systems, depending on the settings used. This may cause the shop’s alarm to go off.
In case a serious incident has occurred involving your product, notify Vermeiren or your specialist dealer as well as the competent authority in your country.
2.3 Symbols on the wheelchair
The symbols in following list are applicable to your wheelchair. Symbols can be found in the relevant ISO standard (ISO 7000, ISO 7001 and IEC 417).
| Maximum weight of the user in kg | |
| Outdoor/indoor use (battery and power adapter excluded) | |
![]() | For indoor use only (battery and power adapter) |
| Maximum safe slope in ° (degrees). | |
| Not intended to be used as seat in a motor vehicle | |
| Type designation |
2.4 Transport and (dis)assembly
2.4.1 Moving out of the way
Move the wheelchair by using its wheels and roll it to the destination.
If this is not possible, and disassembling is not desired, ask help to lift the wheelchair. Firmly grasp the frame with both hands and lift it from the floor. Do not use foot or arm rests, or wheels to grasp the wheelchair.
2.4.2 Transport by vehicle
WARNING
Risk of injuries
*Never use the same safety belt for passenger and wheelchair.
- Disassemble and lift the wheelchair in the vehicle according to the instructions in §2.4.4.
- Store the wheelchair and its parts in the luggage compartment. If luggage and passenger compartments are NOT separated or enclosed, fasten the wheelchair frame securely to the vehicle.
You can use a ramp to push the wheelchair inside the vehicle, see 3.5.4. Apply the parking brakes after loading, see §3.1.
2.4.3 Use of the wheelchair as seat in a motor vehicle
WARNING
Risk of injuries
- The wheelchair has passed the crash test of ISO 7176-19: 2008 and, as such, has been designed and tested for use only as forward-facing seat in a motor vehicle. Ease of access to, and maneuverability in, motor vehicles can be significantly affected by wheelchair size and turning radius.
- The wheelchair’s pelvic belt alone is not suited as an occupant restraint belt.
- Use the wheelchair’s pelvic belt and the applicable three-points belt in the vehicle to prevent head and chest impacts with the vehicle.
- Do not use postural supports to restrain the user in the vehicle unless they are labelled as being in accordance with the requirements specified in ISO 7176-19:2008.
- Following involvement in any type of vehicle collision, have your wheelchair inspected by the specialist dealer or manufacturer’s representative before reuse.
The wheelchair is tested using the four-point strap-tie system and a 3-point occupant-restraint system.
Whenever feasible, use the seat of the vehicle and store the wheelchair in the cargo area.
Steps to secure the wheelchair in a motor vehicle:
- Check that the vehicle is equipped with a suitable wheelchair tie down and occupant-restraint system, conform ISO 10542.
- Check that the components of the wheelchair tie down and occupant restraint system are not frayed, contaminated, damaged or broken.
- If equipped with an adjustable seat and/or back tilt, make sure that the wheelchair user is sitting as upright as possible. If the user’s condition prevents this, a risk assessment should be done to evaluate the user’s safety during transit.
- Remove all mounted accessories such as trays and respiratory equipment, and secure them in a safe place.
- Position the wheelchair facing forward in the travelling direction, centrally between the tiedown rails mounted in the floor of the vehicle.
- Mount the front securement straps according to the instructions of the strap-system manufacturer at the indicated place (figure 1). This place is marked on the wheelchair with a symbol (figure 1).
- Roll back the wheelchair until the front straps are tight.
- Apply the wheelchair brake.
- Mount the back securement straps according to the instructions of the strap-system manufacturer at the indicated place (figure 1). This place is marked on the wheelchair with a symbol (figure 2).

Steps to secure the wheelchair user:
- Remove both armrests (if possible).
- If present, attach the wheelchair’s pelvic belt.
- Attach the occupant restraint belts according to the instructions of the strap-system manufacturer.
- Wear the pelvic belt low across the front of the pelvis, so that the angle of the pelvic belt is within the preferred zone of 30° to 75° to the horizontal, similar to that shown in the figure.

- A steeper (greater) angle within the preferred zone is desirable.
- Adjust the belt tightly according to the instructions of the strap-system manufacturer, consistent with the user’s comfort.
- Ensure that the restraint belt connects in a straight line to the anchor point in the vehicle and that no bends in the belt are visible, for instance at the axle of the rear wheel.
- Install the armrests, if desired. make sure that belts are not twisted or held away from the body by wheelchair components such as armrests or wheels.
- Position the seatbelt buckle so that the release button will not be contacted by wheelchair components during a crash.
- Make sure that the shoulder-belt restraints fit over the shoulders, see figure 4.
![]() | ![]() |
| Belt restraints must not be held away from the body by wheelchair components such as armrests or wheels. | Belt restraints make full contact with shoulder, chest and pelvis. Pelvic belt low on the pelvis near the thigh-abdominal junction |
2.4.4 Assembly
CAUTION
Risk of injuries or damage
- Make sure that your fingers, clothes, buckles won’t get trapped during assembly.
- Always keep the swing range of the footrest in mind to prevent bystanders from being injured or objects from being damaged.
- Before use, always make sure that all assembled parts have been firmly secured.

![]() | |
| • Place the wheelchair with four wheels on the ground. • Fold the backrest frame (34) open. | • Mount the front of the spring to the backrest frame with the fastener pin (33) and lock its brace. • Make sure that the backrest frame is firmly secured to the spring. |
![]() | |
| • Hang the backrest with its four screws in the four brackets (35) of the backrest frame. • Tighten the two upper star buttons (36) by hand. • Make sure that the backrest is firmly secured. | • Turn the star knob (37) of the armrest support anticlockwise and remove it. • Insert the armrest (9) in the armrest support. • Insert the star knob (37) and turn it clockwise until it is finger-tight. • Make sure that the armrest is firmly secured. • Repeat this for the second armrest. |
![]() | |
| • Hold the leg rest (5) sideways and hang it in the footrest support (39). Make sure that the leg rest hole (44) fits over the lower support part and that the leg rest pin (38) is inserted in the top support. • Swing the leg rest (5) inwards until it clicks in position. • Repeat for the second leg rest. | • Swing the footplate (6) downwards. • Repeat for the second footplate. |
![]() | |
| • Swing the calf rest support (40) inwards. • Turn the calf rest (8) to the back. • Repeat this for the second calf rest. | • (If applicable) mount the headrest (1) with the square tube in the headrest support (41) on the backrest. • Turn the star knob (42) finger tight. |
Your wheelchair is now ready for use.
2.4.5 Disassembly
CAUTION
Risk of injuries or damage
- Make sure that your fingers, clothes, buckles won’t get entrapped during disassembly.
- Always keep the swing range of the footrest in mind to prevent bystanders from being injured or objects from being damaged.
![]() | |
| • Apply both parking brakes by operating the brake lever (10), see §3.1. | • Close the calf rest (8) and turn the calf rest support (40) outwards. • Repeat this for the other calf rest. • Fold both footplates (6) upwards. |
![]() | |
| • Pull the leg rest lever (50) and swing theleg rest (5) outwards. • Lift the leg rest to remove it. • Repeat this for the other leg rest. | • Turn the star knob (37) anticlockwise. • Pull and hold the star knob while pulling the armrest (9) out of the armrest support. • Retighten the star knob (37). |
![]() | |
| • (If applicable) demount the headrest (1): o Loosen the star knob (42) of the headrest suppport and remove it. o Pull the headrest up until it is free from the support on the backrest. | • Loosen the two upper star buttons (36) of the backrest by hand. • Pull the backrest upwards until it is released from the four brackets (35). |
![]() | |
| • Demount the spring from the backrest frame by opening the brace of the fastener pin (33) and removing it. | • Fold the backrest frame (34) down onto the seat. • Place the fastener pin (33) back in the frame. |
2.4.6 (Dis)Assembling rear wheels (only for 22”/24”):
For transport purposes, it might be necessary to (dis)assemble the rear wheels.
Removing the rear wheels:
- Press and hold the button (43) while sliding the wheel axle out of the axle bushy.
- Repeat this for the other wheel and place the wheelchair gently on the tipping caps.

Installing the rear wheels:
- Take one of the rear wheels and lift the wheelchair on one side.
- Press and hold the button (43) while sliding the wheel axle in the axle bushy.
- Release the button to lock the wheel.
- Repeat this for the other wheel. Make sure that both wheels are firmly secured.
2.5 First use and storage
CAUTION
Risk of battery damage
- Make sure that your wheelchair is stored dry to prevent mould to grow and damage the upholstery.
- Check the technical details for storage, see chapter 5.
Using your wheelchair
WARNING
Risk of injuries
- irst read the previous chapters and inform yourself about the intended use. Do NOT use your wheelchair unless you have read and fully understood all instructions.
- In case of doubts or questions, do not hesitate to contact your local specialist dealer, your care provider or technical adviser to help you.
3.1 Parking brakes (only for 22”/24” wheels)
CAUTION
Risk of injuries
- Only operate the brake lever when your wheelchair is stopped.
- An attendant should operate the brake lever if you have impaired mobility.
- Make sure the wheelchair is on a flat horizontal surface before releasing the brakes.
- Never release both brakes simultaneously.
- Brakes may only be adjusted by your specialist dealer.
CAUTION
Risk of damage
- Do not use the parking brakes to slow the wheelchair down during movement.
Your wheelchair is equipped with two manually-operated parking brakes. These brakes are intended to prevent movement of the wheelchair when parked.
Releasing brakes [A]:
- With one hand, hold one hand rim tight (or your attendant holds the push bar with one hand).
- Pull the brake lever (10) of the OTHER wheel to the REAR.
- Repeat this for the second wheel and parking brake.

Applying brakes [B]:
- With one hand, hold one hand rim tight (or your attendant holds the push bar with one hand).
- Push the brake lever (10) of the OTHER wheel to the FRONT until you feel a distinctive lock.
- Repeat this for the second wheel and parking brake.
3.2 Drum brakes (only for 16” fixed wheels)
CAUTION
Risk of injuries
- Make sure that the wheelchair is on a flat horizontal surface before releasing the brakes.
- Never release both brakes simultaneously.
- To park or stop on a slope, use the parking brakes after coming to a halt.
- Brakes may only be adjusted by your specialist dealer.
To operate the drum brakes:
- Pull the brake levers (60) in a squeeze motion.
- Each brake lever (60) can be blocked by pushing the lock lever (61) down with your finger.
- Release the brake levers (60).

To move/ride again:
- Pull the brake levers (60) in a squeeze motion. The lock lever (61) is release by this movement.
- Hold the handgrips firmly, while releasing the brake levers (60).
3.3 Moving to/from wheelchair
CAUTION
Risk of injuries or damage
- In case you cannot perform the transfer in a safe manner, ask someone to assist you.
- Do not stand on the footplates during transfer into or out of the chair.
Transfer
- Position the wheelchair as close as possible to you when sitting in your chair, couch, seat or bed.
- Apply both parking brakes to block the movement, see §3.1.
- Move the backrest and seat to sitting position, see §3.4.1.
- Fold the footplates upwards to prevent standing on them, or turn the leg rests aside to free the passage for transfer.
- If necessary, remove the armrest and/or leg rest on one side (see §3.4).
- Transfer to/from the wheelchair using the strength of your arms, or with the help of an attendant or lifting equipment.
- Sit down on the seat with your lower back against the backrest.
- Reinstall the armrest and/or leg rest, if removed.
- Turn the leg rests back to the front, fold down the footplates and put your feet on the footplates.
- Make sure that your upper legs are horizontal and that your feet are in a comfortable position; adjust the wheelchair according to the instructions in § 3.4.
3.4 Comfort adjustments
CAUTION
Risk of injuries or damage
- The following comfort adjustments can be made by an attendant or caretaker. All other adjustments are done by your specialist dealer.
- Always keep the swing range of the footrest in mind to prevent bystanders from being injured or objects from being damaged.
- Make sure that your fingers, clothes, buckles won’t get trapped during adjustment.
3.4.1 Backrest and seat inclination
CAUTION
Risk of injuries or damage
- Be aware that the stability decreases when the wheelchair is moved from sitting upright to inclined position.
- Apply the parking brakes before adjusting the backrest and seat inclination.
The seat inclination and backrest inclination can be adjusted simultaneously or separately by an attendant. Make sure that the patient sits in the chair when the attendant adjusts the backrest inclination and that the wheelchair does not tip over.
Seat inclination:
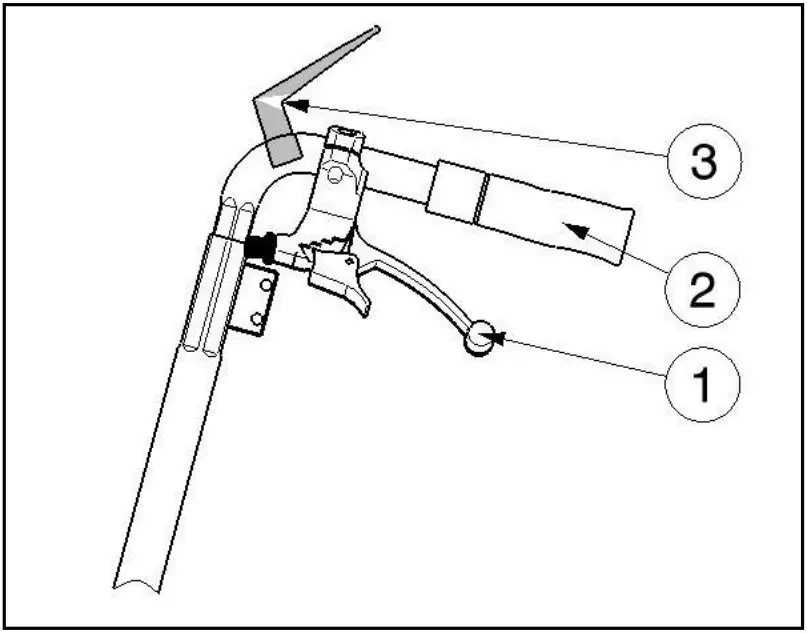
Squeeze the lever (1) on the left handle (see label) towards the handle to adjust the seat inclination.- Pull/Push the seat in the desired position (0° to + 21°), the gas pressure spring shall be pressed in/out.
- Loosen the lever (1) to block the gas pressure spring.
Backrest inclination:
Squeeze the lever (1) on the right handle (see label) towards the handle to adjust the angle of the backrest.- Pull/Push the backrest in the desired position (0° to + 54°), the gas pressure spring shall be pressed in/out.
- Loosen the lever (1) to block the gas pressure spring.
If your wheelchair features drum brakes, the levers (1) are used as brakes; additional levers (3) have been mounted to adjust the backrest and seat inclination.

3.4.2 Armrest height
The arm pads (3) of the wheelchair can be adjusted in 6 different height positions:
- Turn the star knob (45) anticlockwise to unlock.
- Pull and hold the star knob to release the inner tube of the armrest (9).
- Slide the inner tube of the armrest (9) up/down in the support (46) until the desired height. Make sure that the holes on the inner/outer tube align.
- Retighten the star knob (45) by turning it clockwise.
- Repeat this for the second armrest. Make sure that the armrests is firmly secured.

3.4.3 Push handles / push bar height
CAUTION
Risk of injuries
Always use the available adjustment holes on the push handle. Never exceed the maximum height adjustment.
The push handles (16) and push bar (23) are connected and can be adjusted in 7 different height positions:
- Loosen both star knobs (31) on the handle supports and remove them.
- Adjust the height of both push handles simultaneously by sliding them up/down in the supports. Make sure that the holes on the inner/outer tube align.
- Insert the two star knobs (31) in the supports and the adjustment holes.
- Turn the star knobs clockwise until they are finger-tight.
- Make sure that the push handles are firmly secured.

3.4.4 Leg rest angle (BZ7-BZ8)
- Loosen the lever (62) at the rotation point.
- Adjust the angle of the leg rest by lifting/lowering the footplates (between 100° – 190°).
- Retighten the lever (62) firmly by hand.
- Repeat this for the second leg rest. Make sure that both leg rests are firmly secured.

3.4.5 Tip cap height
- Press and hold the spring button (63).
- Slide the tip cap tube (64) in/out of the frame tube.
- Release the spring button.
- Repeat this for the second tip cap. Make sure that both tip caps are firmly secured.

3.5 Riding
Depending on your medical condition and type of wheelchair, you can ride the wheelchair yourself or have it pushed by an attendant.
CAUTION
Risk of entrapment
- Prevent your fingers from being caught by the wheel spokes.
- Prevent getting your hands trapped on the hand rims when riding through small passages.
- When driving with an attendant, keep your arms away from the wheels and keep your feet on the footplates.
CAUTION
Risk of injuries and damage
- Do NOT drive on slopes, obstacles, steps or kerbs larger than the size described in the technical specifications in chapter 5.
- Do not proceed with your wheelchair in traffic. Always stay on the pavement.
- Do not operate the hand rims with wet hands.
- Pay attention if the road has holes or gaps that may cause entrapment of the wheels.
- Avoid stones and other objects that may block the wheels.
- Always keep the swing range of the footrest in mind to prevent bystanders from being injured or objects from being damaged.
- Before every usage, make sure that:
- all adjustments are firmly secured, see §3.4.
- the parking brakes are working properly.
- the tires are in good condition, see §4.
3.5.1 Riding with an attendant
- Release the brakes or have them released by the attendant, while he/she is holding the wheelchair to prevent movement, see §3.1 or §3.2.
- The attendant grasps the handgrips or push bar to push the wheelchair in the desired direction.
- After stopping, apply the brakes while holding the wheelchair in place, see §3.1 or §3.2.
3.5.2 Riding on your own
- Release the parking brakes one by one, see §3.1.
- Move your hands to the highest position on both hand rims.
- Lean forward and push/turn the hand rims forward until your arms are straight.
- Swing your arms loosely back to the topside of the hand rims and repeat the push movement.
- To stop: wait until the wheelchair stops and move forward/backward by operating the hand rims. Apply the parking brakes one by one, see §3.1.
3.5.3 Riding on slopes
CAUTION
Risk of injuries
- If the attendant has too little strength to control the wheelchair, stop riding and use the brakes immediately.
- When you stop on a (small) slope, use your brakes, since the wheelchair may start moving unexpectedly.
- Secure yourself in the wheelchair with a safety belt.
- Ask an attendant or a bystander to help you.
- Drive slowly and in a straight line. Lean slightly forward (A/B) when going up the slope. Lean backwards, against the backrest, when going down the slope.
- Never reverse on a slope.

3.5.4 Using ramps
CAUTION
Risk of injuries caused by tipping over
- Only use ramps approved by Vermeiren and do not exceed their maximum load.
- Make sure that the wheelchair does not touch the ground or ramp due to the inclination of the wheelchair.
- Only negotiate ramps with the help of one or two attendants.
- Adjust the position of backrest, seat and footrest to decrease the volume taken by the wheelchair and to increase the stability during inclination.
- Remove the footrests, see §2.4.5.
- Follow the instructions in §3.5.3.
3.5.5 Using stairs
CAUTION
Risk of injuries caused by tipping over
- Stairs should always be negotiated with the help of two attendants.
- Never try to use stairs that are not appropriate for wheelchairs.
To use the stairs while sitting in your wheelchair, the following instructions should be followed:
- Remove the footrests, see §2.4.5.
- One attendant tips the wheelchair slightly backwards by the handles.
- The second attendant grabs the wheelchair at the front of the frame, on both sides of the wheelchair.
- Stay calm, avoid sudden movements and keep your arms inside the wheelchair.
- Both attendants lift and pull the wheelchair from step to step while the rear wheels roll over the steps.
- After using the stairs, mount the footrests back in place, see §2.4.4.

3.5.6 Coping with obstacles
CAUTION
Risk of injuries caused by tipping over
- Always ask assistance of one or two attendant (s).
- Make sure that the footplates won’t touch ground while taking an obstacle. If necessary, remove the footrests.
- Do not use your wheelchair on an escalator.
- If available, wear your safety belt.
Small kerbs (up or down)
These can be taken forward (E / F) with one attendant:
- The attendant moves the wheelchair forward approaching the kerb. Make sure the footplates won’t touch the kerbs.
- Lean backwards to reduce the pressure on the front wheels.
- The attendant holds the handles firmly while moving forward. If necessary he uses the tip cap to keep the front wheels lifted until they have passed the kerb rim.
- The attendant releases the pressure on the handles and tip cap to gently put the front wheels on the ground.
- Next, he holds the handles firmly while pushing the wheelchair with the rear wheels up/down the kerb.

Medium kerbs (up or down)
These should be taken backwards with one attendant:
- The attendant reverses the wheelchair so that rear wheels approach the kerb first (G / H).
- Going down: Lean forward (G) to move your centre of gravity to the front.
Going up: Lean backward (H) to move your centre of gravity to the back. - The attendant pulls the wheelchair gently from/on the kerb.

Higher kerbs
Higher kerbs, but below maximum size, see §5, should be taken with help of two attendants.
Going down:
- Remove the footrests.
- The attendant moves the wheelchair forward approaching the kerb.
- Lean backwards to reduce the pressure on the front wheels.
- The attendant holds the handles firmly and uses the tip cap to keep the front wheels lifted till they have passed the kerb rim.
- The second attendant grabs the front of the frame and moves backwards while pulling the rear wheels down the kerb.
- The first attendant releases the pressure on the handles and tip cap to put the front wheels on the ground.
Going up:
- Remove the footrests.
- The first attendant reverses the wheelchair so that rear wheels approach the kerb first.
- Lean backward to move your centre of gravity to the back.
- The second attendant grabs the front of the frame and moves forward while pulling/pushing the rear wheels on the kerb.
The first attendant lifts and holds the handles firmly to prevent the wheelchair from tipping over.
Maintenance
Your wheelchair requires minimum maintenance, but it is advisable to inspect the wheelchair regularly in order to drive trouble-free for years.
4.1 Points of maintenance
CAUTION
Risk of injuries and damage
Repairs and replacements may only be undertaken by trained persons and only genuine replacement parts of Vermeiren should be used.
The last page of this manual contains a registration form for the specialist dealer to record each service.
The service frequency depends on the frequency and intensity of use. Contact your dealer to agree to a common timetable for inspection/maintenance/repair.
Before each use
Inspect the following points:
- All parts: Present and undamaged or unworn.
- All parts: Clean, see § 4.2.2.
- Wheels, seat, leg rests, arm rests, foot rests, footplates and headrest (if applicable): Well secured.
- Condition of wheels/tyres, see § 4.2.1.
- Condition of brakes, see § 4.2.1.
- Condition of frame: No deformation, instability, weakness or loose connections
- Seat, backrest, arm pads, leg pads and head rest (if applied): No excessive wear (like dented spots, damage or tears).
Contact your specialist dealer for possible repairs or part replacements.
Yearly or more often
Have your wheelchair inspected and serviced by your specialist dealer, at least once a year, or more often. The minimum maintenance frequency depends on use and should therefore be commonly agreed on with your specialist dealer.
If stored
Make sure that your wheelchair is stored dry to prevent mould from growing and the upholstery from being damaged.
4.2 Instructions of maintenance
4.2.1 Wheels and tyres
Proper working of the brakes depends on the state of the tyres, that can change due to wear and contamination (water, oil, mud, …).
- Keep your wheels free of wires, hair, sand and carpet fibres.
- Check the profile of the tyres. If the tread depth is less than 1 mm, the tyres need to be replaced. Contact your specialist dealer for this matter.
4.2.2 Cleaning
CAUTION
Risk of damage by moisture
- Never use a hose or high-pressure cleaner to clean the wheelchair.
Wipe all rigid parts of the wheelchair with a damp cloth (not drenched). If necessary, use a mild soap, suitable for varnishes and synthetics.
The upholstery can be cleaned with lukewarm water and a mild soap. Do not use abrasive cleaning agents to clean.
4.2.3 Disinfection
CAUTION
Risk of damage
Disinfections may only be undertaken by trained persons. Consult your specialist dealer.
4.3 Troubleshooting
Even if you use your wheelchair properly, a technical problem may occur. In this case, contact your local specialist dealer.
WARNING
Risk of injuries and damage to the wheelchair
- NEVER attempt to repair your wheelchair yourself.
The following symptoms may indicate a serious problem. Therefore, always contact your specialist dealer if you spot any of the following deviations:
- Strange sound;
- Uneven tread wear on one of the tyres;
- Jerky movements;
- Wheelchair deflects to one side;
- Damaged or broken wheel assemblies.
4.4 Expected lifespan
The average lifespan of your wheelchair is 5 years. Depending on the frequency of use, driving circumstances and maintenance, the lifespan of your wheelchair will increase or decrease.
4.5 End of use
At end of life, you need to dispose your wheelchair according to the local environmental legislation. The best way to do so, is to disassemble the wheelchair to facilitate the transport of recyclable parts.
Technical specifications
The technical details below are only valid for this wheelchair, at standard settings and optimal ambient conditions. Take these details into account during use.
The values are no longer applicable if your wheelchair has been modified, damaged or suffers from severe wear.
Table 2: Technical specifications
| Brand | Vermeiren |
| Type | Wheelchair |
| Model | Inovys II |
| Description | Dimensions for all configurations |
| Max. weight of user | 135 kg |
| Static stability downhill | 10° ** |
| Static stability uphill | 15° ** |
| Static stability sideways | 12° ** |
| Obstacle climbing | 60 mm |
| Overall length with footrests (depends on seat-depth adjustment) | 1050 – 1090 mm |
| Dismantled length without footrests (depends on seat depth adjustment) | 830 – 870 mm |
| Effective seat width | 350 mm 400 mm 450 mm 500 mm |
| Overall width (depends on the seat width) | 580 mm 630 mm 680 mm 730 mm |
| Dismantled width (without armrest) | 600 mm 650 mm 700 mm |
| Total height (without headrest) | 990 – 1060 mm |
| Dismantled height (with folded backrest, without armrests) | 710 – 780 mm |
| Seat plane angle | 0° – +21° |
| Effective seat depth | 460 – 520 mm |
| Seat surface height at front edge (with cushion) | 460 – 530 mm |
| Backrest angle | 0° – +54° |
| Backrest height | 550 – 585 mm |
| Distance between footrest and seat | 400 – 570 mm * |
| Angle foot plate | 80° – 100° |
| Angle between seat and footrest | 104° – 194° |
| Distance between armrest and seat | 220 – 320 mm |
| Front location of armrest structure | 460 – 490 mm |
| Description | Dimensions per configuration | ||
| Diameter Rear wheels | 16″ (T30) with drum brakes | 22″ | 24″ |
| Hand rim diameter | NA | NA | 535 mm |
| Footplate width (minimum – maximum) | 44-46 mm | 48-50 mm | 48-50 mm |
| Diameter steering wheels | 200 mm | 200 mm | 200 mm |
| Horizontal location of axle (deflection) | -8 mm – 41 mm | -4 mm – 42 mm | -4 mm – 42 mm |
| Total mass | 44,3 kg | 43,7 kg | 43,9 kg |
| Mass of heaviest part | 32,5 kg | 27,95 kg | 27,95 kg |
| Masses of removable parts Footrests Armrests Rear wheels Backrest | 4,90 kg 3,45 kg NA 3,45 kg | 4,90 kg 3,45 kg 3,90 kg 3,45 kg | 4,90 kg 3,45 kg 4,15 kg 3,45 kg |
| Turning radius (diameter) | 1520 mm | 1620 mm | 1620 mm |
| Strength tests according to | ISO 7176-8 | ||
| Ignitability of upholstery according to | ISO 7176-16 | ||
| Use and storage temperature | + 5 °C ~ + 45°C | ||
| Storage and use humidity | 30% ~ 70% | ||
| We reserve the right to introduce technical changes. Measurement tolerance ± 15 mm /1,5 kg / 1,5°. (*) Do not adjust the footrest in maximum length to prevent the footplate from touching the ground. (**) Tested in standard configuration NA Not applicable | |||
Service registration form
This product (name): …………………………………….. was inspected (I), serviced (S), repaired (R) or disinfected (D):
| By (stamp): Kind of work: I / S / R / D Date: | By (stamp): Kind of work: I / S / R / D Date: | By (stamp): Kind of work: I / S / R / D Date: |
| By (stamp): Kind of work: I / S / R / D Date: | By (stamp): Kind of work: I / S / R / D Date: | By (stamp): Kind of work: I / S / R / D Date: |
| By (stamp): Kind of work: I / S / R / D Date: | By (stamp): Kind of work: I / S / R / D Date: | By (stamp): Kind of work: I / S / R / D Date: |
| By (stamp): Kind of work: I / S / R / D Date: | By (stamp): Kind of work: I / S / R / D Date: | By (stamp): Kind of work: I / S / R / D Date: |
| By (stamp): Kind of work: I / S / R / D Date: | By (stamp): Kind of work: I / S / R / D Date: | By (stamp): Kind of work: I / S / R / D Date: |
Instructions for specialist dealer
This instruction manual is part and parcel of the product and must accompany every product sold.
Version: E, 2022-03
Basic UDI: 5415174 122103Inovys II N9
All rights reserved, including translation.
Vermeiren GROUP
Vermeirenplein 1 / 15
2920 Kalmthout
BE
Website: www.vermeiren.com
DOC-R1132100972965-0000744
Inovys II_EN_A5_2022-03_E

























