GARDENA 8023 82-Feet Retractable Hose Reel

CAUTION!
Read the Operating Instructions before the initial operation.
DANGER!
Physical injury through prestressed springs. The Hose Box may not be opened.
Correct Use
For safety reasons, children and young people under the age of 16, as well as people not familiar with these operating instructions, may not use this product.
Persons with reduced physical or mental capabilities may only use this product when supervised or instructed by an authorized person. Children should be supervised to ensure that they do not play with the product.\ The Hose Box is only suitable for outdoor use.
Contents
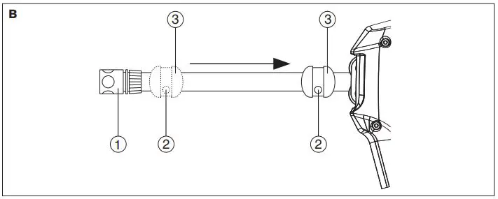
(Fig. A) is not available in Germany If required, the stopper can be shifted (Fig. B):


ATTENTION! To avoid the complete pulling in of the watering hose, never simultaneously release the hose piece 1 and stopper 3. If the hose has been pulled all the way in, please contact GARDENA Service.
- Loosen the 2 screws 2 on stopper 3 with a screwdriver.
- Hold the watering hose securely while shifting, shift the stopper 3, and screw tightly again with the 2 screws 2.
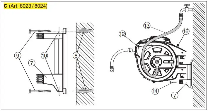
Mount Wall Bracket

The supplied wall plugs are suitable for cement walls (plaster up to 1 cm). For other wall types, special wall plugs must be used.
- Mark holes using the wall bracket 7, drill into the wall with an 8-mm drill and stick in the wall plugs 8.
- Screw the wall bracket 7 with the 4 screws 9 (width across flats 10-mm) and the 4 washers 0.
- Stick the Hose Box B onto the wall bracket 7.
- Secure the Hose Box B with the safety screw D.
- Connect the connecting hose C to the tap.
Operation
Unwind:
- Pull out the hose to the desired length.
The locking device in the Hose Box can be activated in approx. 25- 45 cm distances.
Roll up:
With the nozzle, return to the Hose Box and release the lock through a short tug on the hose. Through a special braking technique, the hose rolls up securely and evenly on its own. The locking mechanism clicks during unwinding and roll-up. When the connecting hose C is removed from the tap, place it onto the anti-drip device F so that no water will drip from the hose.
Transport position

Connect the connecting hose C to the anti-drip device F.
Storage/overwintering:
Before the onset of the frost period, store the Wall-Mounted Hose Box in a frost-protected place.
Note:
For safety reasons, the hoses may only be replaced by GARDENA Service.
Warranty
GARDENA guarantees this product for 2 years (from the date of purchase). This guarantee covers all serious defects of the unit that can be proved to be material or manufacturing faults. Under warranty, we will either replace the unit or repair it free of charge if the following conditions apply: The unit must have been handled properly and in keeping with the requirements of the operating instructions. Neither the purchaser nor a non-authorized third party has attempted to repair the unit. This manufacturer’s guarantee does not affect the user’s existing warranty claims against the dealer/seller. If a fault occurs with your hose box, please return the faulty unit together with the receipt and a description of the fault, with postage paid to the address of the Service Centre at the back of these operating instructions.
Product Liability
We expressly point out that, in accordance with the product liability law, we are not liable for any damage caused by our units if it is due to improper repair or if parts exchanged are not original GARDENA parts or parts approved by us, and, if the repairs were not carried out by a GARDENA Service Centre or an authorized specialist. The same applies to spare parts and accessories
Germany
GARDENA GmbH Central Service Hans-Lorenser-Straße 40 D-89079 Ulm
Produktfragen: (+49) 731 490- 123
Reparaturen: (+49) 731 490- 290 [email protected]
FAQs
Select a suitable location to mount the hose reel that is at waist height and within 1.2m from the tap so you can easily connect the tap to reel hose to your tap.
Reduces wear: Fluid hoses are typically made of rubber and will wear over time. Allowing vehicles or equipment to roll over the hose will cause damage and premature wear. Using a hose reel will increase the life of the hose in a very significant way and reduce costs of premature replacement of hoses
These reels are rated up to 3500 PSI. It is not recommended to attach a reel to any machine weighing less than two hundred pounds.
High quality hose reel is instantly ready for use in the required hose length push. its button when you’re done and the machine will automatically roll up evenly and securely. no twisting cracking or hands covered in mud King.
Designed for: Fire hose reels are designed to deliver a minimum of 20 liters of water per minute.
The GARDENA 8023 comes with a 82-foot long hose.
The GARDENA 8023 hose can handle a maximum pressure of 150 PSI.
Yes, the GARDENA 8023 retractable hose reel can be mounted on the wall using the included mounting bracket.
Yes, the GARDENA 8023 hose reel is designed to be easy to install and comes with all the necessary hardware and instructions.
The GARDENA 8023 hose reel is designed to work specifically with GARDENA hoses, but it may be compatible with other brands of hoses as well.
Yes, the GARDENA 8023 hose reel has a locking mechanism that allows you to lock the hose at any length.
Yes, the GARDENA 8023 hose reel can be easily removed from the mounting bracket for cleaning or storage.
Yes, the GARDENA 8023 hose reel comes with a 5-year warranty against defects in materials and workmanship.
Video – Product Overview
Download the PDF Link: GARDENA 8023 82-Feet Retractable Hose Reel Operating Instructions


















