
Retractable Hose Reel
10m 1110H / 20m 1120H / 30m 1130H
User Guide
Overview
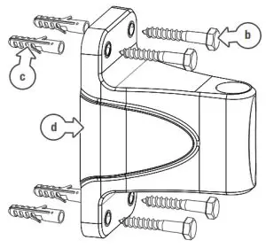
| a. Mounting Tube b. Hexagonal Coach Bolts c. Wall Plugs d. 180° Wall Bracket e. Garden Hose f. Tap-to-Reel Hose | g. Multi-Function Spray Gun h. Housing i. Hose Connectors j. Universal Tap Adaptor k. Stopper l.Inspection opening |

Introduction
Your HOLMAN Retractable Hose Reel uses a 12mm reinforced hose for added strength and durability, rated to 1000kPa, and includes a MULTI- UNCTION SPRAY GUN.
For your information, please read these installation instructions before using your Retractable Hose Reel. Please keep all instructions and refer to them when necessary.
Do not leave the tap on–turn the tap off after use and release excess pressure before retracting back into the housing.
Installation
Your Retractable Hose Reel should be installed nearest to your chosen water source for convenience of use.
- Check the TAP-TO-REEL HOSE can reach your tap prior to installing the WALL BRACKET

- Take the WALL BRACKET and place it against either a wall or wooden post
- Mark inside the centre of each of the bracket holes to prepare for drilling
If you are attaching your Hose Reel to a wooden post, you will not require the WALL PLUGS as the COACH BOLTS can screw directly into the wood. - Use the table below to select the correct drill bit for your Hose Reel
If using plugs that were not included with your Hose Reel, drill slightly undersize as masonry materials all have different properties which will ensure the wall plugs have a secure fit.
- Place the WALL BRACKET in position over the four WALL PLUGS and screw each HEXAGONAL COACH BOLT into your wall or wooden post

- Screw-in each HEXAGONAL COACH BOLT until all four have a secure hold on the bracket against the surface

- Take your Retractable Hose Reel, and remove the securing pin at the base of the MOUNTING TUBE
Remove the MOUNTING TUBE from the Hose Reel and slot it over the WALL BRACKET. Align the holes in the HOUSING with the holes in the WALL BRACKET - Insert the MOUNTING TUBE back into the holes on the WALL BRACKET and HOUSING. Then replace the securing pin in the base of the MOUNTING TUBE

- Connect your TAP-TO-REEL HOSE to your garden tap

Care and Troubleshooting
How far can I pull out the GARDEN HOSE?
You will find an indication sticker 1 meter before the maximum length.
Do not pull the hose past this point.

How do I properly retract the GARDEN HOSE?
When walking the GARDEN HOSE back to the HOUSING, turn off the tap, press the lever on the watering gun to release the water pressure in the ose. This makes the retraction of the GARDEN HOSE a lot easier and prolongs the life of your Hose Reel.
Why is my fully extended GARDEN HOSE not retracting?
If the GARDEN HOSE retraction wheel is stuck and the GARDEN HOSE is fully extended, the wheel still has moved past this point. Grip the ARDEN HOSE close to the guide hole and gently pull.
The retraction wheel will give you enough movement to unlock itself before you slowly allow the auto retraction wheel to wind the GARDEN HOSE back into the unit.
WARNINGS
Do not leave the water turned on with the hose under pressure when not in use.
Always turn the water off and draw the water from the hose after use.
Do not attempt to pull the hose reel apart.
Do not pull the GARDEN HOSE to start retraction and let go of the hose. Always guide the GARDEN HOSE back to the housing.
Do not leave the water turned on with the hose under pressure when not in use.
Always turn the water off and draw the water from the hose after use.
Do not attempt to pull hose reel apart. Á Do not pull the GARDEN HOSE to start retraction and let go of the hose. Always guide the GARDEN HOSE back to the housing.
Spare Parts
Plastic 180º Wall Bracket
Includes 4 x Wall Plugs and 4 x Hexagonal Coach Bolts.

Tap to Reel Hose

Ball Stopper

Mounting Tube
Includes securing pin.
Retractable Hose Reel Lid
(1110PIN, 1120PIN, 1130PIN )
All spare parts are available for 10m, 20m, and 30m Retractable Hose Reels.
Do not dismantle the Hose Reel for additional spare parts. Other internal metal parts can cause injury if tampered with. These parts are not available for replacement.
To order spare parts please call our customer service team on 1300 716 188, or order online: www.holmanindustries.com.au

Warranty
2 Year Replacement Guarantee – Housing Holman offers a 2-year replacement guarantee with this product.
In Australia, our goods come with guarantees that cannot be excluded under the Australian Consumer Law.
You are entitled to a replacement or refund for a major failure and compensation for any other reasonably foreseeable loss or damage. You are also entitled to have the goods repaired or replaced if the goods fail to be of acceptable quality and the failure does not amount to a major failure.
HOUSING As well as your statutory rights referred to above and any other rights and remedies you have under any other laws relating to your Holman product, we also provide you with a Holman guarantee.
Holman guarantees this product against defects caused by faulty workmanship and materials for 2 years of domestic use from the date of purchase. During this guarantee period, Holman will replace any defective product. Packaging and instructions may not be replaced unless faulty. In the event of a product being replaced during the guarantee period, the guarantee on the replacement product will expire 2 years from the purchase date of the original product, not 2 years from the date of replacement.
To the extent permitted by law, this Holman Replacement Guarantee excludes liability for consequential loss or any other loss or damage caused to property of persons arising from any cause whatsoever. It also excludes defects caused by the product not being used in accordance with instructions, accidental damage, misuse, or being tampered with by unauthorized persons, excludes normal wear and tear, and does not cover the cost of claiming under the warranty or transporting the goods to and from the place of purchase. Should you suspect your product may be defective and need some clarification or advice please contact us directly: 1300 716 188
[email protected]
11 Walters Drive, Osborne Park 6017 WA
6 Year Replacement Guarantee – Hose
Holman offers a 6-year replacement guarantee with this product.
In Australia, our goods come with guarantees that cannot be excluded under the Australian Consumer Law. You are entitled to a replacement or refund for a major failure and compensation for any other reasonably foreseeable loss or damage. You are also entitled to have the goods repaired or replaced if the goods fail to be of acceptable quality and the failure does not amount to a major failure.
As well as your statutory rights referred to above and any other rights and remedies you have under any other laws relating to our Holman product, we also provide you with a Holman guarantee. Holman guarantees this product against defects caused by faulty workmanship and materials for 6 years of domestic use from the date of purchase. During this guarantee period, Holman will replace any defective product. Packaging and instructions may not be replaced unless faulty.
In the event of a product being replaced during the guarantee period, the guarantee on the replacement product will expire 6 years from the purchase date of the original product, not 6 years from the date of replacement. To the extent permitted by law, this Holman Replacement Guarantee excludes liability for consequential loss or any other loss or damage caused to property of persons arising from any cause whatsoever. It also excludes defects caused by the product not being used in accordance with instructions, accidental damage, misuse, or being tampered with by unauthorized persons, excludes normal wear and tear and does not cover the cost of claiming under the warranty or transporting the goods to and from the place of purchase.
If you are certain your product is defective and is covered by the terms of this warranty, you will need to present your defective product and your purchase receipt as proof of purchase to the place you purchased it from, where the retailer will replace the product for you on our behalf.

We really appreciate having you as a customer and would like to say thank you for choosing us. We recommend registering your new product on our website. This will ensure we have a copy of your purchase and activate an extended warranty. Keep up to date to with relevant product information and special offers available through our newsletter.

www.holmanindustries.com.au/product-registration/
Thanks again for choosing Holman
For the# SMARTGARDENER




Remove the MOUNTING TUBE from the Hose Reel and slot it over the WALL BRACKET. Align the holes in the HOUSING with the holes in the WALL BRACKET


















