VEVOR 20cm-40cm Retractable Hose Reel

NEED HELP? CONTACT US!
Have product questions? Need technical support? Please feel free to contact us:
[email protected]
This is the original instruction, please read all manual instructions carefully before operating. VEVOR reserves a clear interpretationo four user manual. The appearance of the product shall be subject to the product you received. Please forgive us that we won’t inform you again if there are any technology or software updates on our product.
Introduction
- For your information, please read these installation instructions before using your Retractable Hose Reel. Please keep all instruction sand refer to them when necessary.
Do not leave the tap on–turn tap off after use and release excess pressure before retracting back into housing.
Overview

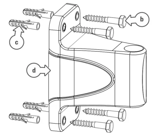
a. Mounting Tube
b. Hexagonal Coach Bolts
c. Wall Plugs d. 180° Wall Bracket
e. Garden Hose
f. Tap-to-Reel Hose
g. Multi-Function Spray Gun
h. Housing
i. Hose Connectors
j. Universal Tap Adaptor (copper joint for US)
k. Stopper
l. Inspection opening
Spare part
- Wall plugs + Hexagonal Coach bolts+ securing pin+ seal ring

- 9 function spray gun

- Mounting Tube

- metal bracket

- plastic bracket

Do not dismantle the Hose Reel for additional spare parts. Other internal metal parts can cause injury if tampered with. These parts are not available for replacement.
Installation
Your Retractable Hose Reel should be installed nearest to your chosen water source for convenience of use.
- Check the TAP-TO-REEL HOSE can reach your tap prior to installing the WALL BRACKET.

- Take the WALL BRACKET and place it against either a wall or wooden post.
- Mark inside the centre of each of the bracket holes to prepare for drilling.
If you are attaching your Hose Reel to a wooden post, you will not require the WALL PLUGS as the COACH BOLTS can screw directly in to wood. - Use the table below to select the correct drill bit for your Hose Reel.
If using plugs that were not included with your Hose Reel, drill slightly undersize as masonry materials all have different properties which will ensure the wall plugs have a secure fit.
It is very important to use the correct size drill bit, so a very secure fit of the wall bracket is made before installing the Retractable Hose Reel. - When ready, drill all four holes, then hammer the WALL PLUGS gently into your wall (if attaching to a wall).


- Place the WALL BRACKET in position over the four WALL PLUGS and screw each HEXAGONAL COACH BOLT into your wall or wooden post.
- Screw in each HEXAGONAL COACH BOLT until all four have a secure hold on the bracket against the surface.

- . Take your Retractable Hose Reel, and remove the securing pin at the base of the MOUNTING TUBE

- Remove the MOUNTING TUBE from the Hose Reel and slot it over the WALL BRACKET. Align the holes in the HOUSING with the hole sin the WALL BRACKET
- Insert the MOUNTING TUBE back into the holes on the WALL BRACKET and HOUSING. Then replace the securing pin in the base of the MOUNTING TUBE.

- Connect your TAP-TO-REEL HOSE to your garden tap.

Product parameter
Retractable Hose Reel | ||||
| Model | HL-XW30 | HL-XW40 | HL-XW30 | HL-XW30 |
| SKU | 07840001 | 07840002 | 07840003 | 07840004 |
| Hose Length | 65ft | 84ft | 100ft | 115ft |
| Hose Outside Diameter | φ18.5mm | φ18.5mm | φ15mm | φ15mm |
| Reel Hose Length | 2m | 2m | 2m | 2m |
| Tap to Reel Hose | 3/4″ copper joint | 3/4″ copper joint | 3/4″ copper joint | 3/4″ copper joint |
| Material of Wall Bracket | Plastic | Metal | Metal | Metal |
| Max Working Pressure | 150psi | 150psi | 150psi | 150psi |
| Rotation Angle | 180° | 180° | 180° | 180° |
| Multi Function Gun | 9 Functions | 9 Functions | 9 Functions | 9 Functions |
| Package Size | 515×300×455mm | 565×300×495mm | 515×300×455mm | 515×300×455mm |
| G.W | 11.0kg | 14.7kg | 12.7kg | 14.0kg |
| Guarantee | 2 Year | 2 Year | 2 Year | 2 Year |
Retractable Hose Reel | ||||
| Model | HL-XW40 | HL-XW20 | HL-XW20 | HL-XW30 |
| SKU | 07840005 | 07840006 | 07840007 | 07840008 |
| Hose Length | 130ft | 20m | 25m | 35m |
| Hose Outside Diameter | φ15mm | φ15mm | φ15mm | φ15mm |
| Reel Hose Length | 2m | 2m | 2m | 2m |
| Tap to Reel Hose | 3/4″ copper joint | 3/4″-1″ Quick Coupling | 3/4″-1″ Quick Coupling | 3/4″-1″ Quick Coupling |
| Material of Wall Bracket | Metal | Plastic | Plastic | Plastic |
| Max Working Pressure | 150psi | 150psi | 150psi | 150psi |
| Rotation Angle | 180° | 180° | 180° | 180° |
| Multi Function Gun | 9 Functions | 9 Functions | 9 Functions | 9 Functions |
| Package Size | 565×300×495mm | 470×260×410mm | 470×260×410mm | 515×300×455mm |
| G.W | 15.8kg | 8.3kg | 9.4kg | 13.4kg |
| Guarantee | 2 Year | 2 Year | 2 Year | 2 Year |
Care and Troubleshooting
How far can I pull out the GARDEN HOSE?
You will find an indication sticker 1 meter before the maximum length.
Do not pull the hose past this point.

How do I properly retract the GARDEN HOSE?
When walking the GARDEN HOSE back to the HOUSING, turnoff the tap, press the lever on the watering gun to release the water pressure in the hose. This makes the retraction of the GARDEN HOSE a lot easier and prolongs the life of your Hose Reel.
Why is my fully extended GARDEN HOSE not retracting?
If the GARDEN HOSE retraction wheel is stuck and the GARDEN HOSE is fully extended, the wheel still has moved past this point. Grip the GARDEN HOSE close to the guide hole and gently pull. The retraction wheel will give you enough movement to unlock it self before you slowly allow the auto retraction wheel to wind the GARDEN HOSE back into the unit.
WARNINGS
Do not leave the water turned on with the hose under pressure when not in use.
Always turn the water off and draw the water from the hose after use.
Do not attempt to pull the hose reel apart.
Do not pull the GARDEN HOSE to start retraction and let goof the hose. Always guide the GARDEN HOSE back to the housing.
EC Importer: WAITCHX
Address: 250 bis boulevard Saint-Germain 75007 Paris
UK Importer: FREE MOOD LTD
Address: 2 Holywell Lane, London, England, EC2A3ET
Manufacturer: Yongkang Haili Industrial Co.,Ltd
Address: No.78 Yuegui South Road, Chengxi Area 321300YongkangCity, Zhejiang Province PEOPLE’S REPUBLIC OF CHINA
Made In China































