jri 03112B Minidisque Remote Recorder

GENERAL DESCRIPTION
MINIDISQUE remote recorders are devices intended to monitor the temperature. They are made up of a neutral gas thermometer and write on a circular diagram with a fibre point pen. The case is made up of a closed body and a perforated rear hood made of white ABS plastic, and includes:
A clockwork movement, a diagram, the measurement’s drive element and the mechanical amplification device as well the interchangeable fibre point pen inscription. The case front panel is a key locked transparent polycarbonate door.

THERMOGRAPH
The temperature probe is made up of a rigid envelope, in a stainless steel tube 10 mm in diameter and a standard length of 100 mm, filled with high pressure nitrogen connected to the recording case by a copper capillary tube with a standard length of 3 m. Other probe and capillary lengths can be used. The capillary can be made of stainless steel. The diagram drive is ensured by
- A standard quartz two-speed clockwork mechanism (1x24h and 7x24h) powered by a standard commercial battery. other types of drives are optionally available,
- Clockwork mechanism powered by an external power source,
- The recording corresponding to the rated time length is done on a complete diagram rotation. Each MINIDISQUE remote comes in a shockproof packaging that includes:
- 1 envelope of 100 diagrams
- 1 fibre point pen per measurement channel
- 1 set of keys
- 1 strap for a protrusive assembly or 1 bracket for a built-in assembly 1 battery (in the self-contained versions)
INSTALLING AND PLACING IN SERVICE
Placing the case
The recorder’s front panel should be placed vertically. It can be tilted backwards, but the angle should not be greater than 30°.
Built-in assembly (see figure chapter 5)
Prepare the embedding cut-out. Enter the body of the appliance into the cut-out after having placed the probe and capillary tube. Place the appliance on the panel; put in place the bracket E, and the two Allen screws C. Tighten them moderately.
Protrusive assembly (see figure chapter 5)
Attach the strap S against the rear side of the case with the two countersunk-head screws (Ø 4, length 10). Attach the appliance to the wall through the two lateral holes in the strap S.
Putting the probe in place
THERMOGRAPH
The capillary, supplied rolled on a circle of about 10 cm should be unrolled in the same plane as the circle and not stretched in a perpendicular direction that would give it a wrenching movement (minimum bending radius 10 mm). The probe is introduced in the medium the temperature of which should be watched over.
The probe should be put in the most suitable place, while avoiding the influence of outside elements (cooling, heat radiation…).
IMPLEMENTATION AND USE
Installing the battery (for the quartz mechanism)
The standard LR6 AA leak proof alkaline battery should be replaced every year.
CAUTION: NEVER REMOVE THE CENTRAL SCREW OF THE KNURLED NUT. To achieve the operation:

- Open the recorder door
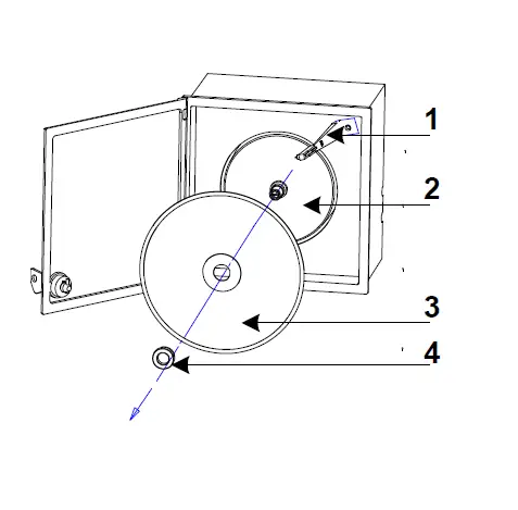
- Lift the pointer (1) so as to release the diagram (3).
- Unscrew the knurled nut (4) and remove the diagram (3).

- Firmly hold the case in one hand and, with the other, pull the mechanism (2) axis toward the outside by alternatively swinging up and down to release it from its base.

- Change the battery located behind the mechanism, replace the mechanism in its case up to the stop. For two-speed versions, the mechanism thus taken out allows access to the speed-changing lever.
- Tighten the nut, the knurled part toward the outside, up to the stop. To set the time, turn the milled axis clockwise by using the end of the fibre point pen as a mark. This direction is imperative to eliminate the looseness in the clockwork mechanism.
Putting the fibre point pen in place
- Lift the plate’s pointer,
- Insert the end of the pointer into the fibre point pen’s slide rail up to the stop.
- Remove the cap by pulling and turning it at the same time.
- Do not place the point of the fibre point pen in contact with the fingers.
Gently place the pointer on the diagram again.
Installing the diagram for a battery operated mechanism
- Release the pointer from the diagram
- Unscrew the knurled nut
- Place the diagram on the drive’s axis
- Insert the diagram under the tabs foreseen to hold it
- Tighten the nut, the knurled part toward the outside, up to the stop.
- Gently bring the pointer on the diagram
Connecting the recorders to an outside power supply
- First check to make sure that the power supply’s voltage complies with specified on the appliance’s rating plate.
- Connect the power supply’s cables with 3 connectors (the green / yellow wire is to be earthen for protection).
- The recorder’s power supply is self-protected, but is not equipped with a power cutting system. A power-breaking device should be included on the power supply line (switch or circuit breaker)
- The device should be placed near the recorder, easily accessible and marked as being the recorder’s power breaker.
THE MECHANISMS POWERED BY THE MAINS ARE NOT EXTRACTABLE.
TECHNICAL PROPERTIES
Thermograph
| Description | Self-contained temperature probe – recorder |
| Number of measurement channels | 1 or 2 |
| Measuring range | 0-100°C, -100+50°C, -90+10°C, -35+15°C, -5+25°C, – |
| (From -100 to +250°C) | 25+25°C, -10+40°C, 0+120°C, +30+130°C |
| Connection | Capillary tube length: standard 3 m (from 1 to 20m) |
| Weight | Approximately 1.8kg |
Thermograph features
| Accuracy | ± 2 % of measuring range at 23° C |
| Number of measuring channels | 1 or 2 |
| Full stroke | 45 mm |
| Viewing | Diagram disk Ø 125 mm |
| Length of recording (period) | 1R / 7 days, 1 R / 24 hours |
| Power supply, self-contained | Battery – LR 6 – 1.5 V, 1 year (AA) |
| Appointed operating conditions | -15° C + 60° C |
| Storage conditions | -35° C + 65° C |
| Size | 144 x 144 x 119 mm |
| Degree of protection | IP 20 |
| Accessories : Diagrams (per 100) | Dxxxxx (see appliance’s label) |
| Fibre point pens (per 5) | S97601 (01 violet, 02 black, 03 red) |
| Fibre point pen’s capacity | About 90 m |
| Optional : Clockwork mechanism powered by an external power source | 230 V AC 50 / 60 Hz 0.015 A 24 V AC |
DIMENSIONS
MAINTENANCE
Only use the diagrams and fibre point pens manufactured by JRI.
- Clean the housing with soapy water and a soft rag.
- Change the battery once a year. Do not leave the battery inside the appliance during prolonged stops.
- To change the accessories, see the following paragraphs:
- Putting the battery in place
- Putting the fibre point pen in place
- Putting in place the diagram for battery mechanism
- Using the mechanical movement
Annual check of the metrological features.
The devices are factory gauged. Any operation on the plate’s pointer can damage the device and thus cancel the manufacturer warranty.

Gently place the pointer on the diagram again.
MAINTENANCE

















