
ROBOT LAVE-VITRE
ROBOTIC WINDOW CLEANER
SCVC24144W
INSTRUCTION MANUAL
IMPORTANT SAFETY INSTRUCTIONS
READ CAREFULLY AND SAVE THESE INSTRUCTIONS FOR FUTURE REFERENCE.
IMPORTANT WARNINGS PLEASE READ THE SAFETY INSTRUCTIONS CAREFULLY BEFORE USING THE APPLIANCE AND KEEP FOR FUTURE
REFERENCE.
Safety instructions :
- The battery must be disposed of safely.
- Do not use next to steps or on balconies. This machine does not have step avoidance sensors.
- This device may be used by people with reduced physical, sensory or mental capacities or lacking experience and knowledge if they have received supervision or instructions regarding the safe use of the device and understand the risks involved. Children must not play with the device.
- This appliance is intended for household use only.
- If the adapter power cord is damaged, the adapter should be discarded.
- Recharge the battery (ies) only with the charger supplied by the manufacturer.
- Use the device only with its battery (ies) specially designed for this purpose. The use of any other battery (s) could cause an explosion or fire hazard.
- Please use an adapter to use this product only.
- Do not use on damp or oily dust.
- Before use, remove fragile objects (glass, light, etc.) and other objects that may entangle the brushes (long hair, plastic bag, rope, wire, etc.).
- Do not sit on the Machine and do not put heavy things on it.
- The device must be unplugged after charging and before performing maintenance on the device.
- The device should not be left unattended while in use.
- The device must not be used if it has been dropped or shows visible signs of damage or if it is leaking.
- Keep the appliance out of the reach of children when it is switched on or cooling down.
- CAUTION: Make sure that the appliance can operate freely in the room (that it is not blocked by an obstacle, that it cannot tip over) and that there are no obstacles on which the device could tip over and create a risk of danger (such as a lighted candle or a vase filled with water).
- Regularly clean the machine. Empty the dust container.
- Empty the dust container.
- Load the machine without using it for three months.
- Only recharge it in the event of a low-power alarm or out voltage. Use it after fully charging it.
- This device contains batteries that cannot be replaced.
- CAUTION: To recharge the battery, use only the removable power supply unit supplied with the device.
- WARNING: Risk of entrapment. Keep loose clothing, hair, fingers, etc. away from brushes and motorized nozzles.
- WARNING: The plug must be removed from the outlet before cleaning or servicing the appliance.
- Recharge the battery/robot only with the adapter supplied with the device.
- The external flexible cable of this adapter cannot be replaced; If the cord is damaged, the adapter should be discarded and replaced with an adapter of the same model.
IMPORTANT
It is forbidden to replace the power cable by yourself. In case of damage, it must be repaired by the after-sales service of the local distributor, by the manufacturer or by a qualified person.
If the device has been dropped, please consult a qualified technician to check it before using it again.
Internal damage could cause accidents.
For any type of problem or repair, please contact the after-sales service of the local distributor, the manufacturer or a qualified person in order to prevent any risk of danger.
Disposal and liability environmental
In order to be environmentally friendly, we encourage you to dispose of this device properly. You can contact local authorities or recycling centers for more information.
Read the instructions carefully before use.
This product complies with the requirements of Directive 2014/35/EU (which repealing Directive 73/23/EEC amended by Directive 93/68/EEC) and 2014/30/EU (repealing Directive 89/336/EEC) .![]()
Product Features

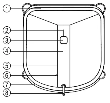
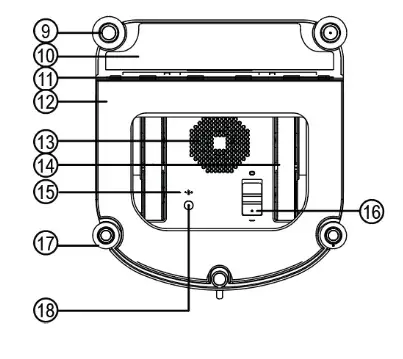
Description of your productc
LITER WASHER ROBOT

- Front bumper
- Status indicator light
- START / PAUSE button
- Handle
- Update port (for after-sales service)
- Soundhole
- Rear bumper
- Power cord
- Edge detectors
- Superior cleaning wipe
- Squeegee
- Bottom cleaning wipe
- Fan
- Drive tracks
- Suction sensor
- On / Off button
- Side rollers
- Status indicator light

Remote control

- Button without function
- Direction control knob
- START / PAUSE button
- Wheel cleaning button
- Cleaning mode button N
- Right part clean button
- Z cleaning mode button
- Repeat cleaning button
Instructions
ORDER THE APPLIANCE
Notes before cleaning
If the device status indicator flashes RED after power on, please connect the power cord to the unit and turn on the device. When the blue light flashes, it means that the backup battery needs to be recharged. To do this: leave the device connected to the mains to recharge the back-up battery until the status indicator remains solid and blue [approximately 2 hours]. (The device also beeps when the battery is charged). The appliance cannot perform cleaning when the RED light is flashing.
![]() | Do not use the device on windows with a frame width less than 5mm. |
| The appliance can clean framed or frameless windows larger than 50 x 50 cm. Do not use the appliance if there is less than 1 cm of space between the glass. | |
| If the glass is covered with dust, clean a small area of the glass before installing and using the appliance. Do not use the appliance on damp or greasy windows. |
GLASS INSTALLATION
Install the appliance on glass at a minimum 10 cm from the angles of the glass or any other obstacle. The device is correctly installed on the glass when the status light is steady and BLUE.
WARNING: make sure to respect a minimum distance of 13 cm between the glass and any type of obstacles such as curtains or furniture.
Steps of use
1st step: spray your cleaning solution on the cleaning wipes. 
Note: Distribute the cleaning solution evenly over the cleaning wipes. To do this, spray the cleaning solution eight times on the upper and lower part of the cleaning wipe and make sure to scratch the wipe well. The white side of the cleaning wipes attaches to the Velcro and the gray microfiber side faces out. Make sure the cleaning wipes do not cover the squeegee or edge sensors.
* The amount of product sprayed can be adjusted depending on the dirt on the glass.
WARNING!
Do not spray the product directly on the window, the window cleaning robot could let go and fall. 2nd step: install the safety cord, adapter and safety suction cup.
![]() | 1. Install the adapter. If the length of the power cord restricts the robot’s movement, use the supplied extension cord. |
![]() | 2. Pass the loop of one end of the safety cord around the end of the machine’s power cord, and then tighten. |
![]() | 3. Connect the end of the adapter (or extension cord) to the end of the appliance cord and tighten. |
![]() | 4. Pass the loop of the other end of the safety cord over the safety suction cup, then tighten by pulling on it. |
![]() | Firmly press the safety suction cup. If the Schneider window cleaning robot is used to clean an interior window: Press firmly on the safety suction cup on the upper corner of the interior window. Make sure that the safety suction cup is in place and firmly attached. If the Schneider window cleaning robot is used to clean an exterior window: Press firmly on the safety suction cup on the inside of the window during cleaning. Make sure that the safety suction cup is in place and firmly attached. |
![]() | Move the power switch down to the “-” position. The robot is powered on when the status light flashes blue. Blue light flashing slowly: the device is charging and will not work. When you move the power switch and the blue light flashes quickly, the device is powered on and ready for use. If the robot is not positioned on the glass within 8 seconds, the suction will decrease and the indicator will flash red. Press the start / pause button on the handle to reactivate the suction and position the device on the glass. The device is attached to the glass by suction, this suction is only used to keep the device on the glass and does not suck up dirt. |
![]() | After placing the device on the glass, the blue light will flash slowly for a few seconds until it reaches the suction necessary to start the movement safely. Once the blue light is solid, the user can press a button on the handle or a button on the remote control to start cleaning. |
![]() | With the appliance on the glass and the solid blue light, press the button on the handle to begin cleaning. The default program when you press the start / pause button on the handle is cleaning by drawing in “N”. |
![]()
| The “N” cleaning mode is recommended for tall windows. The appliance then cleans by drawing an “N”. |
![]()
| The “Z” cleaning mode is recommended for large windows. The appliance then cleans by drawing a “Z”. |
![]() | The unit will always move and clean the right part of the unit by drawing a “N”. |
![]() | This function allows you to insist on an area with more dirt. |
![]() | This function is used to clean the tracks. Please refer to the “Maintenance and Cleaning” section. |
To change the cleaning program, the appliance must be paused before pressing the button for the desired program.
PAUSE THE ROBOT:
To pause the device while cleaning, press the START / PAUSE button on the device or on your remote control.
To point the device forward, backward, left or right, use the directional arrows on the remote when the device is paused. The appliance cleans when the steering lever is used.
To switch to another cleaning mode, use the cleaning mode selection buttons on your remote control when the unit is paused.

STOP THE ROBOT:
When the appliance completes its cleaning cycle, it returns to where it started and then beeps (if this does not happen, move the robot manually using the directional keys until it is accessible).
1. Remove the device
Grasp the handle of the device. Hold the button down for about 5 seconds. The fan stops. Remove the device from the glass. Wipe any marks left by the appliance on the glass with a cloth.
2. Stopping the robot
Place the on / off switch in the “o” position.
3. Remove the safety suction cup
4. Unplug the device
Maintenance
Before any cleaning or maintenance operation on the appliance, switch it off and remove it from the glass.
Cleaning wipes
Turn the device over and remove the cleaning wipes. Let them soak in clear water at 20°C for 2 minutes. Hand clean them using a mild detergent and lay it flat to dry. Let them dry completely before placing it back on the device. Cleaning by hand is less damaging to the wipes rather than machine washing.
MAINTENANCE AND CLEANING
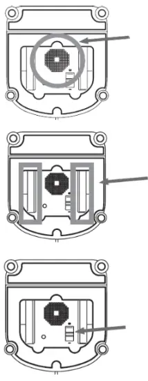
![]() | Fan Turn the appliance over and clean the fan with a dry cloth to remove any residue and maintain suitable suction power. |
| Side rollers Turn the device over and clean the four side rollers with a dry cloth to keep them effective. | |
| Edge detectors Turn the device over and clean the five edge detectors with a dry cloth to keep them effective. | |
| Scrapers Turn the unit over and clean the scrapers with a soft cloth to keep them effective. |
TREADS
![]() | Turn the device over and set the switch in the “-” position. The fan motor will then stop after about 8 seconds and the LED will flash red. Press the “wheel cleaning” button on the remote control to activate the wheel movement. |
| Use the START / PAUSE button on the remote control to stop the treads and wipe off any dirt with a dry cloth. Use the “wheel cleaning” button and the “start/pause” button on the remote control to clean the entire length of the strips. | |
| Place the on / off switch In position “0” to complete the operation. |
STATUS INDICATOR COLORS AND SOUND SIGNALS
| Blinking blue (slow) | The device will not clean until the backup battery is properly charged. |
| Blinking blue (faster) | The device is on and ready to be placed on the glass. |
| Continuous blue | The appliance has adhered properly to the glass and is ready to clean. |
| Blinking red | The robot is not positioned on the glass. Power supply problem or suction problem. Please see “Troubleshooting”. |
TROUBLESHOOTING
The blue light flashes when the robot is attached to the glass
| The cleaning wipe is not correctly installed. | Remove the cleaning wipe and carefully reposition it on the gripping |
| Edge detector problem | Check if the edge sensors are blocked by the cleaning wipe or dirt. |
| Too much dirt and residue on the glass. | First clean the surface of your glass so that the appliance can adhere to it. |
RED light flashes
| Power failure, disconnected plug, or loose power adapter. | 1. Connect the device to the power adapter and plug it into a power outlet. Press the START / PAUSE button on the appliance or on the remote control to resume cleaning. 2. If there is a power failure, and the above solution does not work, use the remote control to move the device to a location where you can safely grab it. Turn off the fan and remove the unit from the glass. If power is restored, reinstall the unit on the glass and turn it on again. |
| The device has moved over a problematic surface and is losing suction. | Use the directional arrows on the remote control to move the device to a safe location. |
| Edge detection problem | Check if the edge detectors are not blocked. If necessary, remove the dirt. |
The appliance moves irregularly during cleaning.
| Excessive dirt and residue on the glass. | Clean the treads as described in section 4. Replace the cleaning wipe and repeat the cleaning cycle. |
| The robot has difficulty moving forward. | Wet glass. Cleaning product sprayed directly on the glass. Dry the glass before using the robot. |
The remote control does not work.
| When the appliance is in cleaning mode, only the START / PAUSE button works. | First press the START / PAUSE button to stop cleaning, then press the other buttons to operate the appliance. |
Technical specifications
| Model | SCVC24144W |
| Power supply | Rechargeable battery |
| Remote control battery | “AAA” R03 X 2 (not supplied) |
| AC adapter outlet | GQ90-240375-E2 Input: 100-240V ~ 50/60 Hz Output: 24V, 3.75A |
| Battery | Li-ion 700 mAh |
| Charging time | About 2 hours |
| Suction power | 3000pa |
| Dimensions | Diameter: 265 x 271 x 120mm |
| Net weight | 1.1 kg |
Data sheet of the external power sources of European Directive (EU) 2019/1782
| Value | Unit | |
| Model reference | GQ90-240375-E2 | |
| Company name or registered trademark | ![]() | |
| Input voltage | 100-240 | V |
| Input AC frequency | 50/60 | Hz |
| Output voltage | 24.0 | V |
| Output current | 3.75 | AT |
| Output power | 90 | W |
| Average efficiency in active mode | 90.73 | % |
| Low load efficiency (10%) | 83.49 | % |
| Power consumption without load | 0.21 | W |
Disposal:
The presence of this logo on the product means that the disposal of the device is governed by Directive 2012/19 / EU dated July 4, 2012 relating to waste electrical and electronic equipment (WEEE).
Any hazardous substance contained in electrical or electronic equipment can have a potential impact on the environment and health during its recycling. Consequently, at the end of the device’s useful life, it must not be disposed of with unsorted municipal waste.
Your role as an end consumer is essential in terms of reuse, recycling and obtaining other types of value creation from this product. You have the choice of different collection and exchange systems organized by local authorities (recycling centers) and distributors. It is your duty to make use of these possibilities.
2. At the end of battery life:
This device contains non-replaceable batteries.
Used batteries must be taken care of by a selective collection system so that it can be recycled and thus reduce the impact on the environment.
When the battery reaches the end of its useful life, you must deposit it in an appropriate selective collection system which will take care of its destruction and/or recycling.
– If the battery purchase has leaked, avoid contact with skin, eyes and mucous membranes! Fluid leaking from the battery can cause skin rashes. If you still have to come into contact with the skin, immediately rinse the affected areas with plenty of clean water and consult a doctor without delay.
– The batteries must be installed respecting the polarity +/-.
– Do not recharge non-rechargeable batteries due to the risk of explosion.
IMPORTANT:
Under no circumstances should you throw the device or the battery on public roads.
- Surface deterioration due to normal wear and tear of the product;
- Defects or deterioration due to contact of the product with liquids and due to corrosion caused by rust or the presence of insects;
- Any incident, abuse, misuse, modification, disassembly or unauthorized repair;
- Any improper maintenance operation, use not in accordance with the instructions concerning the product or connection to an incorrect voltage;
- Any use of accessories not supplied or not tested by the manufacturer.
Imported by: SCHNEIDER CONSUMER GROUP
12 rue Jules Ferry – 93110 Rosny-Sous-Bois, FRANCE


































