
Instruction manual
CONGA
WIN ROBOT
870

IMPORTANT SAFETY PRECAUTIONS
Read all instructions before use.
WARNING
- Fasten the safety rope and tie it to indoor fixtures before use.
- Check if the safety rope is broken or the knot is loose before use.
- Set a danger-warning area downstairs for no-balcony windows and doors.
- The battery must be fully charged (green light ON) before use.
- Do not use in rainy or moist days.
- Turn the power on before putting the device onto the window.
- Make sure the appliance sticks to the window.
- Please hold the device before turning the power off.
- Do not use on frameless windows.
- Make sure to properly place the cleaning ring onto the cleaning wheel in order to avoid leakage.
- Remove anything on the window. Do not use on cracked glass. Reflective or coated windows might be slightly scratched during operation, due to dirt particles on the glass.
- Keep hair, loose clothing, fingers, and all parts of the body away from openings and moving parts.
- Do not use in areas with flammable or combustible liquids or gas.
- This appliance must not be used by children under the age of 8. This product can be used by children aged 8 or over, as long as they are given continuous supervision.
- This appliance can be used by persons with reduced physical, sensitive, or mental capabilities, or lack of experience or knowledge, as long as they have been given supervision or instruction concerning the use of the appliance in a safe way and understands the risks involved.
- Keep this appliance and its power cord out of reach of children under the age of 8.
- Cleaning and maintenance tasks must not be carried out by children.
- The appliance is not designed to be used by means of an external timer or remote control system.
PRODUCT INTRODUCTION
Conga WinRobot 870 is a glass-cleaning robot with a vacuum motor that can stick to the surface of the window. An embedded UPS (Uninterrupted Power System) prevents the robot from falling off the window, even with no electrical power.
Conga WinRobot 870 has two specially designed cleaning wheels that can freely traverse the window surface and even walls. The easily replaceable micro-fiber cloths are used on both cleaning wheels. Micro-fiber cloths are used for excellent glass-cleaning performance, copying the movement a hand would make.
Conga WinRobot 870 has AI Technology that can calculate the path, detect window frames, and clean entire windows. It also has a manual mode to control the robot from the remote control.
WARNING: for your safety, the robot must always be connected to the mains supply. If there were a power outage, the robot would remain attached to the window, thanks to its battery. In that case, remove the robot from the window as soon as possible. The robot cannot work if it is not connected to the mains supply.
PRODUCT AND ACCESSORIES
|
|
PRODUCT FEATURES
|
|
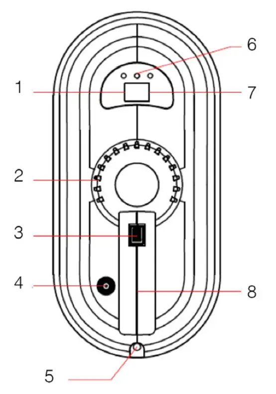
GETTING TO KNOW THE DEVICE
- Remote signal receiver
- Vent
- Power switch
- DC power jack
- Hole for the safety rope
- Indicator light
- Buzzer
- Easy-grip handle

Conga WinRobot 870 must always be connected with the power cord for normal use.
How to put the device on the window
– Turn on the power switch and make sure the fan is running.
– Put the device on the window, 10cm away from the frame.
– Check if the device sticks to the glass before releasing it.
How to take the device from the window
– Press Stop in the remote control.
– While the device is running, please hold the safety rope with one hand and take the device from the window with the other hand.
– Turn off the power switch in a safe area.
Safety rope
– Check if the safety rope is broken or the knot is loose before use.
– Fasten the safety rope and tie it to an indoor fixture before use.
UPS (Uninterrupted Power System) function
– The boto must always be connected to the mains supply.
– The UPS function will be enabled automatically when no electric power is supplied. The backup time of this system is 30 minutes.
– If no electric power is supplied, the device will stop automatically, emit an alarm, and flash a red light. The user must take the device from the window as soon as possible.
– The user can recover the device by pulling from the safety rope. Pull lightly from the safety rope at an angle close to the glass to prevent it from dropping.
Please, make sure the battery is fully charged (green light ON) before use
– Turn off the power switch on the device and plug it into the power supply. An orange light turns on while charging.
– The green light turns on when fully charged.
Table-cleaning mode
– Put the device on the table and select the auto-cleaning mode, the device will use the table cleaning mode.
Notice
– For your safety, do not use the device on frameless windows.
– Make sure the cleaning ring is properly placed on the cleaning wheel to avoid leakage.
– For your safety, do not use it on rainy or moist days.
– Set a danger-warning area downstairs for no-balcony windows and doors.
LED SIGNALS
The vacuum cleaner robot has been equipped with 3 indicator lights with different functions:
- The first light, to the left, signals the state of the battery. When the battery is low, incomplete, or charging, the light will turn red. When the robot is fully charged, the light will turn blue.
- The second light is in the center and signals when the robot starts cleaning. This light turns on once the robot is already attached to the window and starts a cleaning mode. When the robot is cleaning, the light will turn blue and blink.
- The third right, to the right, signals when the robot is in Stop/Pause mode. This light turns on when the robot is attached to the window without cleaning, when the robot is in Stop/Pause mode, or when the robot finishes the cleaning mode and stops. The light will turn red and blink.
EXAMPLES:
- Low battery (Red 1)
- Fully charged (Blue 1)
- Low battery and robot in Stop/Pause mode(Red 1 and blinking red 3)
- Fully charged and robot in Stop/Pause mode (Blue 1 and blinking red 3)
- Low battery and cleaning (Red 1 and blinking blue 2)
- Fully charged and cleaning (Blue 1 and blinking blue 2)

Cleaning tips
- Step I: Use clean and dry cleaning cloths to clean the dust and dirt on the window.
- Step II: Change the cleaning cloths when dirty. Spray a little bit of detergent (1~2 spray) on the lower wheel and keep the upper wheel dry. Do not wet the cloth too much (if it gets too wet, the machine cannot move properly). Then, clean the window again.
Operation
- Step I: Connect the robot to the mains supply and tie the safety rope. Make sure the battery is fully charged.
- Step II: Place the microfiber cloth on the cleaning wheels.
- Step III: Turn on the robot and place it on the window.
- Step IV: Choose the cleaning mode with the remote control.
- Step V: When the robot stops cleaning, grab it by the handle, turn off the switch, and remove it from the window.
REMOTE CONTROL
![]() | Up | ![]() | Start/Pause |
![]() | Down | ![]() | Auto Up then Down |
| Left | Auto Left then Down | ||
| Right | Auto Right then Down | ||
![]() | Stop | ![]() | Clean the window twice |
The device can be remote-controlled from the front and backside.

![]() | Auto Up then Down |
| Auto Left then Down | |
| Auto Right then Down |
* Please remove the insulation in the back bottom of the remote control before use. If you have to replace the battery, slide down the battery cover.
POWER ADAPTER/DC EXTENSION CABLE
| 9. Power adapter 10. DC extension cable 11. DC plug 12. L-shape connector 13. Plug into DC power jack |

FREQUENTLY ASKED QUESTIONS
Q1: Conga WinRobot 870 cannot start and emits an alert.
Ans.: It means that the friction factor is not correct.
- Check out whether the cleaning cloth is too dirty.
- Glass stickers and window film can also affect the friction factor.
- If a window is cleaned many times, its surface becomes very slippery.
- The surface of the window will become slippery if it is cleaned several times in low humidity environments, such as in air-conditioned rooms.
- While starting, press
,
or
and place the device 10cm away from the window frame.
Q2: Conga WinRobot 870 slips and cannot detect the upper frame of the window in “Auto Up then Down”(
) mode.
Ans.: Press the
key and switch to
or
auto mode.
Q3: Conga WinRobot 870 cannot clean the whole window.
Ans.: Press
or
auto mode to continue cleaning.
Q4: Conga WinRobot 870 slips and cannot get to the upper window frame.
Ans.: The friction factor is too low.![]()
- The cause might be glass stickers or window film.
- The cleaning cloth might be too wet.
- If the window is cleaned many times, the glass surface will become slippery.
- The glass surface will become slippery if it is cleaned several times in low humidity environments, such as in air-conditioned rooms.
- While starting, press
,
or
and place the device 10cm away from the window frame.
Q5: Conga WinRobot 870 does not move smoothly, or it moves irregularly.
Ans.:
- The cleaning cloth is too dirty. Please change the cleaning cloth.
- The surface of the window has different friction factor areas, due to stickers or window films. Please use the device in a single area.
- The screw of the cleaning wheel might be loose, tighten it.
Q6: After cleaning, circle marks remain on the window surface.
Ans.: The cleaning cloth is too dirty. Please change the cleaning cloth and clean again.
Q7: What to do if the Conga WinRobot 870 stops at a high area with no electric power supply, and the alarm and red light are flashing.
Ans.:
- Pull the Conga WinRobot 870 back with the safety rope. Lightly pull from the safety rope at an angle close to the glass to prevent it from dropping. Switch off the power.
- Check out whether there is poor electric contact or a broken cable.
Q8: What to do if the Conga WinRobot 870 stops abnormally and the red light blinks, without
an alarm.
Ans.:
- Move the Conga WinRobot 870 to a safe area with the remote control or pull it back with the safety rope. Lightly pull from the safety rope at an angle close to the glass to prevent it from dropping.
- Switch off the power.
- Check out whether there is air leakage caused by a gap or an uneven window frame.
Q9: Conga WinRobot 870 cannot stop automatically at the bottom of the window.
Ans.: Press
the key to stop the machine.
Q10: Can I use the robot without plugging it into the mains supply?
Ans.: No, the robot must be plugged into work. The battery belongs to a safety system that prevents the robot from falling when there is a power outage.
SAFETY INFORMATION ABOUT THE POWER ADAPTER/BATTERY
- Use only the power adapter supplied with this device. The use of other types of power adapters could result in malfunction and/or damage.
- Please use a proper electric outlet and make sure no heavy objects are placed on the power adapter or power cord.
- Allow adequate ventilation around the adapter when in use. Do not cover the power adapter with objects that could reduce cooling.
- Do not use the adapter in moist environments. Never handle the adapter with wet hands.
- Plug the adapter in a suitable power socket. The voltage requirements are found on the adapter.
- Do not use damaged adapters, power cords, or plugs.
- Do not attempt to disassemble the adapter. There are no serviceable parts inside. Replace the whole unit if damaged or exposed to high moisture. Consult your Conga WinRobot 870 dealer for help and maintenance.
- The battery may present a risk of fire or chemical burn if mistreated. Do not disassemble, short contact, heat above 60°C (140°F), or burn.
- If you have to dispose of the device, please take it to a local waste disposal center for electrical and electronic parts.
GENERAL SAFETY INFORMATION
- Keep the safety and operation instructions fitting for future reference.
- Follow all operation and use instructions.
- Do not expose your device to rain or extreme humidity, and keep it away from liquids (such as beverages, faucets, etc.).
- Avoid exposing your device to direct sunlight or an intense light source, and keep it away from heat sources (such as radiators, heaters, stoves, etc.).
- Do not place the device near strong magnetic fields.
- Keep the device and accessories away from children.
- Product operating temperature: 0°C~40°C (32°F~104°F).
- Product storage temperature: -10°C~50°C (14°F~122°F).
TECHNICAL DETAILS
| Product size | 295’148120 (LWH) |
| Product weight | 930g |
| Gift box total weight | 2.05Kg |
| Input Voltage | 100-240VCA, 50Hz/60Hz |
| Adapter output | 24 V/3.75 A |
| Power consumption | 80 W |
| AC power cord length | 1.0 m |
| DC power cord length | 4.0 m |
| Safety rope length | 4.5 m |
| Battery | 4xLi-Po, 3.7 V |
| Battery working time | 30 minutes |
| Battery lifespan | 2 years |
| Cleaning speed | 4 min./m2 (Cleans twice everywhere) |
| Maximum cleaning area | Height: 6 m Width: 5 m |
LIMITED WARRANTY
If there are defects in your Conga WinRobot 870 glass-cleaning robot, due to faulty materials, workmanship, or functioning within the warranty period from the date of purchase or delivery,
please contact the local retailers or local authorized dealers for repair or replacement.
NON-WARRANTY
- Normal wear and tear (e.g. cleaning cloth, safety rope, etc.).
- Reduction in battery discharge time due to battery age or use.
- Damage caused by non-recommended use, according to the instructions of the Conga WinRobot.
- Damage caused by using the Conga WinRobot glass-cleaning robot for any purposes, other than normal domestic uses.
- Damage caused by using parts and accessories that are not specified in these instructions.
- Damage caused by accident, abuse, or misuse.
MEANING OF THE “TRASH BIN” SYMBOL

Protect our environment: do not dispose of electrical equipment together with domestic waste.
Please return any electrical equipment that you will no longer use to the collection points provided for their disposal.
This helps to avoid the potential e ects of the incorrect disposal on the environment and human health. This will contribute to recycling and other forms of utilization of electrical and electronic equipment. Information concerning where the equipment can be disposed of can be obtained from your local authorities.
TECHNICAL SUPPORT SERVICE AND WARRANTY
This product has a warranty of 2 years from the date of purchase, as long as the proof of purchase is submitted, the product is in the perfect physical condition and it has been given proper use, as described in this instruction manual.
The warranty does not cover the following situations:
- The product has been used beyond its capacity or utility, abused, beaten, exposed to moisture, treated with liquid or corrosive substances, as well as any other fault attributable
to the consumer. - The product has been disassembled, altered, or repaired by persons not authorized by the official Technical Support Service of Cecotec.
- The incidence is caused by the normal wear and tear of its parts due to use.
- The cost of collecting the product or delivery ports.
If ever it detects an incidence with the product, should contact your dealer or the customer service of Cecotec and send the invoice of purchase of the product by e-mail: [email protected]
![]()
The expert for robots in your home
With one click to the online shop
![]() myRobotcenter.eu | ![]() myRobotcenter.co.uk |


























