Winbot 920 Electric Window Cleaner Robot
Winbot 920
Instruction Manual
Important Safety Instructions
When using an electrical appliance, basic precautions should always be followed, including the following:
READ ALL INSTRUCTIONS BEFORE USING THIS APPLIANCE. SAVE THESE INSTRUCTIONS
- This appliance can be used by persons with reduced physical, sensory or mental capabilities or lack of experience and knowledge if they have been given supervision or instruction concerning use of the appliance in a safe way and understand the hazards involved. Children shall not play with the appliance. The appliance is not to be used if it has been dropped, if there are visible signs of damage or if it is leaking. Keep the appliance out of reach of children when it is energized.
- Do not use the Appliance in extremely hot or cold environments (below 0°C/32°F or above 40°C/104°F, above 65% humidity). The Appliance can be used to clean outside windows if it is properly tethered to a safe position with the Carabiner, winds are calm, and it is not raining or snowing.
- Do not use this product in whole gale storms and force-10 winds, or in areas where the altitude exceeds 2000 meters(6162 feet).
- Please ensure the Appliance is plugged in while it is cleaning. The Appliance has a Back-Up Battery that charges during use. The Back-Up Battery powers the Appliance if it becomes unplugged or the electricity fails.
- Do not leave the Appliance unattended when it is plugged in.
- For household use ONLY. Do not use the Appliance in commercial or industrial environments.
- Do not use the Appliance on cracked glass.
- Only use accessories recommended or supplied by the manufacturer. Only use the Power Adapter supplied by the manufacturer.
- Please make sure your power supply voltage matches the power voltage marked on the Power Adapter.
- Do not use the Appliance on a framed window with a frame smaller than 5mm (0.2 inches).
- Do not use the Appliance on wet or greasy windows.
- Store the Appliance away from heat and flammable materials.
- Do not use the Appliance if it does not firmly attach to the glass or has visible signs of damage.
- To reduce the risk of electrical shock, do not put the Appliance in water or other liquid. Do not place or store Appliance where it can fall or be pulled into a tub or sink.
- Do not touch power plug or the Appliance with wet hands.
- Do not charge the Appliance in extremely hot or cold environments, or it may affect battery life span.
- When charging the Appliance, do not place it on other electrical appliances and keep it away from fire and liquid.
- Take care not to damage the power cord. Do not pull on or carry the Appliance by the power cord, use the power cord as a handle, close a window on the power cord, or put heavy weights on the power cord. Keep power cord away from hot surfaces.
- Do not use with a damaged power cord or receptacle. Do not use the Appliance if it is not working properly, has been dropped, damaged, or come in contact with water. It must be repaired by the manufacturer or its service agent in order to avoid a hazard.
- If the supply cord is damaged, it must be replaced by the manufacturer or its service agent in order to avoid a hazard.
- The plug must be removed from the receptacle before cleaning or maintaining the Appliance. Do not unplug the Power Adapter by pulling on the power cord.
- The Back-Up Battery must be replaced by the manufacturer or its service agent in order to avoid a hazard.
- The Back-Up Battery must be removed and discarded according to local laws and regulations before disposal of the Appliance.
- The Appliance must be disconnected from the receptacle before removing the battery for disposal of the Appliance.
- Please dispose of used batteries according to local laws and regulations.
- Do not incinerate the Appliance even if it is severely damaged. The battery can explode in a fire.
- The Appliance must be used in accordance with the directions in this Instruction Manual. The company cannot be held liable or responsible for any damages or injuries caused by improper use.
- WARNING: For the purposes of recharging the battery, only use the detachable supply unit EA10952/GM95-240375-D provided with this Appliance.
- The robot contains batteries that are only replaceable by skilled persons.
- The plug and the Power Adapter must be used indoor.
To satisfy RF exposure requirements, a separation distance of 20 cm or more should be maintained between this device and persons during device operation. To ensure compliance, operations at closer than this distance is not recommended. The antenna used for this transmitter must not be co-located in conjunction with any other antenna or transmitter.
Class II | |
| Short-circuit-proof safety isolating transformer |
| Switch mode power supply |
| For indoor use only |
| Direct current |
| Alternating current |
For EU Countries For EU Declaration of Conformity information, visit https://www.ecovacs.com/global/compliance
Correct Disposal of this Product
This marking indicates that this product should not be disposed of with other household waste throughout the EU. To prevent possible harm to the environment or human health from uncontrolled waste disposal, recycle it responsibly to promote the sustainable reuse of material resources. To recycle your used device, please use the return and collection systems or contact the retailer where the product was purchased. They can safely recycle this product.
Package Contents

Note: Figures and illustrations are for reference only and may differ from actual product appearance. Product design and specifications are subject to change without notice.
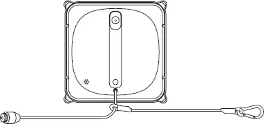
Product Diagram
WINBOT
Bottom View

Notes Before Cleaning
Make sure Safety Tether and Carabiner have been connected with WINBOT before using. (Connected by default. Do not disconnect before cleaning.)

Note: Do not use WINBOT on a framed window with a frame narrower than 5 mm(0.2″).
Quick Start
1 Connect WINBOT Power Cord, Power Adapter and Plug

2 ECOVACS HOME App
To enjoy all available features, it is recommended to control your WINBOT via the ECOVACS HOME App.
- Deep Cleaning Mode
- Spot Cleaning Mode
- Switching Interior/Exterior Window

3 Preparation before Use
Properly Tether WINBOT to a Safe Place

Note: To ensure safety, please make sure to properly tether WINBOT to a safe place before use. It is recommended to fasten the Safety Tether with the Carabiner on a firm and safe metal railing.
Spray Cleaning Solution
It is recommended to use WINBOT with WINBOT Cleaning Solution from ECOVACS. Using tap water or other cleaners could have an adverse effect on cleaning performance. Using other cleaning solutions could potentially void the warranty.

Note: Do not over-spray Cleaning Solution as doing so may cause the driving treads to slip.
Wipe the Bottom of WINBOT with a Dry Cloth
Wipe the Area for WINBOT to Attach to
Wipe the area for WINBOT to safety attach to. Place WINBOT on the window at least 10cm (4″) from window corners or other obstacles.

Note: Keep objects away from WINBOT’s Fan to avoid blockage.
4 Start
Turn the Power Switch to “I”. Attach WINBOT to the glass, and WINBOT will start cleaning after it has attached to the window successfully.

5 Pause

6 Finish
Remove WINBOT

Power Off

Unfasten Safety Tether

Unplug WINBOT

Maintenance
Cleaning Pad
Replace the Cleaning Pad Remove the dirty Cleaning Pad from the WINBOT and place a clean new one on it. Please make sure the cleaning pad is correctly attached, and do not cover the Edge Detection Sensors.
Note: The gray microfiber side faces out.
Washing Cleaning Pad

Note: Wash with mild detergent. Do NOT use a wet Cleaning Pad on WINBOT or it may slip on the window. Washing the Cleaning Pad regularly can extend its service life. If the Cleaning Pad becomes worn or no longer fits exactly within the fastener area, replace it with a new one to achieve optimal cleaning performance. Explore more accessories at https://www.ecovacs.com/global.
Driving Treads

Note: Inspect the Driving Treads in ECOVACS HOME App. Stop the Driving Treads if you see dirt on them.
Fan

Edge Detection Sensors

Side Rollers

* After WINBOT has a low battery alarm, be sure to fully charge it before using or storing it to avoid reducing the battery life. * If WINBOT will not be used for a long time, please fully charge it and turn it off before storage. Recharge it every six months to prevent the battery
from being over-discharged.
Status Indicator Light
Light Effect | Status |
Status Indicator glows a continuous BLUE. | WINBOT is fully charged. |
WINBOT has successfully adhered itself to the glass and is ready to clean. | |
WINBOT is cleaning. | |
WINBOT is paused. | |
The network setup is complete. | |
Status Indicator flashes BLUE slowly. | WINBOT is paused and charging. |
Status Indicator stops glowing BLUE. | WINBOT is in sleep mode. Press to wake it up. |
WINBOT is powered OFF. | |
Status Indicator glows a continuous RED. | WINBOT has a low battery. Please remove it from the window. |
Status Indicator flashes RED. | WINBOT has a problem. Please refer to section 5 Troubleshooting for details. |
Troubleshooting
NO. | Malfunction | Possible Causes | Solutions |
1 | WINBOT moves in an irregular pattern during cleaning. | There is too much dirt and debris on the glass. | A. Spray additional Cleaning Solution on the Cleaning Pad. B. Clean the Driving Treads as described in section 3. C. Replace the Cleaning Pad and restart the cleaning cycle. D. Use the App to control the cleaning by pressing Direction Buttons. E. Clean the window by hand first and use WINBOT for regular cleaning after that. * WINBOT is intended to be used for maintenance cleaning on common windows. The product is NOT designed to replace heavy duty or first time cleaning. |
The Cleaning Pad is too dirty. | |||
The Cleaning Pad is too wet. | |||
The Driving Treads are dirty. | |||
The Driving Treads are worn. | Please check the surface of the driving treads, see if there is any heavy wear, crack or breakage. If so, please contact customer service. | ||
2 | WINBOT does not move. | The Cleaning Pad is attached improperly. | Please remove the Cleaning Pad and reattach. |
There are gaps or cracks on the surface to be cleaned. | Hold the Safety Tether or the Power Cord. Meanwhile, press Direction Buttons in ECOVACS HOME App to let the WINBOT leave the gap or barrier. | ||
The cleaning pad plate is blocked by small obstacles on the glass. | |||
3 | WINBOT cannot move or moves in circles. | The driving treads are stuck. | Check if there is any dust or debris on the Driving Treads. If so, please clean the Driving Treads as described in section 3. Start WINBOT again. If problem persists, please contact customer service. |
NO. | Malfunction | Possible Causes | Solutions |
4 | WINBOT is stays still or moves in an irregular pattern during cleaning. | The bumper rail is stuck. | Remove WINBOT from the window. Check if the bumper rail is stuck. Clean the bumper rail and restart WINBOT. If problem persists, please contact customer service. |
The bumper rail is damaged. | |||
Edge Detection Sensor signal abnormity. | A. Remove the Cleaning Pad and re-attach it making sure it will not cover or affect the Edge Detection Sensors. B. Clean the Edge Detection Sensors as described in section 3. C. If the problem persists, please contact Customer Service. | ||
Fan malfunction. | A. Clean the Fan as described in section 3. B. If the problem persists, please contact Customer Service. | ||
5 | WINBOT stops moving after adhering to the glass. | WINBOT is too close to the edge of the glass or obstacles. | Use the Direction Control buttons in the App to move WINBOT away from the problem area and at least 10cm/4” from window corners and obstacles. Restart WINBOT. Alternatively, remove WINBOT from the window and put it at least 10cm/4” from window corners and obstacles. Restart WINBOT. |
6 | WINBOT is stuck. | It is stuck by obstacles. | Fix the Safety Clasp and tether firmly. Hold WINBOT power cord and meanwhile, use ECOVACS HOME App to move WINBOT away from the stuck area. If the problem persists, please contact Customer Service. |
App Connection
Before connection, make sure WINBOT and the mobile phone meet the following requirements:
- The Bluetooth of the mobile phone is turned on.
- The WINBOT power switch has been turned on and the indicator light has been lit.
- Please pair WINBOT in ECOVACS HOME App instead of the phone setting.
- Co-frequency interference might occur between Bluetooth and Wi-Fi. It is recommended to keep WINBOT close to the mobile phone and distant from the Wi-Fi router during pairing.
- If the connection failed, please try to disconnect other Bluetooth devices, make sure WINBOT is not connected to other mobile phones, and try again.
- Bluetooth may be disconnected if WINBOT is too distant from the phone. Try to reconnect at a short distance.
- For using WINBOT, you need to allow ECOVACS HOME App to obtain access to the location, Bluetooth, and mobile phone storage. If the problems persist after trying the above methods, please contact customer service.
Technical Specifications
WINBOT Model | WG811 | ||
Rated Input | 24V 3.75A | Rated Power | 75W |
Power Adapter: EA10952 | |||
Input: 100-240V 50-60Hz 1.5A | Output: 24V 3.75A 90W | ||
Power Adapter: GM95-240375-D | |||
Input: 100-240V 50-60Hz 2.5A | Output: 24V 3.75A 90W | ||
Off/Standby Mode Power | Less than 0.50W | Frequency | 2400-2483.5MHz |
Output power of the wireless module is less than 100mW.
Note: Technical and design specifications may be changed for continues product improvement.
Ecovacs Home Service Robotics Co., Ltd. No. 518 Songwei Road, Wusongjiang industry Park, Guoxiang Street, Wuzhong District, Suzhou, Jiangsu, China.
451-2005-0301




















