H6104 Dreamcolor Wi-Fi TV Backlights Kit With Camera
At a glance

Specifications
- Input: 110V – 240V
- Working Voltage: DC 12V
- Color: Dreamcolor (IC included)
- Length: 2×2.3ft+1×3.94ft
- LED Quantity: 78 LEDs
- Control Method: APP (Wi-Fi)
Installing your LED strip light
- Wipe the surface. Keep it clean and dry.

2. Stick strip light on the back of TV. Press it firmly and then reinforce it by clips.
Tips: Face to the back of TV, and set up lights clockwise.

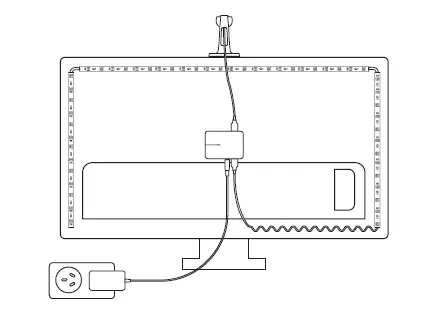
3. Fix camera on the top middle of TV.

4. Plug the USB into corresponding ports.
Plugging sequence: LED port → Camera port → DC port

5. Place control box on a proper position of your TV.

6. Power on the strip light and try to connect it with Govee Home APP.

Downloading the Govee Home App
What you need:
- A Wi-Fi router supporting the 2.4GHz and 802.11 b/g/n brands; 5GHz brand is not supported. Please check your Wi-Fi before connecting.
- A smart phone or tablet connected to a 2.4GHz Wi-Fi network.
- A smart phone or tablet running IOS 9.3 (or above) or Android 4.3 (or above).

Connecting the Govee Home App with TV LED Strip Light
1. Open the app, tap "+" icon at the top right corner and select "H6104";
2. Name your strip light. The device name should only be English letters. No punctuation mark or number like
"1,2,3,#,$@…"

3. Select a 2.4G Wi-Fi and enter password.

Calibrating the camera on Govee Home APP
1. Make sure camera is set up on the top middle of TV.

2. Stick auxiliary tapes on the four front corners of your TV.

3. Open Govee Home APP and follow app instructions to finish your calibration.

4. Tear off auxiliary tapes after the strip light works well.

Tips: The picture is twisted under fish-eye camera. Please make sure calibration point is chosen correctly and calibration line cannot overlap or cross with each other.

Connecting Alexa with Your TV Backlight
- Open Alexa APP after calibration is finished.
- Open skills and search for Govee Home.
- Enter account and password of Govee Home to authorize.
- Back to Smart Home page and update the device.
- Find your new TV Backlight to complete connecting.
Troubleshooting
1. The strip light doesn’t light up.
a. Check physical connections. Re-plug the power adapter and the DC port to make sure the control box is powered on correctly. The strip will light up after powered on for 10s.
b. Check the physical connection of led strip and camera.
The strip light should be plugged into LED port and the camera is CAM port.
c. Make sure the strip light is plugged into LED port before it’s powered on.
d. Please reboot power adapter if you unplug your strip light when it is working correctly.
2. Calibration fails
a. Calibrate the strip light again.
b. Avoid interference to the camera from outside strong light.
c. Calibration point cannot be chosen across area. For example: the top point of your TV cannot be dragged to the bottom. The calibration line cannot overlap or cross with each other.
d. The calibration is allowed after strip lights connect to Wi-Fi.
3. Adhesive issue
a. Wipe the setup surface. Keep it clean and dry.
b. Stick on strip light and press it firmly.
c. Reinforce via clips or other tapes.
4. Calibration issue & Picture uploading fails
Check whether Wi-Fi connection is stable via smart phone.
5. Wi-Fi connection issue
a. Please don’t skip Wi-Fi connecting step during setup, type in correct Wi-Fi name and password according to app instructions.
b. 5GHz Wi-Fi is not supported. Connect the strip light to 2.4G Wi-Fi and reboot your router.
Check whether Wi-Fi connection is stable via smart phone.
c. Check whether Wi-Fi connection is stable via smart phone.
d. The strip light isn’t compatible with Wi-Fi name or password. Please change Wi-Fi name and password to a simple one.
e. The strip light isn’t compatible with your router. Please try to connect strip lights to phone hot spot.
Customer Service
Warranty: 12-Month Limited Warranty
Support: Lifetime Technical Support
Email: [email protected]
Website: www.govee.com



















