
CR3038ALewis Retro RadioInstruction Manual

Questions, problems, missing parts?
Before returning to the store, call Customer Service
8 a.m. – 6 p.m., EST, Monday – Friday
1-888-CROSLEY
www.crosleyradio.com
Safety Instructions
Read and understand this entire manual before using this product. Keep these instructions for future reference.
- Do not use this product near water.
- This product should be operated only by the type of power source indicated on the marking label or in this instruction manual.
- Do not defeat the safety purpose of the polarized plug. A polarized plug has two blades with one blade wider than the other. This plug will fit into the power outlet only one way. If you are unable to insert the plug fully into the outlet try reversing the plug. If the plug should still fail to fit, contact your electrician.
- Protect the power cord from being walked on or pinched particularly at plugs, convenience receptacles, and the point where they exit from the product.
- Do not overload wall outlets, extension cords, or integral convenience receptacles as this can result in a risk of fire or electric shock.
- Never push objects of any kind into this product through openings as they may touch dangerous voltage points or short-out parts that could result in a fire or electric shock. Never spill liquid of any kind on the product.
- Do not attempt to service this product yourself as opening or removing covers may expose you to dangerous voltage or other hazards. Refer all servicing to qualified service personnel.
- Changes or modifications to this unit not expressly approved by the party responsible for compliance could void the user’s authority to operate the equipment.
- Do not use attachments not recommended by the product manufacturer as they may cause hazards.
- A product and cart combination should be moved with care. Quick stops, excessive force, and uneven surfaces may cause the product and cart combination to overturn.
- Slots and openings in the cabinet are provided for ventilation and to ensure reliable operation of the product and to protect it from overheating. Do not block or cover these openings.
- Unplug the product during lightning storm or when unused for long periods of time.
Items in this package
Before throwing away any packaging materials, please check thoroughly and make sure you find the following items that come along with this package:
- Radio
- Power adaptor
Please contact Crosley customer service if there is any accessory missing from the package. Retain the original packaging materials for exchange or return purposes.
Specifications
Power – AC power adaptor, DC output 5V 2 A
Power consumption – 8 W
Speaker – 4Ω, 5W
Note:
- Design and specifications are subject to change without notice.
- To help save power consumption, some models will comply with the ERP energy-saving standard. When there is no audio input for 20 minutes, their powers will automatically cut-off. To turn the power back on and resume playing, you will need to turn off the power and turn it on again.
Product Description



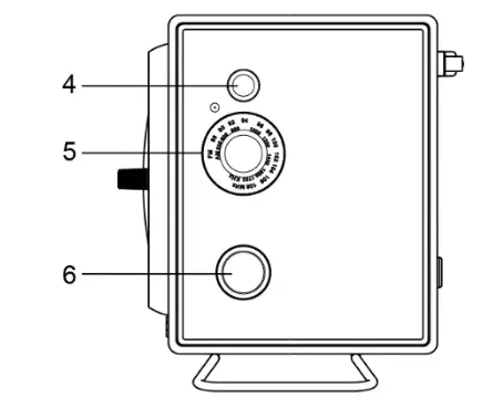
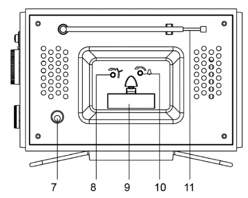
Sleep KnobClock DisplayFunction KnobLight/Snooze ButtonTuning KnobStandby/Volume KnobPower JackTime Setting KnobBattery CompartmentAlarm Setting KnobTelescopic Antenna
Initial Setup
Essential Setup
- Place the unit on a flat and level surface. The selected location should be stable and free from vibration.
- Connect the adaptor to the Power Jack of the unit.
Note: Do not plug the power adaptor to power outlet before all the assembly is completed. Before turning the power on, make sure again all the connection settings are correct. Always turn off the power when connecting or disconnecting.
Clock Setup
Turn the Time Setting Knob, located at the back of the unit, counter-clockwise to set the time.
Note: The clock will not function when the power is disconnected.
Battery Backup
This model includes a battery back-up circuit. The battery will maintain the clock in the event of a power failure. The battery back-up requires one AAA battery (not included). To install/replace the battery, follow the instructions below.
- Press in on the locking tab to remove the battery cover.
- Insert one AAA battery into the battery compartment.
- Tuck the battery back into the battery compartment and replace the battery cover.
Setting the Alarm
- Turn the Alarm Setting Knob, located on the back of the unit, counterclockwise to set the alarm indicator hand to the desired alarm time.
- Set the function switch to the desired function of the alarm. (Alarm, AM, or FM)
Note: If setting the alarm mode to AM or FM, press the Standby button for the upcoming alarm to turn off the radio. - To turn off the alarm function, turn the function knob to the Off position.
Snooze the alarm
- When the Alarm is going off, press the Snooze button.
- After 10 minutes, the alarm will go off again.
- To stop the alarm while it is going off, turn the function knob to the Off position..
Radio Operation
- Rotate the Function knob to the desired band
- Rotate the Tuning Knob for desired radio station.
Note:
- When operating FM band radio, pull up the TELESCOPIC ANTENNA, and adjust position to get better reception.
Set the Sleep Timer
- Rotate the Sleep Knob on the unit to select your desired number of minutes.
0 minutes – 20 minutes – 40 minutes – 60 minutes – 80 minutes - To cancel the sleep timer, rotate the Sleep knob to the 0 positions.
- Rotate the Sleep Knob on the unit to select your desired number of minutes.
Bluetooth Operation
- Turn the Function knob to the Bluetooth position
- Turn on the Bluetooth feature of your audio device, search for “CROSLEY CR3038A” and pair.
- Once your device is successfully paired with the unit, you will hear a short confirmation sound from the unit.
- Play and stream music from your device to the unit.
Note: Bluetooth version – 5.0
Troubleshooting
There is no power
- Power adaptor is not connected correctly.
- No power at the power outlet.
- To help save power consumption, some models will comply with ERP energy saving standard. When there is no audio input for 20 minutes, their powers will automatically cut-off. To turn power back on and resume playing, turn off the power and turn it on again.
FCC Statements
NOTE: This equipment has been tested and found to comply with the limits for a Class B digital device, pursuant to part 15 of the FCC Rules. These limits are designed to provide reasonable protection against harmful interference in a residential installation. This equipment generates uses and can radiate radio frequency energy and, if not installed and used in accordance with the instructions, may cause harmful interference to radio communications. However, there is no guarantee that interference will not occur in a particular installation. If this equipment does cause harmful interference to radio or television reception, which can be determined by turning the equipment off and on, the user is encouraged to try to correct the interference by one or more of the following measures:
- Reorient or relocate the receiving antenna.
- Increase the separation between the equipment and receiver.
- Connect the equipment into an outlet on a circuit different from that to which the receiver is connected.
- Consult the dealer or an experienced radio/TV technician for help
- Changes or modifications not expressly approved by the party responsible for compliance could void the user’s authority to operate the equipment.
This device complies with Part 15 of the FCC Rules. Operation is subject to the following two conditions:
- this device may not cause harmful interference, and
- this device must accept any interference received, including interference that may cause undesired operation.
Lewis Retro Radio CR3038A Instruction Manual – Optimized PDF
Lewis Retro Radio CR3038A Instruction Manual – Original PDF



















