P770 Wet or Dry Shop Vacuum Cleaner
Owner’s Manual
P770 Wet or Dry Shop Vacuum Cleaner
REGISTER YOUR TOOLS
http://register.ryobitooIs.com
1-800-525-2579
INCLUDES: Wet/Dry Vac, Flexible Hose, Filter, Extension Wands, Wide Nozzle, Crevice Tool, Operator’s Manual
WARNING: To reduce the risk of injury, the user must read and understand the operator’s manual before using this product.
SAVE THIS MANUAL FOR FUTURE REFERENCE
IMPORTANT SAFETY INSTRUCTIONS
When using an electrical appliance, basic precautions should always be followed, including the following:
WARNING!
READ AND UNDERSTAND ALL INSTRUCTIONS.
Failure to follow all instructions listed below, may result in electric shock, fire and/or serious personal injury.
READ ALL INSTRUCTIONS BEFORE USING THIS APPLIANCE
WARNING:
To reduce the risk of electric shock DO NOT expose to rain. Store indoors.
- Dress properly. Do not wear loose clothing or jewelry. Contain long hair. Keep your hair, loose clothing, fingers, and all parts of the body and clothing, away from openings and moving parts. Loose clothes, jewelry, or long hair can be caught in internal moving parts.
- Do not overreach. Keep proper footing and balance at all times. Proper footing and balance enables better control of the hand vac in unexpected situations. Do not use on a ladder or unstable support.
- Use safety equipment. Dust mask must be used for appropriate conditions.
- Do not allow children to operate the product or play with the product as a toy. Close attention is necessary when used by or near children.
- Use this product ONLY for its intended use as described in this manual. Use only the attachments recommended in this manual.
- If the product is not working properly, has been dropped, damaged, left outdoors, or dropped into water, return to your nearest service center.
- Do not handle charger plug or product with wet hands.
- Do not put any objects in ventilation openings. Do not use with any opening blocked. Keep openings free of dust, lint, hair, and anything that may reduce air flow.
- NEVER vacuum materials that are burning or smoking, such as hot coals, cigarette butts, matches, burning or smoking ashes, etc.
- DO NOT use to pick up flammable or combustible liquids, such as gasoline, or use in areas where they may be present.
- Do not use for dry vacuuming without filter in place.
- Use extra care when using on stairs.
- Do not incinerate this appliance even if it is severely damaged. The batteries can explode in a fire.
- The product does not have to be plugged into an electrical outlet, therefore it is always in operating condition. Be aware of possible hazards when using the product or when changing accessories.
- Remove battery when the vacuum is not in use and before servicing.
- Use battery only with charger listed. For use with 18 V lithium-ion battery packs, see tool/appliance/battery pack/charger correlation supplement 987000-432. Do not use charger outdoors.
- Recharge only with the charger specified by the manufacturer. A charger that is suitable for one type of battery pack may create a risk of fire when used with another battery pack.
- Use power tools only with specifically designated battery packs. Use of any other battery packs may create a risk of injury and fire.
- When battery pack is not in use, keep it away from other metal objects like: paper clips, coins, keys, nails, screws, or other small metal objects that can make a connection from one terminal to another. Shorting the battery terminals together may cause sparks, burns, or a fire.
- Always remove battery pack from your tool when you are assembling parts, making adjustments, cleaning, or when not in use. Removing battery pack will prevent accidental starting that could cause serious personal injury.
- Do not use a battery pack that is damaged or modified. Damaged or modified batteries may exhibit unpredictable behavior resulting in fire, explosion or risk of injury.
- Do not modify or attempt to repair a battery pack that has been damaged.
- Batteries can explode in the presence of a source of ignition, such as excessive heat or a pilot light. To reduce the risk of serious personal injury, never use any cordless product in the presence of an open flame or temperature above 265°F. An exploded battery can propel debris and chemicals. If exposed, flush with water immediately.
- Prevent unintentional starting. Ensure the switch is in the off-position before connecting to power source and/or battery pack, picking up or carrying the product. Carrying battery products with your finger on the switch or energizing battery products that have the switch on invites accidents.
- Under abusive conditions, liquid may be ejected from the battery; avoid contact. If contact accidentally occurs, flush with water. If liquid contacts eyes, additionally seek medical help. Liquid ejected from the battery may cause irritation or burns.
- Do not charge battery tool in a damp or wet location. Do not use, store, or charge battery packs or products in locations where the temperature is less than 50°F or more than 100°F. Do not store outside or in vehicles.
- Protect your lungs. Wear a face or dust mask if the operation is dusty. Following this rule will reduce the risk of serious personal injury.
- Check for misalignment or binding of moving parts, breakage of parts, and any other condition that may affect the hand vac’s operation. If damaged, have the product serviced before using. Many accidents are caused by poorly maintained products.
- Use only accessories that are recommended by the manufacturer for your model. Accessories that may be suitable for one product may create a risk of injury when used on another product.
- Do not let gasoline, oils, petroleum-based products, etc., come in contact with plastic parts. They contain chemicals that can damage, weaken, or destroy plastic.
- Have servicing performed by a qualified repair person using only identical replacement parts. This will ensure that the safety of the product is maintained.
- Appliance is intended for household use only.
- This product contains no serviceable parts.
- Save these instructions. Refer to them frequently and use them to instruct others who may use this hand vac. If you loan someone this hand vac, loan them these instructions also.
SYMBOLS
| SYMBOL | SIGNAL | MEANING |
| DANGER: | Indicates a hazardous situation, which, if not avoided, will result in death or serious injury. | |
| WARNING: | Indicates a hazardous situation, which, if not avoided, could result in death or serious injury. | |
| CAUTION: | Indicates a hazardous situation, that, if not avoided, may result in minor or moderate injury. | |
| NOTICE: | (Without Safety Alert Symbol) Indicates information considered important, but not related to a potential injury (e.g. messages relating to property damage). |
Some of the following symbols may be used on this product. Please study them and learn their meaning. Proper interpretation of these symbols will allow you to operate the product better and safer.
| SYMBOL | NAME | DESIGNATION/EXPLANATION |
| Safety Alert | Indicates a potential personal injury hazard. | |
| Read Operator’s Manual | To reduce the risk of injury, user must read and understand operator’s manual before using this product. | |
| Eye Protection | Always wear eye protection with side shields marked to comply with ANSI Z87.1. | |
| Wet Conditions Alert | Do not expose to rain or use in damp locations. | |
| Long Hair | Risk of long hair being drawn into air inlet. | |
| Collection Container Lid | Do not run unit while collection container lid is unsecured. | |
| Recycle Symbol | This product uses lithium-ion (Li-ion) batteries. Local, state or federal laws may prohibit disposal of batteries in ordinary trash. Consult your local waste authority for information regarding available recycling and/or disposal options. | |
| V | Volts | Voltage |
| min | Minutes | Time |
| Direct Current | Type or a characteristic of current | |
| No Load Speed | Rotational speed, at no load | |
| …/min | Per Minute | Revolutions, strokes, surface speed, orbits etc., per minute |
ASSEMBLY
UNPACKING
This product requires assembly.
- Carefully remove the tool and any accessories from the box. All items listed in the Includes section must be included at the time of purchase.
WARNING:
Items in this Assembly section are not assembled to the product by the manufacturer and require customer installation. Use of a product that may have been improperly assembled could result in serious personal injury.
- If any parts are damaged or missing, please call 1-800-525-2579 for assistance.
WARNING:
If any parts are damaged or missing do not operate this product until the parts are replaced. Use of this product with damaged or missing parts could result in serious personal injury.
WARNING:
Do not attempt to modify this product or create accessories or attachments not recommended for use with this product. Any such alteration or modification is misuse and could result in a hazardous condition leading to possible serious personal injury.
WET/DRY VAC ASSEMBLY
See Figure 1, page 8.
- Unlock the four locking latches and remove the lid.
- Remove the hose and attachments from the collection container.
NOTE: Make sure the filter is seated properly for dry vacuuming. Remove the filter for wet vacuuming. - Replace the lid and lock securely.
- Press the locking tab on the flexible hose and insert into the vacuum port. Release the tab and make sure the hose is secure.
- Attach the tapered end of the flexible hose into the extension wand. Connect second extension wand and/or accessories as needed.
- To remove, pull the extension wands and accessories from the flexible hose.
- To remove the flexible hose, press the locking tab as shown and pull away from the vacuum port.
NOTE: The flexible hose and accessories can be stored in the collection container or on the lid of the wet/dry vac.
OPERATION
WARNING:
Do not allow familiarity with this product to make you careless. Remember that a careless fraction of a second is sufficient to inflict serious injury.
WARNING:
Always remove battery pack from the tool when you are assembling parts, making adjustments, cleaning, or when not in use. Removing battery pack will prevent accidental starting that could cause serious personal injury.
WARNING:
Always wear eye protection with side shields marked to comply with ANSI Z87.1. Failure to do so could result in objects being thrown into your eyes and other possible serious injuries.
WARNING:
Do not use any attachments or accessories not recommended by the manufacturer of this product. The use of attachments or accessories not recommended can result in serious personal injury.
APPLICATIONS
You may use this product for the following purpose:
- Light-duty vacuuming of wet or dry surfaces
INSTALLING/REMOVING BATTERY PACK
See Figure 2, page 8.
- Set the ON/OFF switch to the OFF position.
- Insert the battery pack into the product as shown.
- Make sure the latches on each side of the battery pack snap into place and that battery pack is secured in the product before beginning operation.
- Depress the latches to remove the battery pack.
For complete charging instructions, see the operator’s manuals for your battery pack and charger.
STARTING/STOPPING THE WET/DRY VAC
See Figure 3, page 8.
WARNING:
To reduce the risk of fire or explosion, do not leave the product running while unattended. Immediately stop the unit if it shows signs of abnormal operation such as loss of suction, liquid or debris in the exhaust, or any abnormal motor noises.
- To start the wet/dry vac: press the ON/OFF switch to the ON position.
- To stop the wet/dry vac: press the ON/OFF switch to the OFF position.
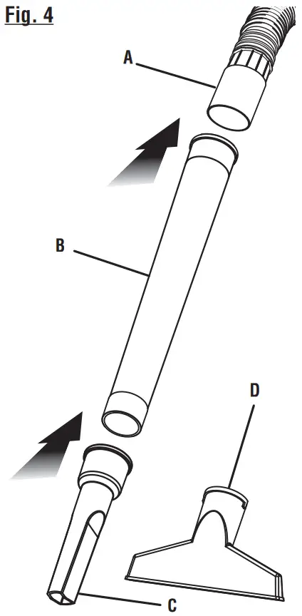
INSTALLING/REMOVING ATTACHMENTS
See Figure 4, page 9.
Vacuuming can be performed with only the flexible hose or the hose with vacuum attachments.
- Turn off the wet/dry vac.
- Insert the attachment into the front end of the flexible hose, making sure the attachment is firmly in place.
- To remove, hold the attachment and pull from hose.
DRY VACUUMING
See Figure 5, page 9.
Vacuum only items small enough to fit through the hose or the attachment. When vacuuming, make sure that the dry use filter stays in place. The performance of the wet/dry vac will decrease with a full collection container. When emptying the collection container, check to see if the dry use filter needs replacing.
NOTE: The wet/dry vac is shipped ready for dry use vacuuming. To equip the wet/dry vac for wet use, remove the dry use filter.
CAUTION:
In low relative humidity conditions, vacuuming fine debris with the wet/dry vac can cause a static charge resulting in static shock. To reduce static shock while using, add moisture to the air with a humidifier.
WET VACUUMING
See Figure 6, page 9.
When wet vacuuming, be aware that your wet/dry vac is equipped with a safety plug inside the filter unit housing. This safety plug is designed to shut the suction off when the collection container reaches full wet capacity. When the collection container is full, turn the wet/dry vac OFF and empty the collection container as shown in Maintenance.
- Unlock the four locking latches and remove the lid.
- Remove the dry use filter.
- Replace lid and lock securely.
WARNING:
When vacuuming liquid, make sure the canister vac does not get submerged or doused in liquid, which could cause shock, vacuum failure, or personal injury.
MAINTENANCE
WARNING:
When servicing, use only identical replacement parts. Use of any other part could create a hazard or cause product damage.
GENERAL MAINTENANCE
void using solvents when cleaning plastic parts. Most plastics are susceptible to damage from various types of commercial solvents and can be damaged by their use. Use clean cloths to remove dirt, dust, oil, grease, etc.
WARNING:
Do not at any time let brake fluids, gasoline, petroleumbased products, penetrating oils, etc., come in contact with plastic parts. Chemicals can damage, weaken or destroy plastic which could result in serious personal injury.
REMOVING WASTE FROM THE COLLECTION CONTAINER
See Figure 7 – 8, page 9.
The collection container should be checked, emptied, and cleaned periodically to obtain maximum efficiency.
Dry waste:
- Remove the battery pack.
- Unlock the four locking latches and remove the lid.
- Remove the dry use filter.
- Inspect filter, lightly shake any dust or dirt from the filter, or replace as necessary.
- Empty the collection container; wash out if necessary.
- Replace dry use filter.
- Before replacing the lid, make sure all pieces are completely dry.
- Replace lid and lock securely.
Liquid waste:
- Remove the battery pack.
- Unlock the four locking latches and remove the lid.
- Empty the collection container; wash out if necessary. Before replacing the lid, make sure all pieces are completely dry.
- Replace lid and lock securely.
CAUTION:
Do not allow liquid pick up to remain in the collection container for extended periods of time. Moisture can develop in the motor compartment and shorten the life of the motor.
CAUTION:
Do not turn unit upside down, as liquid may enter the motor unit.
REPLACING THE FILTER
See Figure 9, page 9.
- Remove the battery pack.
- Unlock the four locking latches and remove the lid.
To clean:
- Remove the dry use filter.
- Lightly shake any dust or dirt off the filter.
To replace:
- Remove the old filter.
- Replace with new filter.
NOTE: Make sure the filter is seated properly for dry vacuuming. Remove the filter for wet vacuuming.
STORAGE
- Clean all foreign material from the wet/dry vac.
- Clean the outside of the collection container with warm water and mild soap.
- Empty and clean the collection container, flexible hose, wands, and attachments with warm water and mild soap and allow to completely dry before storage.
- Store flexible hose and attachments inside the collection container or on the lid.
- The collection container should be disinfected as needed and before prolonged storage.
- Store indoors in a place that is inaccessible to children. Keep away from corrosive agents such as garden chemicals and de-icing salts.
ACCESSORIES
Look for these accessories where you purchased this product or call 1-800-525-2579:
- Dry Use Filter ………………………….313052001

A – Collection container
B – Accessory storage bands
C – Extension wands
D – Flexible hose
E – Crevice tool
F – Wide nozzle
G – Locking latches
H – Lid
I – Dry use filter
![]() | ![]() | ![]() |
| A – Tapered end B – Extension wand C – Locking latches D – Locking tab E – Flexible hose | A – Battery pack B – Depress latch to release battery pack | A – ON/OFF switch B – On C – Off |
![]() | ![]() | ![]() |
| A – Flexible hose B – Extension wand C – Crevice tool D – Wide nozzle | DRY VACUUMING | WET VACUUMING |
![]() | ![]() | ![]() |
| A – Locking latches B – Dry use filter C – Lid D – Collection container E – Dry waste | A – Locking latches B – Lid C – Collection container D – Wet waste | A – Dry use filter B – Filter seat C – To remove D – To install |
NOTES: ———————–
OPERATOR’S MANUAL/18V WET/DRY VAC
To request service, purchase replacement parts, locate an Authorized Service Center and obtain Customer or Technical Support:
Visit www.ryobitools.com or call 1-800-525-2579
If any parts or accessories are damaged or missing,
do not return this product to the store. Call 1-800-525-2579 for immediate service.
Please obtain your model and serial number from the product data plate.
This product is covered under a 3-year limited Warranty. Proof of purchase is required.
MODEL NUMBER ______________
SERIAL NUMBER _______________
RYOBI is a trademark of Ryobi Limited and is used pursuant to a license granted by Ryobi Limited.
This manual was downloaded from wet-dry-vac.com
The most comprehensive source of information about wet/dry shop vacuums on the Internet!
Wet-dry-vac.com allows you to learn about how to purchase a wet/dry vac, compare and review detailed specifications on hundreds of models, and find compatible filters.
You can also view manuals, parts lists and brochures for hundreds of models. Plus, you can find the best prices for vacuums and filters, and purchase online right from the site.

ONE WORLD TECHNOLOGIES, INC.
1428 Pearman Dairy Road, Anderson, SC 29625
Phone 1-800-525-2579
États-Unis, Téléphone 1-800-525-2579
USA, Teléfono 1-800-525-2579
www.ryobitools.com
Wet-Dry-Vac.com Site Copyright ©2023 Christopher Komuves
995000304
8-22-17 (REV:02)
























