One LIGHT 10105FD Spots Fixed LED
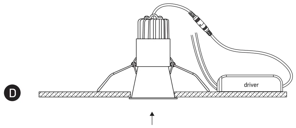
PRODUCT OVERVIEW AND ASSEMBLY


FEATURES AND SPECIFICATIONS
230V I COB LED I SW I IP20 I Aluminium Complete with 300mA driver.

Warnings
- Make sure that the product is installed properly before connecting to electricity.
- Do not cover the fitting.
- Maintenance and installation should only be carried out by a professional electrician.




















