QAZQA Gissi CL Modern Ceiling Spot

INSTALLATION INSTRUCTION

FEATURE
SAFETY INSTRUCTION
Please study the instruction manual and below information carefully before installing or using this product. Please keep this user manual for further reference
- The luminaires may only be installed by authorized and qualified technicians according the valid regulations for electrical installation.
- Maintenance of the luminaires is limited to their surfaces. During maintenance no moisture can come into contact with any areas of the terminal connections or voltage control parts.
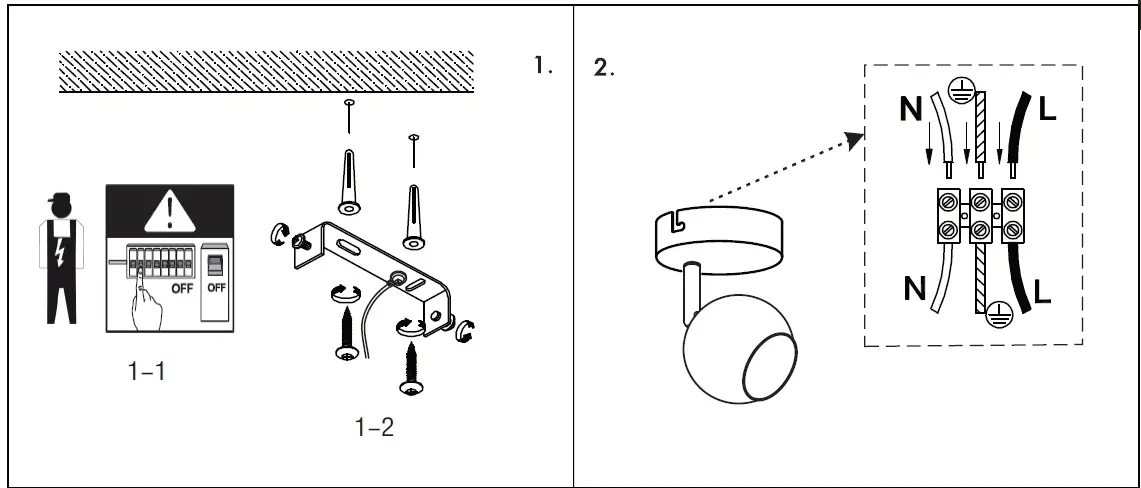
- The electrical supply must be switched off at the outset, preferably by means of a switch in the distribution box, before any installation, maintenance or repair work is undertaken.
- Exterior lighting must not be installed during rain.
- Take account of the minimal separation distance from other objects and the room required around the fitting.
- If in any doubt, consult a professional, taking local installation requirements into account. Some countries stipulate that lighting may be installed only by registered installers.
- Clamping screws in electrical connections must be adequately tightened. This is particularly the case with 12V low voltage conductors.
- Clean with a clean, dry cloth or brush, use no solvents or abrasives. Avoid dampness on all electrical components
- Take account of all available technical information.
Meaning of symbols:
![]()
- For indoor use only, where direct contact with water is impossible
- This icon indicates the level of water-proof and dust-proof
- Protection Class I: the fitting must be earthed
- Protection Class l: the fitting is doubled insulated and does not require earthing
- Protection Class Ill: the fitting is low voltage
- Minimum distance from lighted objects (meters)
- The type of lamp and maximum size and wattage indicated in each lighting unit must not be exceed; different items require different kind of light sources with different bulb icons
- The armature is designed to work only with the indicated voltage. Different items require different working voltage.
- The luminaire can be used in combination with a dimmer
- The reference light angle and light space of the luminaire
- This luminaire cannot be disposed together with normal domestic waste in standard rubbish can, but you have to bring it to a staging area for electrical waste
Take note of the symbols when connecting wires

- Live conductor
- Earth conductor
- Neutral conductor
Smaragdweg 52, 5527 LB Hapert, The Netherlands www.qazqa.nl























