instamic PRO PLUS Wearable Wireless Waterproof Microphone Recorder

OVERVIEW


WHEN USING YOUR
Always be aware of your surroundings to avoid injury to yourself and other, and to prevent damage to your device.
POWERING INSTAMIC
Press and hold the Power Button for 1 second. Press and hold the Power Button for 3 seconds until LED3 turns off, then Release.
RECORDING
When Instamic is turned on, press the Recording Button one time. After 10 secs the VU Meter LEDs turn off by default. Instamic is still recording. Auto turn-off option available on our app’s Settings. While recording, press the Recording Button one time to check that Instamic is still recording. The red LEDs will turn on. With the LEDs still on, press one more time to stop it. Factory default settings: Manual Gain / 10dbs / Mono See Instamic Mobile App Chapter to learn how to remote control and set up your Instamic via Bluetooth®
MANAGING AUDIO FILES
Connect Instamic to your computer with the included USB cable. Open Instamic audio files with your favorite media player or audio / video editing software (DAW, NLE).
REMOTE CONTROL YOUR INSTAMIC
Download the Instamic Remote on Android or iOS, and load it on your smartphone or tablet.

CONNECT PAGE
Tap one time on the Instamic you want to control. A green check appears once connected. Long tap on Instamic to disconnect. The green check disappears. Connect, Master-Sync Timecode, Record, Lock, Turn off all your Instamics with one tap. If you are already connected to Instamic, tap one more time on it to jump to its related Capture page.
CAPTURE PAGE

- RECORD Tap on the Recording button to start capturing. If auto-gain is on, Instamic starts recording after measuring the input gain on the first 8 secs.
- STOP Tap on the Recording button to stop. Instamic will save your take to its internal memory.
- GAIN Tap on the input gain or use the input gain fader to change value manually.
- MONITOR Tap on Monitor to check the Instamic’s audio feed. Press again to stop monitoring. Recording is disabled while monitoring
- VU METER Check the VU Meter to input the optimal level. For an interview, 10db is a good starting pointLEDS Toggle the LEDs on / off from your phone While recording, the LEDs work as a VU meter
SETTINGS
AUTOGAIN ON – After pressing the record button, Instamic starts measuring the optimal audio input level. After 8 seconds, Instamic sets the measured input gain until the next take. Through the app you are still able to optimize the level if necessary. OFF – Adjust the audio input level manually using the fader or tap on the input gain value (Capture Page).
RECORDING MODE
- 32-bit FLOAT MONO – High-dynamic-range mono track from the top microphones array
- 24-bit MONO – Mono track from the top microphones array
- 24-bit DUAL MONO – Two independent mono channels with exactly the same signal but different gain settings. Channel A at 0db (reference), Channel B settable to -9db, -15db, -24db.
- 24-bit STEREO (PRO Stereo only) – Stereo track from L and R side microphones.
- 24-bit MICRO Mid-Side (PRO Stereo only) – Mono A track from top microphones array (MID channel) and Mono B track from Left + Right (with 180° phase shift) microphones (SIDE channel). On your audio editing software, you can manipulate the Mid/Side image with a simple matrix: Left = Mid+Side, Right = Mid−Side (“minus” means 180° phase shift).
SAMPLE RATE
Select between 96kHz (only mono) or 48kHz
HANDS-FREE PROFILE
- ON – Instamic can be used as an external wireless microphone with any 3rd party app that support the Bluetooth® protocol.
- OFF – Instamic records uncompressed audio file into its internal memory.
- AUTO LEDS OFF ON – LEDs go off after 10 secs recording time OFF – LEDs stay on while recording
- SLEEP MODE ON – Choose when your Instamic should go to sleep when it is in stand-by mode. OFF – Your Instamic will stay on when in stand-by mode until it runs out of battery.
- RENAME Give a name to your Instamic to better keep track of it. Each take you record will get the name from your Instamic’s name.
- SAVE MONITORING SESSION An audio track is saved to your phone (iFiles on iOS or File Manager on Android) everytime a monitoring session is completed.
- TAKE NUMBERING Type the number (3 digits) from which your next take will start.
- TIME REMAINING Recording time remaining on the internal memory.
- BATTERY LEVEL Battery life remaining in percentage.
- FIRMWARE VERSION Instamic firmware installed onboard. Upgrade instructions on our Knowledge Base.
- SHUTDOWN Turn your Instamic off from your mobile device
NEW FEATURES
Check out our Knowledge base at support.instamic.io We like to add new features as often as possible!
BATTERY
SURFACE MOUNTING
Mount Instamic to your gear, vehicle and more with the included Velcro, Adhesive or Magnet Quick Release Clips. Apply velcro or adhesive mounts to a clean, smooth surface at room temperature only, at least 24 hours before use. Heat adhesive mounts with hot air to peel it off.

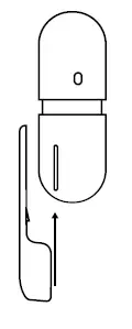
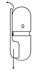
ATTACHING INSTAMATIC TO MOUNTS
ATTACH
Slide the quick release clip in

RELEASE
Gently bend the clip on top and slide it out.

FIRMWARE UPGRADE
UPGRADE
Register your Instamic at register.instamic.io and download the Firmware Upgrade application. Follow the upgrade’s instructions on-screen. Sign up for our Knowledge Base and Forum at support.instamic.io to get access to our latest documents and updated procedures.
WARRANTY
Instamic products and accessories are guaranteed against manufacturing defects one (1) year from the original date of purchase or date of delivery (only for Indiegogo backers). In the event of a defect, please contact Instamic customer support at [email protected] for assistance.
The following situations are not covered by the Instamic’s warranty:
a.Products subjected to abnormal strain, neglect, abuse, modification, or accidental damage; b. Products purchased from dealers or websites not authorized to sell Instamic products; c. Products with trademarks, logos, names, numbers, or other identifying information that have been altered or removed; d. Damage occurring during shipment; e. Any loss of digital information. g. Damage caused by improper installation, incorrect maintenance or use, or operation not in accordance with the official instructions or manuals. h. Damage caused by unauthorized repair. i. Damage caused by unauthorized modification of circuits, mismatch or misuse of battery and charger.
Instamic declares that the product placed on the market has been controlled and presents no imperfections on the surface, finish and/or overall aspect, evident
or only identifiable at the time of purchase, that have been caused by damage occurring during shipping or transport.
The presence of any imperfections is to be considered as a normal characteristic of the product and some properties, as a value of a product made by craftsmen and not as a manufacturing defect. Instamic’s sole obligation in the event of such defects during this period is to repair or replace the defective part or product with a comparable part or product at Instamic’s sole discretion. Except for such repair or replacement, the sale, processing or other handling of this product is without warranty, condition or other liability even though the defect or loss is caused by negligence or other fault. Instamic assumes no liability for any accident, injury, death, loss, or other claim related to or resulting from the use of this product. In no event shall Instamic be liable for incidental or consequential damages relating to or resulting from the use of this product or any of its parts. Returns or replacements of parts and/or products may be subject to shipping, handling, replacement and/or restocking fees.
WARNING
Avoid using the unit in the following types of places, because doing so could cause malfunction: a. Places that become extremely hot or cold; b. Near heating devices or other sources of heat; c. Sandy or dusty places; d. Places with frequent vibrations. Abide by all local laws when using Instamic. There may be laws in your jurisdiction related to the use of an audio recorder in a particular manner, such as the use of a audio recording device as an invasion of privacy. Recording concerts, lectures and other events without the permission of the rights-holders is illegal.
FCC Statment
FCC REGULATION WARNING (FOR THE U.S.A.)
This device complies with part 15 of the FCC Rules. Operation is subject to the following two conditions: (1) This device may not cause harmful interference, and (2) this device must accept any interference received, including interference that may cause undesired operation. Any Changes or modifications not expressly approved by the party responsible for compliance could void the user’s authority to operate the equipment. FCC ID: T7V1315 EUROPEAN R&TTE DoC This product complies with the requirements of Directive 1999/5/EC To download the Declaration of Conformity, visit www.instamic.io
INDUSTRY CANADA (BLUETOOTH® MODULE)
This device complies with Industry Canada licence-exempt RSS standard (s). Operation is subject to the following two conditions: (1) this device may not cause interference, and (2) this device must accept any interference,including interference that may cause undesired operation of the device.
CONTAINS IC: 216Q-1316
JAPAN (BLUETOOTH® MODULE) This device is granted pursuant to the Japanese Radio Law and the Japanese Telecommunications Business Law MIC ID: [R]202-LSD072 The Bluetooth® word mark and logos are registered trademarks owned by Bluetooth SIG, Inc. and any use of such marks by Instamic is under license. Other trademarks and trade names are those of their respective owners. Instamic is a trademark of Instamic in the USA and other countries. Other product names, registered trademarks and company names in this document are the properties of their respective companies. The contents of this document and the specifications of the product could be changed without warning. Instamic, Inc. – San Francisco Copying or reproduction of this document in part or in whole without permission is prohibited.


















