JPL 575-368-001 Vision Mini+ 1080p HD Webcam

Ideal for all webcam users from education to remote and business workers.
- Plug & play solution – No software downloads needed
- Desk mount, monitor mount and tripod option
System Requirements
Windows® 2000/XP, Windows Vista® or Windows® 7/8/10, Linux with UVC (above Linux – 2.6.26) / MAC – OS X 10.4.8 or later, Win CE with UVC, Android 4.0 or above with UVC.
Features
- Full HD 1080p 30fps CMOS Camera
- Plug & play solution – No software download needed
- Compatible with all major softphones
- Built-in dual stereo microphones
- Full 360° rotation including 90° tilt for over desk viewing
- Full HD 1080p glass lens – No optical distortion
- Built in camera in-use LED indicator
- Integrated Privacy Lens Cover
- Automatic low-light correction
- 67° field of view
- Desk mount, monitor mount and tripod option
- AEC – Automatic Echo Cancellation
- ANS – Automatic Noise Suppression
- USB 2.0 Type-A
- 24 month warranty
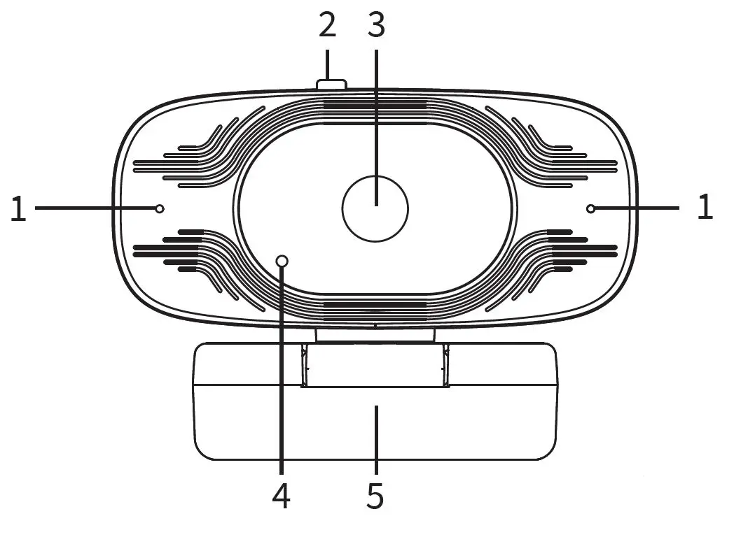
- Dual Microphones
- Privacy lens slider button
- Lens
- Camera in-use LED indicator
- Adjustable Mount
- USB Cable


Setting up your webcam
The Vision Mini+ is designed to suit the way you like to make a video call, whether it’s one to one or conference, you can place the Vision Mini+ webcam where you want it – on a computer monitor, desktop or tripod.

Positioning on a monitor
Grasp the webcam in one hand and open the flexible clip base with your other hand. Mount the webcam onto the top of the monitor, making sure that the foot on the flexible clip base is flush with the back of the monitor. 
Connecting your webcam
Connecting the USB adapter to your computer’s USB port is a simple plug & play process. No other action is required. There is no software download needed.

Using your webcam
Once you have connected the webcam to your computer via the USB cable you can open the visual collaboration software of your choice:Teams®, Zoom®, WebRTC, Webex, Bluejeans® and many more.
Most collaboration software packages allow you to choose your devices. Simply select the JPL Vision Mini for both microphone and camera.
Optimal Performance
- Do not sit in front of a window or other bright light source
- Having an uncluttered background will will have your viewers concentrating on you
- The mounting system allows for tilting and aiming the camera. While sitting in your normal position, your entire face should be just above the middle of the picture. Tilt and move the camera to frame up a good view.

Frequently Asked Questions
- No image displayed
- Check if the USB port and USB cable of the terminal device are connected correctly.
- Check if the USB cable is stable.
- Check if the USB port is working.
- Check softphone software is pointing to the Vision Mini.
- No image breaks frequently
- Check if the USB port and USB cable of the terminal device are connected correctly.
- Check if the USB cable is stable.
- The definition is not good after accessing software
- Check software video input settings to see if the camera video input is set correctly.
- No microphone TX sound
- Check softphone software is pointing to the Vision Mini.
- Check you have not muted the sound by accident.
- Check if the USB port and USB cable of the terminal device are connected correctly.
Conditions of Warranty
- JPL Telecom Limited, grants 24 months Manufacturer’s Warranty from the date of purchase, as the manufacturer of this product.
- For you, as a consumer, this means: We guarantee that our devices are error-free when supplied. If a manufacturing error is identified within 24 months of the delivery date we will repair or replace the device free of charge without you, as the consumer, having to provide the usual legally required proof that this fault was present when you received the device. We either use new parts or parts in mint condition for the repair or replacement delivery. Any parts removed from the device become our property and can be destroyed by us.
- In addition to this warranty, you have the unlimited legal right to claim against the supplier on the basis of the terms of the warranty for defects on the basis of the purchase contract. However, in contrast to our Manufacturer’s Warranty, the legal warranty for defects only applies to the device’s state when sold.
- You can only claim against this warranty if you return the faulty device to JPL Telecom Limited or our local general importer or distributor, outside of the UK, at your own cost, with a valid proof of purchase (invoice or till receipt). When you return it to us, please provide a detailed description of the fault that has occurred, and also tell us your telephone number, in case we need to contact you. To prevent shipping damage, provide suitable transport packaging (e.g. original packaging with a secondary shipping box).
- The Manufacturer’s Warranty excludes damage caused by mishandling, operating errors, misuse, external influences, lightning strikes/power surges, modifications to the product and extensions. Shipping damage, consequential damage, and costs arising from down times and travel times are also excluded.
- The warranty is cancelled if repairs are carried out by unauthorised agents.
General Limitation of Liability
The device is not designed, manufactured, or intended for use or resale, in environments that require fail-safe performance, such as in the operation of life-support systems and/or nuclear facilities. The device may only be used for these purposes with prior written permission from the manufacturer in each individual case.
Warning
Ensure that all electrical connections (including extension leads and interconnections between pieces of equipment) are properly made and in accordance with the relevant manufacturers instructions.
- Do not continue to operate the equipment if you are in any doubt about it working normally, or if it is damaged in any way. Disconnect from your computer and consult your dealer.
- Do not allow electrical equipment to be exposed to rain or moisture.
- Never push anything into holes, slots or any other opening on this product as this could result in fatal electrical shock.
- Do not open the webcam housing as doing so will void the warranty.
Safety
For your own safety, this product should only be used with CE ACA and RoHS approved equipment. Using this product with non approved equipment can void this products warranty. Unplug this product from the power outlet before cleaning. Do not use liquid cleaners or aerosol cleaners. Use a damp cloth for cleaning. Do not overload outlets and extension cords as this can result in risk of fire or electric shock.
Environmental Notice
If you want to dispose of the device, please ensure its professional disposal. Do not put it in the normal household waste.
Dispose of the packaging material properly and in interest of the environmental protection. Consult your responsible authority for information about the professional and environment-friendly disposal of your device. If you want that we handle the disposal for you, you can send the device at your costs to JPL Telecom Limited.
Declaration of Conformity
This device complies with the basic health, safety and environmental requirements in all relevant EU directives. You will find the Declaration of Conformity on our website.
REGISTERED ADDRESS
UK Office: JPL Telecom Limited
Units 1 & 2, Church Close Business Park, Church Close, Todber, Sturminster Newton, Dorset, DT10 1JH, England
USA Office: JPL Telecom Holdings LLC
445 W Merritt Ave, Merritt Island, FL 32953, USA
www.jpltele.com





















