
dmf DID4 Adjustable LED Module Instruction

For use with DMF Lighting’s M-Series, OneFrame, SquareFrame, Classic Frames, and most 4″, 5″ or 6″ recessed lighting housings
See dmflighting.com/compatibility for additional information.
Safety Information
For your safety, read and understand these instructions completely before starting installation. The electrical product contained herein is designed to meet the requirements of UL 1598 and the current NFP regulations as published in the NEC. Specific modifications and revisions in your area may differ from this standard. Compliance with local building and electrical codes must be confirmed before installation.
- WARNING – To prevent wiring damage or abrasion, do not pinch or damage exposed wiring during installation. Keep away from edges of sheet metal or other sharp objects.
- WARNING – Risk of fire or electric shock. Installation of this retrofit assembly requires a person familiar with the construction and operation of the luminaire’s electrical system and the hazard involved. If not qualified, do not attempt installation. Contact a qualified electrician.
- WARNING – Risk of fire or electric shock. Install this kit only in the luminaires that have the construction features shown in the photographs and / or drawings. Do not make or alter any open holes in an enclosure of wiring or electrical components during kit installation.
- WARNING – Risk of fire or electric shock. Do not alter, relocate or remove wiring, lampholders, power supply, or any other electrical component.
Pre-Installation
Power to luminaire power must be turned off prior to installation. Failure to do so may cause electric shock, which may result in injury or death. Ensure that electrical connection is in accordance with local and NEC standards and that wiring is either 120VAC or 277VAC.
Retrofit Installation
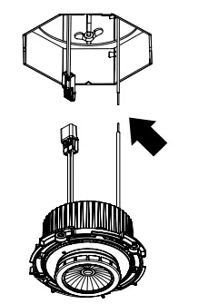
- Remove existing trim and lamp from recessed housing.
- If necessary, connect proper adapter (not included) to existing housing.

- Place module onto trim and turn module clockwise until secure.

- Make ground wire connection and attach ground wire terminal (factory installed on module) to housing per national and local electrical code.
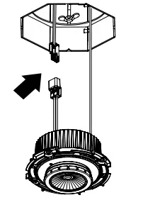
- Connect module female connector to adapter male connector.

- For 4″ applications, align spring clips inside housing and push up until trim is flush with ceiling surface. For 5″ or 6″ applications, flex torsion springs and install in corresponding housing tabs. Push up until trim is flush with ceiling surface.

OneFrame/Square Housing Installation
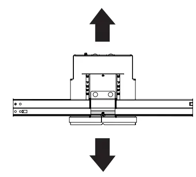
- Loosen two wing nuts (factory installed) inside junction box.

- Adjust vertical position by moving junction box up or down. Once flush with ceiling, lock vertical positioning by tightening two wing nuts on inside of junction box.

- Connect hardwire adapter (included) to junction box electrical leads.

- Make ground wire connection and attach ground wire terminal (factory installed on module) to junction box per national and local electrical code.

- Connect module female connector to hardwire adapter male connector.

- Install two screws (included) into screw holes in module flange.

- Carefully route wires into junction box and place module into junction box, aligning screws to screw holes in junction box bracket. Screw to junction box.
Note: Do not push module into ceiling.
- Align trim onto module and turn trim clockwise until secure.
Note: Trim must be securely attached to module. Turn until tension clip is aligned with junction box notch.
- Push trim up until flush with ceiling.
Note: To remove trim, turn trim counterclockwise then pull down. - To adjust, rotate and tilt light module to direct light until desired lighting coverage is achieved.
Note: Light module rotates 360º and tilts 45º. Arrow indidcates tilt position.
M-Series Round Installation
- Loosen two wing nuts (factory installed) inside junction box.

- Adjust vertical position by moving junction box up or down. Once flush with ceiling, lock vertical positioning by tightening two wing nuts on inside of junction box.

- Connect hardwire adapter (included) to junction box electrical leads.
Note: Match colored wires with their respective colors on each end.
- Align trim onto module and turn module counterclockwise until secure.

- Make ground wire connection and attach ground wire terminal (factory installed on module) to junction box per national and local electrical code.
Note: Skip this step 8 for Ecosystem Dimming.
- Connect module connector.

- Place module into junction box. Push trim up until flush with ceiling.

- To adjust, rotate and tilt light module to direct light until desired lighting coverage is achieved.
Note: Light module rotates 360º and tilts 45º. Arrow indidcates tilt position.
Have a question? Contact us!
323.934.7779
[email protected]







































