SPKPL ODOP Smart Outdoor Outlet
User Manual
Model: SPKPL -ODOP- 120V-15A
Functions and Features:
Smart Outdoor Outlet controlled by phone application or voice.
Smart Outdoor Outlet working with Amazon Echo, Google Home, and IFTTT.
Customize your own personal cenes to suit your needs.
Share the device and let family members control it.
Package content
1 x Smart Outdoor Outlet
1 x User Manual
Smart Outdoor Outlet
User Manual
Model Number: SPKPL-ODOP-120V-15A
Waterproof Level: IP44
Parameters: AC 100-240V 50/60Hz
Max Power: 1875W(resistance loading)
Max Current: 15A
Rated Voltage: 125V
Working Temperature: -20~60°C(-4~140°F)
Remote Control: Smart Life APP
(Compatible with Android 4.1/IOS 8.0)
- Download the “Smart Life” app by scanning the code. Search Application named “Smart Life” at App Store or Google Play.

http://smartapp.tuya.com/smartlife - Register a Smart life account and sign in to the app. Tab ‘Add Devices’, then ‘Electronic Outlets.’
Note: Our APP only supports a 2.4GHz Wi-Fi network.
- Power on the device and press the button for 5 seconds, confirming that the indicator light rapidly blinks.
- After confirmation, enter your WiFi password. Connected and change your device’s name.
- Change the device name to an easily recognized word or phrase, like “bedroom light. DONE and succeed.

Quick Guide to Using Amazon Echo to Control Smart Devices
What you need to get started
- Stable Wi-Fi network which could access to Amazon server.
- An Echo device, including Echo, Echo Tap, or Echo Dot.
- An Amazon account.
- Smart Life app and a related account. Please refer to the user manual. Smart devices.
Link Smart Life account to Alexa
- Tap “Skills” in the hamburger menu, then search “Smart Life “. Select “Smart Life ” and tap “ENABLE” to enable the Skill.

- You will be redirected to the account link page. Type in your Smart Life account and password, don’t forget to select the country/region where your account belongs o. hen tap “Link Now” to link your Smart Life account. The country/region, account, and password ust be the same as your registry.

Control your smart devices through Echo
- Discover devices
Echo needs to discover your smart devices before it controls them. You can say “Alexa, discover devices” to Echo. Echo will discover devices that have already been dded in the Smart Life app. You can also tap “DISCOVER” to discover the smart devices. Discovered devices will be shown in the list.
- Control devices by voice commands
Now you can control your smart devices through Echo. You can use the following commands to control your devices(e.g., bedroom light ):
Support Skill List
Users can control devices by instructions like below:
Alexa turned on the bedroom light
Alexa turned off the bedroom light
Note: every time you change the device’s name on the Smart Life app, Echo must re-discover before you control them.
Note: The name of the device must be consistent with the addition of the SmartLife app
Quick Guide to Using Google Home to Control Smart Devices
What you need to get started
- A Google Home device, or Android phone with Google Assistant.
- Latest Google Home app.
- Latest Google app (Android only)
- A google account.
- The device display language must be set to English US.
- Smart Life app and a related account.
- Smart devices.
Link Smart Life account in Home Control
- Tap “Home Control” in the hamburger menu on the Google Home app’s home page, then tap “+”.

- Find “Smart Life” in the list. In the new window, select your Smart Life account’s region, type your Smart Life account and password, then tap “Link Now”. After you assign rooms for devices, your devices will be listed in the Home Control page.

Control your smart devices through Google Home
Now you can control your smart devices through Google Home. Take bedroom light as an example, the supported voice commands are as below:
- OK, Google turns on the bedroom light.
- OK Google turn off the bedroom light
Quick Guide of Using IFTTT to Control Smart Devices
What you need to get started
- Stable Wi-Fi network which could access to IFTTT server.
- A device, which could use IFTTT service, including a computer or mobile device.
- An IFTTT account could be replaced by a Facebook account or
- Google account.
- Smart Life app and a related account.
- Smart devices could be controlled by the IFTTT service.
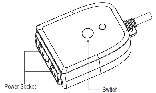
- Power Socket Switch
Set up IFTTT and enable Smart Life Skill
Users can configure IFTTT through the web or app. We take app configuration as an example in this guide.
Web: https://ifttt.com/discover(Configurationthrough web is basically the same as an app) App: Search “IFTTT” in App Store or Google Play to install the app.
Sign in IFTTT app
- Open the IFTTT app by tapping the app icon on your mobile device.
- Type in your IFTTTaccount and password, then tap “Sign in”. IFTTT account could be replaced by a Facebook account or Google account.
- When you sign in IFTTT app successfully, the display in the app is shown below

Link Smart Life account to IFTTT
- Tap “Search” below the screen, then enter “Smart Life” in the search box, select the “Smart Life” option, and tap”Connect” to enable Smart Life.

- You will be redirected to the account link page. Type in your Smart Life account and password, don’t forget to select the country/region which your account belongs to. Then tap “Link Now” to link your Smart Life account. You can check it in the “Services” of “My Applet”.

Create Applet to control your smart devices (Example 2)
IFTTT is the abbreviation of “If this then that”. “Applet” represents a complete task composed of conditions & tasks. “this” represents the condition, while “that” represents the task. Example 2: create an Applet (If I come to the area, my bedroom light will be turned on automatically)
- Create “this” to configure the trigger
Step1, tap the “My Applets” tab in the IFTTT app and then tap the “+” symbol on the top right of the screen to establish a new Applet.
Step2, tap “this” to add a condition for Applet, and then tap”Location” on the service search page.
Step 3, select detail trigger in “Location”, such as “You enter an area”.
Step 4, select a specific area by dragging the map or directly entering the location name.
Step 5, tap the “√” on the top right of the screen to save this condition.
Create “that” to configure the task
- Tap “that” to add a task, then enter “Smart Life” in the search box, and select the “Smart Life” option.
- Select detail action in Smart Life, such as “Turn on”.

- Choose the corresponding equipment, and then tap the “√” on the top right of screen to save this task.
- Tap “Finish” to complete the creation of this Applet, and it will be saved automatically. You can check it in the “All” of “My Applet”.When we turn on the bedroom light (trigger condition), the color of the light will be set to green automatically (to perform the task).

Federal Communication Commission Interference Statement
This equipment has been tested and found to comply with the limits for a Class B digital device, pursuant to Part 15 of the FCC Rules. These limits are designed to protect reasonably against harmful interference in a residential installation. This equipment generates, uses, and can radiate radio frequency energy and, if not installed and used in accordance with the instructions, may cause harmful interference to radio communications. However, there is no guarantee that interference will not occur in a particular installation. If this equipment does cause harmful interference to radio or television reception, which can be determined by turning the equipment off and on, the ser is encouraged to try to correct the interference by one or more of the following measures:
- Reorient or relocate the receiving antenna.
- Increase the separation between the equipment and receiver.
- Connect the equipment into an outlet on a circuit different from that to which the receiver is connected.
- Consult the dealer or an experienced radio/TV technician for help.
Caution: Any changes or modifications not expressly approved by the party responsible for compliance could void the user’s authority to operate this equipment.
FCC Caution:
This device complies with Part 15 of the FCC Rules. Operation is subject to the following two conditions: (1) This device may not cause harmful interference, and (2) this device must accept any interference received, including interference that may cause undesired operation.
FCC Radiation Exposure Statement:
This equipment complies with FCC radiation exposure limits set forth for an uncontrolled environment. This equipment should be installed and operated with a minimum distance of 20cm between the radiator & your body.
RF Exposure: A distance of 20 cm shall be maintained between the antenna and users, and the transmitter module may not be co-located with any other transmitter or antenna.










Step1, tap the “My Applets” tab in the IFTTT app and then tap the “+” symbol on the top right of the screen to establish a new Applet.




















