
Installation Guide
Temperature regulating valve
ORV 25-80 (1-3 in.)
![]()
Installation



Oils
Applicable to all common refrigeration oils.
Refrigerants
Applicable to all common refrigerants, including R717 and non-corrosive gases/ liquids dependent onsealing material compatibility.
The valve is only recommended for use in closed circuits.
For further information please contact Danfoss.
Temperature range
Minimum operating temperature: ≥ −10ºC (14ºF)
Max. temperature limit based on the element temperature settings:
| Types | Max limit |
| 43 °C / 110 °F | 77 °C / 170 °F |
| 49 °C / 120 °F | 82 °C / 180 °F |
| 60 °C / 140 °F | 93 °C / 200 °F |
| 77 °C / 170 °F | 110 °C / 230 °F |
Pressure range
The valves are designed for a max.
working pressure of 40 bar g (580 psi g.)
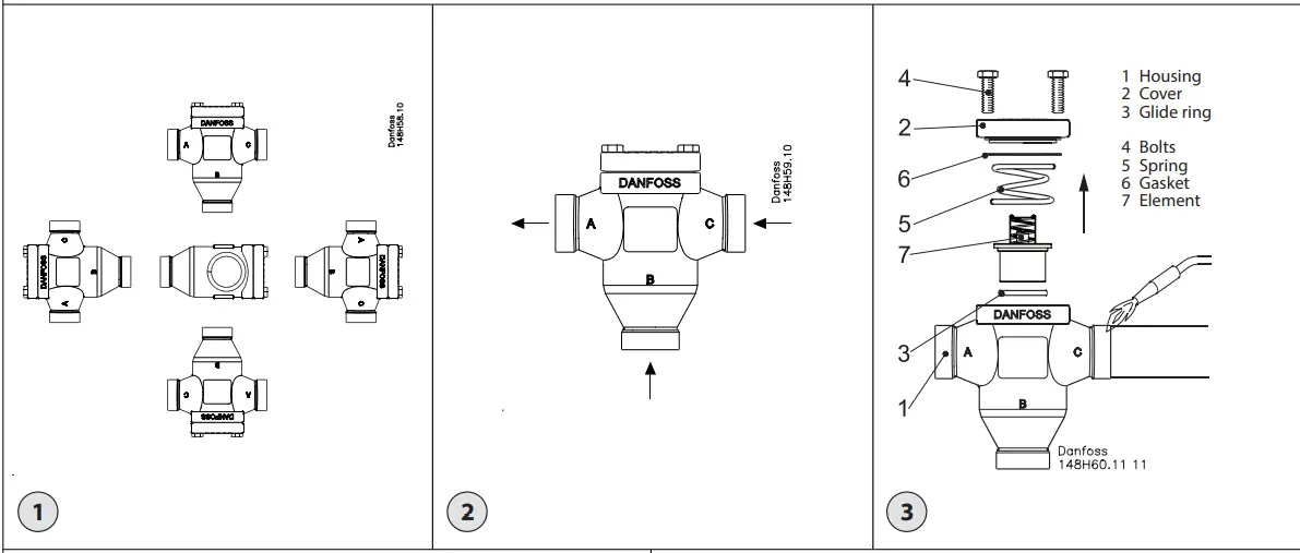
Installation (Fig. 1)
The valve can be installed in any position (fig. 1), however, oil spills can be avoided when servicing, if the top is mounted vertically upwards. The valve is designed to withstand a high internal pressure. However, the piping system should be designed to reduce the risk of hydraulic pressure caused by thermal expansion. It must be ensured that the valve is protected from pressure transients like accelerated liquid in the system.
Recommended flow direction (Fig. 2)
To achieve correct flow direction and function, the letter designations, A, B and C on the valve housing must be followed as shown in fig. 2. Refer to the technical leaflet to find application example.
Welding (Fig. 3)
The top cover (2), gasket (6), spring (5), and thermostatic element (7), must be removed before welding (fig. 3), to prevent damage to the thermostatic element sensor (7).
(This must be done if the valve has not been ordered from the parts program.
When ordering from the parts program the element is not mounted in the valve). The teflon glide ring (3), in the housing (1), should be removed if the temperature will exceed 240°C (460° F). Only materials and welding methods, compatible with the valve housing material, should be used.
The valve should be cleaned internally to remove weld debris on completion and before the valve is reassembled.
Weld debris and dirt in the interior of the housing and on the glide ring should be avoided. Temperature during welding can be limited to the required limit depending on welding method and any cooling applied to the valve body. (Cooling can be ensured by, for example, wrapping a wet cloth around the valve body). Damage to the teflon glide ring should be avoided. The valve housing must be free from stresses (external loads) after installation.
Assembly (Fig. 5)
Remove weld debris and any dirt from pipes and valve body before assembly. Check that the Teflon glide ring is free from damage prior to mounting the thermostatic element (fig. 5).
Tightening (Fig. 4)
Tighten the top cover bolts using a torque wrench, to the values indicated in the table (fig. 4). Over tightening can cause damage to the gasket.
Colours and identification
The ORV valves are painted with a red oxide primer from the factory. Precise identification of the valve is made via the cast text on the valve body and top. The external surface of the valve housing must be treated with a suitable protective coating after installation and assembly.
Maintenance
Servicing
The ORV will fail if the thermostatic element is worn out.
It is recommended that the thermostatic element is function tested if the temperature control is not responding as designed.
Test of thermostatic element (Fig. 6)
After dismounting of the thermostatic element observe the element position. If the temperature of the actuator is approx. 20°C (68°F), the element should look as shown in fig. 6a.
Insert the active part of the element into water. Make sure that the water temperature is equal to “the set temperature” added 6ºC / 43 ºF (see fig. 6b).
The set temperature can be read from the ingraving on the thermostatic element (see fig. 6a).
Observe the element open into a position as shown in fig. 6b. The difference between fully open and fully closed should be approx. 9.5 mm (0.375 in.). The element must be replaced if this stroke cannot be achieved.
Glide ring
The surface of the glide ring must be inspected to ensure that no damage has occurred. Scratch marks and the like can cause oil flow to bypass the element making the temperature regulation less accurate.
Assembly (Fig. 5)
Remove any dirt from the body before the valve is assembled. Check that the thermostatic element and top gasket are in position.
Lubricate the glide ring for ease of fitting of the thermostatic element. Excessive force can damage the glide ring. Only apply moderate force.
Reposition and secure top.
Tightening (Fig. 4)
Tighten the top bolts with a torque wrench, to the values indicated in the table (fig. 4). Over tightening can cause damage to the gasket.
Use only original Danfoss parts, including thermostatic elements, gaskets and glide rings for replacement. Materials of new parts are certified for the relevant refrigerants and oils.
In cases of doubt, please contact Danfoss. Danfoss accepts no responsibility for errors and omissions. Danfoss Industrial Refrigeration reserves the right to make changes to products and specifications without prior notice.
Danfoss A/S Climate Solutions • danfoss.com • +45 7488 2222
Any information, including, but not limited to information on selection of product, its application or use, product design, weight, dimensions, capacity or any other technical data in product manuals, catalogues descriptions, advertisements, etc. and whether made available in writing, orally, electronically, online or via download, shall be considered informative, and Is only binding if and to the extent, explicit reference is made in a quotation or order confirmation. Danfoss cannot accept any responsibility for possible errors in catalogues, brochures, videos and other material. Danfoss reserves the right to alter its products without notice. This also applies to products ordered but not delivered provided that such alterations can be made without changes to form, fit or function of the product. All trademarks in this material are property of Danfoss A/S or Danfoss group companies. Danfoss and the Danfoss logo are trademarks of Danfoss A/S. All rights reserved.


















