

XL-BTR1
UNIVERSAL BLUETOOTH RECEIVER
Application Guide
Please read through this manual to familiarize yourself with your new Bluetooth Receiver. Should your PowerBass Xtreme Bluetooth Receiver ever require service, you will need to have the original dated receipt.
BLUETOOTH PAIRING AND OPERATION
- Ensure your streaming device has Bluetooth enabled.
- Turn the ignition (ACC) on.
- The LED starts blinking (pairing mode).
- Select XL-BTR1 in your device’s Bluetooth setup menu.
- When successfully connected, the LED on the XL-BTR1 will stop blinking and remain lit. A single beep will be heard through the connected sound system.
NOTES
– Multiple devices can be paired to the XL-BTR1 but only one device can be connected at a time.
– The XL-BTR1 will automatically connect to the last device it was paired with. If that device is not active, other devices will need to be paired manually.
– When a connected device is out of range for more than a minute, the XL-BTR1 will automatically disconnect and return to pairing mode.
– Once connected, audio, volume, and media selection is controlled from the streaming device.
– The XL-BTR1 can be installed in a concealed location since there are no user controls that need to be accessed.
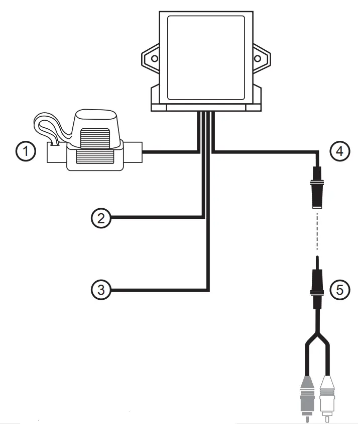
WIRING
- Connect the red power wire to a switched power source.
- Connect the black ground wire to either chassis ground or directly to the battery (on most off-road, marine, motorcycles, and recreation vehicles the battery ground will
be the best location to get your grounding point from). - Connect the blue wire to the remote turn-on lead of your amp. This will turn your amp on and off from the XL-BTR1.
- Connect the 3.5mm output to your amplifier using either a 3.5mm to 3.5mm extension cable (if the amplifier has a 3.5mm input) or the supplied 3.5mm to RCA signal adapter cable.
SPECIFICATIONS
– Power: 12V DC
– Current Consumption: 40mA max
– Certified 4.2 Bluetooth Chip
– Frequency Range: 20Hz-20kHz
– Output Level: 1V RMS / 2V max
POWERBASS XTREME LIMITED WARRANTY POLICY
PowerBass USA, Inc. offers a limited warranty on PowerBass products under normal use on the following terms: PowerBass Xtreme Accessories are to be free of defects in material and workmanship for a period of one (1) year.
This warranty applies only to PowerBass products sold to consumers by Authorized PowerBass Dealers in The United States of America. Products purchased by consumers from a PowerBass dealer in another country are covered only by that country’s Distributor and not by PowerBass USA.
This warranty covers only the original purchaser of the PowerBass product. In order to receive service, the purchaser must provide PowerBass with the receipt stating the consumer name, dealer, product, and date of purchase.
Products found to be defective during the warranty period will be repaired or replaced (with a product deemed to be equivalent) at PowerBass’s discretion and will not be liable for incidental or consequential damages. PowerBass will not warranty this product under the following situations:
- Speakers received with bent/cracked frames or significant water damage
- Abuse such as holes in the cone surround or ripped spider
- Voice coil damage due to amplifier clipping or distortion
- Amplifiers received with apparent rust or corrosion
- Any evidence of liquid damage or exposure to excessive heat
- Attempted repairs or alterations of any nature
- The product that has not been installed according to this owners manual
Any implied warranties including warranties of fitness for use and merchantability are limited in duration to the period of the express warranty set forth above. Some states do not allow limitations on the length of an implied warranty, so this limitation may not apply. No person is authorized to assume for PowerBass any other liability in connection with the sale of this product.
Please call (909) 923-3868 for PowerBass Customer Service. You must obtain an RA# (Return Authorization Number) to return any product to PowerBass. The RA number must be prominently marked on the outside of the shipping carton or the delivery will be refused. Please pack your return carefully; we are not responsible for items damaged in shipping. Return the defective product along with a copy of the original dated retail sales receipt, plus $12.00 for handling and diagnostic evaluation to:
PowerBass USA, Inc.,
Attn: Returns (RA#__________)
2133 S. Green Privado, Ontario, CA 91761
Residents of HI, AK, and US territories will be charged for return shipping. All inquires regarding service and a warranty should be sent to the above address.
Removed or altered serial numbers will void this warranty
- RED WIRE – 12V Ignition Lead
- BLACK WIRE – Ground Lead
- BLUE WIRE – Remote Amp Turn-on Lead
- 3.5mm Preamp Output – Connect to amplifiers with 3.5mm input
- RCA to 3.5mm Adapter – Connect to amplifiers with RCA input

PowerBass Xtreme – A division of PowerBass USA, Inc.
2133 S. Green Privado, Ontario, CA 91761
Tel. (909) 923-3868 – Fax (909) 923-8048
www.powerbassusa.com
This manual is the exclusive property of PowerBass USA, Inc. Any reproduction of this manual, or use other than its intentions is strictly prohibited without the express consent of PowerBass USA, Inc. © 2020 PowerBass USA, Inc.



















