aiwa EB602RD Earphone

Introduction
Thank you for purchasing the wireless earphone aiwa EB602RD.
The earphone provides light-weight rich sound, wraps around the ear for increased stability that are ideals for the sport user. The feature friendly buttons design that makes it easy to operate the play, stop and skip audio functions and answer a call with hands-free. Built-in rechargeable battery provides more music playing and standby time.
Note
- Please readthe user’ s manual carefully before using, and keep it properly for future reference.
- There will be a prompt tone when the volume reaches the maximum level.
- You can only pair and connect one device every time, To switch Bluetooth device. disoonnect the earphone from the current device (disable the Bluetooth feature) before connecting to another.
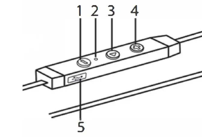
Product Indicator
- – Button Decrease volume
Skip to previous track. - Microphone indicate light
- On /Off
on off function.
Multifunction. - + Button
Increase volume
Skip to next track. - Charging Connector.

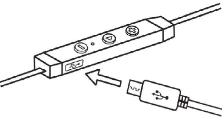
Charging the Battery
Open the plastic plug of USB connector. Coonect the micro USB charging cable to any power source and the USB connector of yoor earphone for charging, The earphone LED turns to solid red during charging. It takes about 2 hours for the charge. When the battery is fully charged • the LED tt.rns to Blue.
Note: It is strongly recommended fully charging for the first use.

Status Description
Flashing Blue Power on/Standby
No Liqht Power off
Solid Red Charging
Fast Flashing Blue Seardiing Device
Blue and Red alternately Pairing mode
Flashing Red low battery
Pairing with Bluetooth Devices
Pairing the earphone with a computer
Before pairing the earphone with your computer, please make sure your computer or laptop has the built-in Bluetooth feature. If not. you must purchase a Bluetooth dongle, preferably version 2.1 or above,
- Make sure the earphone is off.
- Start the Bluetooth program in the computer.
- The “Search new device” screen will be displayed.
- Do not place both devices more than one meter away from each other.
- Press the function button for 3 seoonds you will hear “Power On” keep press 6-8 seconds until the LED flashes blue and red alternately to enter the pairing mode, You will hear “Pairing”.
- As soon as the system detects the new device and select aiwa EB602RD.
- If your computer ask you to enter the PIN code, please enter 0000 (4 zero). Once successfully paired, the blue LED is always on.
You will hear “Connected”.
Pairing the earphone with a phone
- Make sure the earphone is off.
- Do not place both devices more than one meter away from each other.
- Press the function button for 3 seconds you will hear “Power On” keep press 6-8 seconds until the LED flashes blue and red alternately to enter the pairing mode. You will hear “Pairing”.
- Start Bluetooth function on your phone and search for new devices.
- Select the “aiwa EB602RD” to pair. Once successfully paired, the blue LED is always on, You will hear “Connected”.
Note: The earphone will power off if not paired within 5 minutes.
Control Instructions

Specifications
Item NO. EB602RD
sensitivity 83dB±3dB
power rating 3mW
Frequency Response 20Hz – 12,000Hz
Bluetooth version 4.1
Bluetooth protocol A2DP, AVRCP, HFP, HSP
Bluetooth distance 10 Meters.
Battery model Lithium batter 60mahx2
Playume 6 Hours.
Charge time 2 Hours.
Distortion 0.1%&1mW
Net weight 17g
Package Contents
- Wireless earphone EB602RD x 1
- Micro USB charging cable x 1
- Ear tips x 2 sets
- EVA pouch x 1
- User’s manual x 1
Troubleshooting
Q: The earphone cannot be powered on.
A: The battery may be flat Please recharge the battery and try again.
Q: Why doesn’ t the earphone pair with the mobile phone?
A: Please check the follOVvings,
- Check that the earphone is charged and is in pairing mode.
- Make sure that the mobile phone’s Bluetooth function is on.
- Make sure that the two devices are in the effective pairing range. (10 meters)
- Make sure that there is no obstacle between the earphone and the mobile phone, such as electronic equipment and a wall.
- Furthermore, you can try restarting the earphone and pairing it with the mobile phone again.
Q: There is some noise.
A: Bluetooth is a radio technology, so it is sensitive to obstacles between the earphone and the pairing device.
Please make sure that there is no obstacle between the two devices and is within the range. ( 10 meters)
Q: I can’t hear sound.
A: Please check the follOVvings.
- Try increase the volume.
- Make sure that the Bluetooth function is on and whether the two devices are connecting and in the range. (10 meters)
- Make sure the earphones are close enough to your device, and there is no obstacle between them,
Q: My mobile phone or computer cannot find the earphone,
A: Please check that the earphone is in pairing mode. Pairing with Bluetooth devices.
Sometimes when the earphone is connected too many Bluetooth devices, it cannot search and pair effectively. Or your mobile phone and computer are already connected to many other devices. Try removing some connections before searching the earphone,




















