
TENSSEN
INSTALL
WALL MOUNTED LOUDSPEAKERS
USER MANUAL
| Contents: English Manual Specifications | Page: 2 – 9 10 – 16 |
INTRODUCTION
The Tessen wall mount installation speaker range includes 3 models: TNi-W4 (4 inches), TNi-W6 (6.5 inches), and TNi-W8 (8 inches)
providing premium audio reproduction with effortless installation. Each of the TNi-W speakers features adjustable power settings, and the ability to connect to 70V/100V or 8 Ohm lines. Vertical or horizontal mounting is possible using the included multi-position steel bracket, ensuring the engineer has everything required when the box is opened on site. With
Euroblock or M4 input and output connectivity, the TNi series delivers versatility for the job at hand and all enclosed in lightweight ABS enclosures.
SAFETY
The cabinets should be installed by properly qualified persons, in compliance with all local regulations and laws.
The position of installation is also bound by laws and regulations so must be taken into account in the initial planning stages.
All installation equipment used is subject to regular safety checks which must be strictly adhered to.
If any of the hardware shows any signs of wear or damage, it should be replaced immediately.
Failure to do so could result in serious injury or death!
INSTALLATION
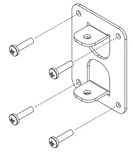
1: Choose a suitable location for the installation. Fixing is achieved via the four M4 fixing holes (indicated below) on the included mounting bracket.
Before proceeding, please consider the following:
- The structural integrity of the mounting surface.
- The type of fixing used. This is dependent on the structure of the mounting surface.
- The position of the mounting bracket, and available clearance for the cabinet.
- Rear clearance and the possibility of hidden hazards, such as wiring or pipework.
- For added security, the use of a safety harness is advised and may be legally required in your market.
VERTICAL AND HORIZONTAL CLEARANCE

| Model | X | Y | Z |
| TNi-W4 | 90 | 210 | 30 |
| TNi-W6 | 118 | 237 | 30 |
| TNi-W8 | 140 | 265 | 30 |
Z – A suggested minimum clearance (Dimensions in mm)
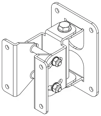
The easiest way to install the bracket system is as follows:
- Using spanners (indicated) remove the M8 bolt.
- Separate the bracket into halves.
- Using suitable fixing, attach the wall mounting bracket first.
- Attached is the other half of the bracket to the loudspeaker using the included bolts.
- Re-assemble the two halves of the bracket using the M8 bolt and associated hardware.

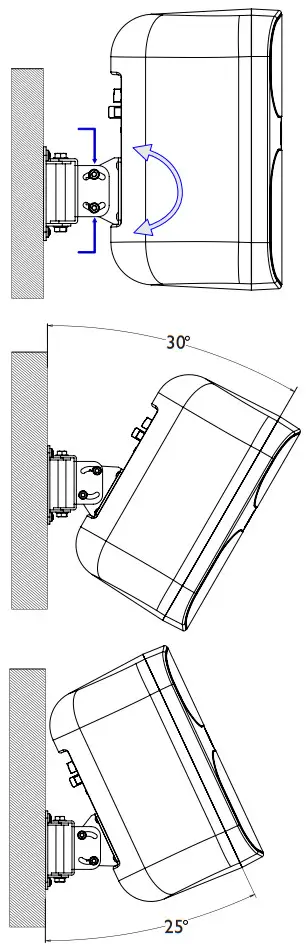
VERTICAL MOUNTING
ROTATION
To set the loudspeaker rotation, loosen the nut at the bottom of the bracket. Set the required rotation and re-tighten the nut afterward.
TILT
To set the loudspeaker tilt, loosen the two nuts indicated below. Set the desired tilt and re-tighten both nuts.

HORIZONTAL MOUNTING
ROTATION
To set the loudspeaker rotation, loosen the two nuts indicated below. Set the desired rotation and re-tighten both nuts.
TILT
To set the loudspeaker Tilt, loosen the nut indicated below. Set the desired rotation and re-tighten the nut.
CONNECTION
For convenience, the TN Wall mount loudspeaker range is fitted with both Euro-block and M4 screw input/output terminals. The I/O connections are wired in parallel so can be interchanged if required – please see the internal connection diagram below.
KEEP ALL SPEAKERS IN THE SAME POLARITY.
DO NOT MIX LOW IMPEDANCE AND LINE SPEAKERS IN THE SAME SYSTEM.
EUROBLOCK CONNECTION 
TERMINAL CONNECTION
INTERNAL CONNECTIONS
70V/100V line systems have the added advantage of allowing many speakers to be used in the setup using parallel connections. Ensure the cable used is capable of delivering the working current and the amplifier has sufficient drive capacity to support the number of speakers in the system. In the example below, the coil tap is set to 5 Watts, powered by a 100W /100V line amplifier. Each TNi’s output level within the system can be set independently based on the location and desired output level.

HOW MANY SPEAKERS CAN I CONNECT?
In the example to the right, the speaker tap is set to 5W (position 4) and the output of
the amplifier is 100W. This would allow for the theoretical maximum connection of up to 20 speakers per channel. Don’t forget to also allow for cable losses.
AMPLIFIER OUTPUT
VOLTAGE TAP SETTING
100W = 20 (total number)
5W
It is recommended however that systems are designed with 20% to spare capacity, so as not to put too much strain on the amplifier, or to allow for the addition of additional cabinets in the future.
20 x 80% = 16
(Recommended number of loudspeakers)
For safety reasons, it is essential that wiring and connections are installed by a professional only. The length of cable and gauge used are important for optimal performance.
Power Modes: Depending on the required output level, and the type of amplifier used to power the system, connections and settings will change. These are summarized below:
OPTION 1: 70V LINE SYSTEM
Five options are available for the 70V line system. Positions 1 to 4 offer variable output levels and the 5th will disable the speaker output.

OPTION 2: 100V LINE SYSTEM
As with the 70V line system, five options are available for the 100V line system. Positions 1 to 4 offer variable output levels and the 5th will disable the speaker output.
If the amplifier doesn’t have a 70V or 100V line output, the TN Low Impedance setting is used. In this mode, the TN cabinet has an input impedance of 8Ω.
Depending on the amplifier used, it may be possible to use more than one loudspeaker in this mode. Please check the amplifier specification before proceeding.
Once the TN cabinet has been set too low impedance (setting 6 on the rotary selector), DO NOT connect a signal from the 70V/100V line output on the amplifier. Doing this could cause damage to the cabinet, amplifier, or both!
OPTION 3: LOW IMPEDANCE (8Ω)

LOW IMPEDANCE – PARALLEL CONNECTION – The amplifier will see a combined speaker impedance of 4Ω.
Is the amplifier capable of driving into a 4Ω load?

LOW IMPEDANCE – SERIES CONNECTION – The amplifier will see a combined speaker impedance of 16Ω.
REMEMBER: An amplifier can drive into an impedance higher than its output impedance, but one with a lower impedance could cause problems.
SPECIFICATIONS: TNi-W4
| Model System type Woofer Size Tweeter Size 100V Power Options 70V Power Options Low Nominal System Impedance 1 Power Rating Recommended Amplifier 2 Sensitivity 1W/1m 3 Max SPL 1m Frequency response Input / Link Connector Horizontal Dispersion Angle Vertical Dispersion Angle | TNi-W4 Passive, 2-way, Bass Reflex 4″ 1″ Dome Tweeter 30W, 15W, 6W, 3W 15W, 7.5W, 3W, 1.5W 8 Ohm 45W AES, 180W Peak 80-160W @ 8 Ohms 88 dB SPL 111 dB SPL 80Hz – 20KHz (-10dB) 125Hz – 18KHz (-3dB) Euroblock and M4 terminals 90° 80° |
Enclosure
| Main Construction Material Grille Finish Mounting Bracket Unit dimensions (HWD) Unit weight Single Carton dimensions (HWD) Packed weight EAN Code Master Carton Dimensions (HWD) Master Packed weight Master EAN Code | ABS Plastic Black, Circular Steel Mesh Black (White finish optional, subject to MOQ) Adjustable Steel Bracket included 295 x 145 x 222mm, 11.6″ x 5.7″ x 8.7″ 2.8Kg, 6.2 lbs 430 x 185 x 175mm, 16.9″ x 7.3″ x 6.9″, 0.014m³ 3.3Kg, 7.3 lbs 5060109456974 445 x 405 x 385mm, (17.5″ x 15.9″ x 15.2″) (4pcs) 14.2Kg, 31.3 lbs 5060109456981 |
In the interest of continuous development, HH reserves the right to amend product specifications without prior notification.
For polar plots, EASE modeling files, 2D and 3D drawings files, please check www.hhelectronics.com
- AES standard Pink Noise 12dB crest factor 2 hours
- Measured in Full space (4π) conditions
- Calculated maximum SPL based on rated power handling
TNi-W4

SPECIFICATIONS: TNi-W6
| Model System type Woofer Size Tweeter Size 100V Power Options 70V Power Options Low Nominal System Impedance 1 Power Rating Recommended Amplifier 2 Sensitivity 1W/1m 3 Max SPL 1m Frequency response Input / Link Connector Horizontal Dispersion Angle Vertical Dispersion Angle | TNi-W6 Passive, 2-way, Bass Reflex 6.5″ 1″ Dome Tweeter 40W, 20W, 10W, 5W 20W, 10W, 5W, 2.5W 8 Ohm 55W AES, 220W Peak 100-200W @ 8 Ohms 90 dB SPL 113 dB SPL 65Hz – 20KHz (-10dB) 80Hz – 18KHz (-3dB) Euroblock and M4 terminals 90° 80° |
Enclosure
| Main Construction Material Grille Finish Mounting Bracket Unit dimensions (HWD) Unit weight Single Carton dimensions (HWD) Packed weight EAN Code Master Carton Dimensions (HWD) Master Packed weight Master EAN Code | ABS Plastic Black, Circular Steel Mesh Black (White finish optional, subject to MOQ) Adjustable Steel Bracket included 330 x 196 x 281mm, 13″ x 7.7″ x 11.1″ 3.5Kg, 7.7 lbs 455 x 240 x 240mm, 17.9″ x 9.4″ x 9.4″, 0.026m³ 4.1Kg, 9 lbs 5060109456998 470 x 515 x 515mm, (18.5″ x 20.3″ x 20.3″) (4pcs) 17.4Kg, 38.4 lbs 5060109457001 |
In the interest of continuous development, HH reserves the right to amend product specifications without prior notification.
For polar plots, EASE modeling files, 2D and 3D drawings files, please check www.hhelectronics.com
- AES standard Pink Noise 12dB crest factor 2 hours
- Measured in Full space (4π) conditions
- Calculated maximum SPL based on rated power handling
TNi-W6

SPECIFICATIONS: TNi-W8
| Model System type Woofer Size Tweeter Size 100V Power Options 70V Power Options Low Nominal System Impedance 1 Power Rating Recommended Amplifier 2 Sensitivity 1W/1m 3 Max SPL 1m Frequency response Input / Link Connector Horizontal Dispersion Angle Vertical Dispersion Angle | TNi-W8 Passive, 2-way, Bass Reflex 8″ 1″ Dome Tweeter 40W, 20W, 10W, 5W 20W, 10W, 5W, 2.5W 8 Ohm 65W AES, 260W Peak 100-200W @ 8 Ohms 91 dB SPL 115 dB SPL 55Hz – 20KHz (-10dB) 75Hz – 18KHz (-3dB) Euroblock and M4 terminals 90° 80° |
Enclosure
| Main Construction Material Grille Finish Mounting Bracket Unit dimensions (HWD) Unit weight Single Carton dimensions (HWD) Packed weight EAN Code Master Carton Dimensions (HWD) Master Packed weight Master EAN Code | ABS Plastic Black, Circular Steel Mesh Black (White finish optional, subject to MOQ) Adjustable Steel Bracket included 390 x 240 x 319mm, 15.4″ x 9.4″ x 12.6″ 4.2Kg, 9.3 lbs 515 x 280 x 270mm, 20.3″ x 11″ x 10.6″, 0.039m³ 5Kg, 11 lbs 5060109457018 530 x 595 x 575mm, (20.9″ x 23.4″ x 22.6″) (4pcs) 21.3Kg, 47 lbs 5060109457025 |
In the interest of continuous development, HH reserves the right to amend product specifications without prior notification.
For polar plots, EASE modeling files, 2D and 3D drawings files, please check www.hhelectronics.com
- AES standard Pink Noise 12dB crest factor 2 hours
- Measured in Full space (4π) conditions
- Calculated maximum SPL based on rated power handling
TNi-W8


SPECIFICATION
Please Note: The same wall bracket is used for all models.
![]() | ![]() |
IMPORTANT:
The TEMPLATE needs to be printed at a 1:1 scale.
Page size: A4.
Check template dimensions before proceeding with the installation.
Designed and Engineered in the UK by HH Electronics LTD.




INTERNAL CONNECTIONS
SPECIFICATIONS: TNi-W6





















