KLH Model Five Loudspeaker

INTRODUCTION
Thank you for selecting the KLH Model Five loudspeaker. KLH’s iconic styling, leading-edge technology, use of the finest materials and sophisticated quality control will provide you with unparalleled listening pleasure for many years to come. To achieve the level of music reproduction these speakers are capable of providing requires care in installation and operation. If you are new to the audiophile world, please take the time to read this manual and follow all instructions. You will be happy you did. If you have further questions, please contact your authorized KLH® dealer or call out toll free number at 1-833-554-8326.
KLH AND MODEL FIVE HISTORY
KLH Audio was established in 1957 by Henry Kloss, Malcolm Low & Josef Hofmann. Henry Kloss first made his name as part of Acoustic Research with the introduction of the AR-1 and its patented acoustic suspension system that revolutionized the high-fidelity industry. Henry Kloss later left Acoustic Research to start KLH, and immediately began marketing his own acoustic suspension loudspeaker designs. The original KLH Model Five loudspeaker was first introduced in 1968, and was one of the best-selling speakers throughout the late1960’s and early 70’s. KLH re-issued the famous Model Five during the spring of 2021. This new three-way loudspeaker features updated cosmetics, as well as all the major advancements in transducer design that have occurred over the last 50 years. But the original acoustic suspension philosophy, cabinet construction and size all remain intact, thus maintaining the performance and appeal the loudspeaker enjoyed when it was first introduced.
ACOUSTIC SUSPENSION
First introduced in 1954, the acoustic suspension principle has long been regarded as the most accurate of all the loudspeaker designs available. Edgar Villchur and Henry Kloss worked together to bring the original AR-1, and several later models, including the well known AR-3, to market. Several brands, including KLH, would adopt the acoustic suspension principle and use it in their loudspeakers designs for many years to come. This design principle dominated the speaker market well into the 1970’s. In an acoustic suspension design, the volume of air inside the enclosure serves as a cushion of air, or air spring, to provide a restoring force for the woofer cone. The air inside the enclosure essentially becomes the dominant part of the woofer’s suspension. Since the volume of air inside the enclosure is more linear than the mechanical parts of the woofer’s suspension, this enables the woofer’s diaphragm to move in a more linear fashion. This enables the driver to operate at higher excursions with less distortion than more traditional bass-reflex type systems. Acoustic suspension systems are regarded all over the world for their greater accuracy, tighter bass transients and exceptional bass resolution and texture.
DEDICATED MIDRANGE DRIVER
The KLH Model Five is a 3-way design featuring a dedicated midrange driver housed in its own internal enclosure. It’s the midrange driver’s responsibility to handle the most significant, middle part, of the audio spectrum. This portion of the audio band contains the vocal and musical instrument fundamentals which are most familiar to the human ear; and where accuracy, or inaccuracies, are most easily detected. In a three-way design, having a dedicated midrange means the driver can be optimized for this specific use, since it doesn’t have the additional burden of reproducing lower & higher frequencies in the audio band. This results in truly remarkable clarity of vocals & instruments with less distortion.

WHAT’S IN THE BOX
The carton contains one Model Five speaker, one slant riser base, and one user’s manual.

A NOTE ABOUT SUSTAINABILITY
Just like the original, the new Model Five doesn’t utilize a lot of plastic material in its construction. Where possible, KLH has elected to use more responsible materials, resulting in a product that is more in-line with modern sensitivities.
UNPACKING THE SYSTEM

All components of the Model Five system have been very carefully packed for maximum protection against damage. As with any high-quality audio product, it is advisable to keep the original packing materials in case it becomes necessary to transport the speakers. The Model Five loudspeaker and riser base are individually boxed and then packed together in an over-carton. The first step is to remove the two inner cartons and then remove the loudspeaker and base from their individual packaging. Because of the bulk and weight of the loudspeaker, it is recommended that two people unpack the contents.
PLACING THE MODEL FIVE ON SLANT RISER

SPEAKER CONNECTION
IMPORTANT! Turn your amplifier or receiver OFF before connecting your speakers. This will avoid damage which could result from accidental shorting of the speaker cables. The loudspeaker binding posts can be used with banana, pin or spade connectors, as well as with bare wire. Tighten the posts firmly by hand but do not over tighten! Correct polarity (or phase) is critical for proper imaging and bass performance. Connect one speaker at a time to ensure proper connection. The red (+ amplifier terminal must be connected to the red (+) speaker terminal. The same applies to the black (-) terminals. Make sure all wires are firmly fastened. Repeat this connection procedure for each speaker. Once connected, it’s a good idea to go back and double check each connection for correct polarity.
BREAK-IN
Your KLH Model Five loudspeakers will sound great right out-of-the-box. But since your new speakers include many moving parts, these parts need time to adjust to one another and therefore some amount of “break-in” is required. In order for your loudspeakers to sound their best, KLH recommends the speakers to be played at a moderate volume for at least 8 hours prior to any critical listening.
LOUDSPEAKER POSITIONING AND ROOM ACOUSTICS.
Room acoustics play a major role in the sound reproduction characteristics of your Model Five loudspeakers. Experimenting with loudspeaker placement is an important step for optimum acoustic performance and ensuring the customer gets exactly what they pay for. Fortunately, the Model Five is very placement friendly, and only a couple of factors need to be kept in mind:

- Low frequencies (below 400Hz) are heavily influenced by the loudspeakers position relative to the boundaries of the room.
- Mid & High frequencies (above 400Hz) are mostly influenced by the reflectivity (“live” or “dead” quality) of the listening room boundaries and the type of furnishings.
Hard surfaces, such as bare walls or wood floors will generally reflect sound, whereas carpet and upholstered furniture generally absorb it. Too dead, and the listening space will sound dull and lifeless. But a highly reflective room will result in room reflections and echoes which generally result in the room being too bright. Overly bright listening rooms are particularly problematic!
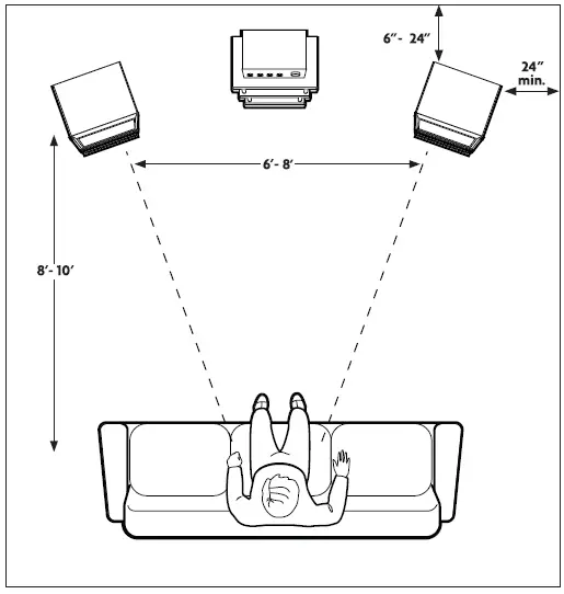
The primary goal is that you want the sound to predominate from the loudspeaker pair, with a lessor amount of sound (reverberation) contributed by the listening room itself. An ideal listening space is one that is neutral; meaning a room that has characteristics of both a “live” and “dead” environment. One absorbent boundary (usually a carpeted floor) is enough to make the listening space not “too bright,” and therefore, an example of a good, basic listening room is one characterized by hard walls, carpet (w/pad) and plush furniture. If the room has wood or tile floors, then it is generally recommended to utilize a large area carpet. Even rooms with a relatively neutral acoustic behavior can still exhibit large differences in the perceived acoustics simply due to the listening room dimensions and the precise location of the loudspeakers within the space. This is especially true with respect to the boundary condition immediate to the loudspeaker’s position. The less distance to a back wall, and/or proximity to the corner of the listening room will generally enhance the low & middle bass characteristics. This is useful to keep in mind during the listening evaluation and positioning of the loudspeaker. The KLH Model Five loudspeaker is tuned for 6 to 24 inches off the back wall and at least 24 inches from the corner of the listening room. For an otherwise neutral listening room, this should be considered the best starting position when first setting up the loudspeakers. See illustration above.
NOTE: KLH provides the user with the ability to control the loudspeaker’s tonal balance to compliment the room acoustics for a listening space that may not be ideal.
THREE-POSITION ACOUSTIC BALANCE SWITCH

The selector switch is located on the back of each loudspeaker and provides the user the ability to tailor the output above 400Hz.
- “HI” Position – This is the default position, or OdB. This is the preferred selection for neutral to dead listening spaces.
- “MID” Position – This adjusts the loudspeaker -1.5dB above 400Hz. Use this setting for slightly live listening spaces.
- “LO” Position – This adjusts the loudspeaker -3.0dB above 400Hz. Use this setting for very live listening spaces (for example, a room with a tile floor).
Of course, the selection is up to the user, and the user may want to experiment in order to determine the best selection for their particular listening taste. Please remember to set both speakers to the same setting, otherwise a poor center image will be the result.

HOW TO EVALUATE STEREO LOUDSPEAKERS FOR SOUND AND ACCURACY
It’s time to actually listen to the loudspeakers and evaluate their performance. Since the listening room contributes half of what you hear, proper evaluation and positioning adjustment is required to ensure the most rewarding listening experience. A little work here will go a long way. You want to start with a variety of music that is mainly composed of tunes with which vou are most familiar. Acoustics instruments and strong vocals are preferred since they will be the most familiar and natural to the listener. With the loudspeakers positioned and connected to a source, the first step is to confirm the loudspeakers are connected in-phase. Pick a tune with a strong vocal track. At a listening position centered between both speakers, listen specifically to the music vocals and confirm they are centered directly between the two loudspeakers. The center image should be strong enough there should be no doubt where the image is located. You should feel as if you can reach out and touch the vocalist. If the center image is vague, or not there at all, recheck all connections. This is an easy step, but you would be surprised how often it is overlooked! The next step is to evaluate the loudspeakers for musical accuracy with particular attention given to low frequency performance. This is the region (below 400Hz) that is most influenced by the speaker’s location in relation to the boundaries of the listening room. Small changes can have a dramatic effect on the low frequency output and overall balance of the system. You’ll want to experiment with moving the loudspeakers relative to the side and back walls of the listening room to achieve the best balance – keeping in mind that placing the loudspeaker closer to a wall or corner will enhance bass.
You want to avoid speaker locations that result in weak or thin bass. Likewise, you want to avoid positions that make the loudspeakers sound boomy. Use a number of music tracks and try to find a happy medium. The KLH Model Five features a 3-position balance control that you’ll probably want to experiment with at this point. If you are experiencing particularly weak bass, setting this control to the -1.5dB or -3.0dB setting will make complimentary acoustic changes to the loudspeaker that will help you achieve the correct overall balance more quickly. Once you are happy with the musical balance of the system, you’ll want to experiment with the toe-in to achieve the best imaging and soundstage. Accurate imaging and soundstage are the qualities that create the three-dimensional space around a pair of loudspeakers. Done properly, this can really enhance your musical enjoyment. More toe-in will increase image depth and localization; less toe-in will increase image width. You want the center image to be strong, but not at the expense of a wide soundstage. This is best achieved by starting with loudspeakers pointed directly at the listener (strongest center-image) and slowly splaying the speakers outward until the best combination of center image and soundstage is achieved. Again, you want to use a variety of music. It’s best to keep in mind that not all music will behave in exactly the same manner. You will find some variation from artist to artist, but ou should be able to find the best compromise for the types of music you listen to. That’s it! By doing a little preparation and taking the time to experiment will result in an enjoyable and rewarding listening experience.
NOTE: The Model Five exhibits a broad horizontal sound dispersion pattern. The sonic signature remains essentially the same over a +/- 20° angle off the horizontal axis of the loudspeakers. As a result, the loudspeakers can be toed in or out about 20 degrees without any significant change in the direct sound from the loudspeaker arriving at the listening position. However, as the loudspeaker toe-in is adjusted, it does affect the sound energy reflected off the side wall of the listening room which directly effects the soundstage and ambiance.
CLEANING
Your speakers feature a genuine wood veneer. The finish is a low-gloss clear lacquer that only requires an occasional soft damp cloth. Clean with the grain, avoiding a circular or cross-grain motion. Do not use an abrasive cleaner. Avoid getting any part of the speaker components wet. Do not place wet objects (drinking glasses, potted plants, etc.) on top of the speakers- if allowed to soak in, even a small amount of water may permanently damage the loudspeaker finish.
WARRANTY
Our 10 year warranty begins from purchase date of the item. (Receipt Date) Warranty registration must be completed at KLHAUDIO.com/warranty. Registration of the product must be completed within 120 days of purchase for warranty validation. Original receipt of purchase must be retained for proof of purchase. For warranty or service issues, please contact authorized KLH dealer. The warranty covers any production and/or material defects of the product. This warranty is non-transferable.
The following is NOT COVERED by the warranty:
- Accidents, misuse, poor maintenance, electrical overloads such as lightning or voltage.
- Incorrect use of product.
- Altered serial number.
- Transportation costs for service call.
- Purchase of KLH products from unauthorized reseller.
EU COMPLIANCE INFORMATION:
Eligible to bear the CE mark, Conforms to European Union EMC Directive 2004/108/EG; European Union Restriction of Hazardous Substances Recast (RoHS2) Directive 2011/65/EC; European Union WEEE Directive 2002/96/EC. KLH and the KLH logo are registered trademarks of Kelley Global Brands Inc., registered in the U.S. and other countries.
WEEE NOTICE
Note: This mark applies only to countries within the European Union (EU) and Norway. This appliance is labeled in accordance with European Directive 2002/96/C concerning waste electrical and electronic equipment (WEEE). This label indicates that this product should not be disposed of with household waste. It should be deposited at an appropriate facility to enable recovery and recycling.
SPECIFICATIONS
(all specifications for a single speaker)

984 LOGAN STREET NOBLESVILLE IN 46060 klhaudio.com



















