
Premium Eco Smart Heater
AGH0001S, AGH0002S, AGH0001S-IT, AGH0002S-IT, AGH0001S-CH, AGH0002S-CH, AGH0001S-UK, AGH0002S-UK, AGH0001S-SA, AGH0002S-SA
Product Information
The Premium Eco Smart Heater is available in different models such as AGH0001S, AGH0002S, AGH0001S-IT, AGH0002S-IT, AGH0001S-CH, AGH0002S-CH, AGH0001S-UK, AGH0002S-UK, AGH0001S-SA, AGH0002S-SA. It is a high-quality, energy-efficient heater that is designed to provide warmth and comfort in any room. The heater is equipped with advanced features such as a digital thermostat, a timer, and an eco-mode that automatically adjusts the temperature to save energy. The heater is easy to install and operate, and it is built with safety in mind. It has an overheat protection system that automatically shuts off the heater if it gets too hot, and a tip-over switch that turns off the heater if it accidentally falls over. The heater also has a cool-touch exterior that makes it safe to touch even when it is hot.
Product Usage Instructions
- Choose a suitable location for the heater. It should be placed on a flat surface and away from any flammable materials.
- Plug the heater into a power outlet. Make sure that the voltage matches the rating on the heater.
- Turn on the heater by pressing the power button. The digital display will show the current temperature.
- Use the arrow buttons to set the desired temperature. The heater will automatically adjust the temperature to maintain the desired setting.
- Use the timer function to set the heater to turn on or off at a specific time. This is useful for saving energy and ensuring that the room is warm when you need it.
- Use the eco-mode to save energy. This mode automatically adjusts the temperature based on the current room temperature and your desired setting.
- If the heater gets too hot or accidentally falls over, it will automatically shut off. To restart the heater, unplug it and wait for it to cool down before plugging it back in.
- When you are finished using the heater, turn it off and unplug it from the power outlet.
GENERAL INFO
- Model White: AGH0001S (Plug Type E/F), AGH0001S-IT (Plug Type L), AGH0001S-CH (Plug Type J), AGH0001S-UK (Plug Type G), AGH0001S-SA (Plug Type M) Black: AGH0002S (Plug Type E/F), AGH0002S-IT (Plug Type L), AGH0002S-CH (Plug Type J), AGH0002S-UK (Plug Type G), AGH0002S-SA (Plug Type M)
- Specification1 Support of Wi-Fi (2.4 GHz), supply voltage: 230 (180-253) V AC, 50 Hz, input current: 3.0 A ≤0.01 A in standby mode), nominal power: 700.0 W, (≤2 W in standby mode), heating area of up to 30 m2 (depends on the room insulation), temperature sensor, tilt sensor
- Casing IP44 Protection Class, heat-emitting panel (tempered glass), control unit (PC plastic). Dimensions: 1000×165×417 mm (floor installation), or 1000×62×365 mm (wall mounting)
- Functions2 Climate control, panel temperature control (up to 120 °С), manual and remote control, current protection, voltage protection and overheating protection, voice assistants,
- LED indication of statuses
- Scope of supply Premium Eco Smart Heater, legs (2 pcs.), mounting brackets (2 pcs.), mounting kit, hole drilling template, Quick Start Guide, Warranty Card
- Warranty 3 years (Service life: 3 years)
LED INDICATOR STATUSES
Press and hold the power button:
- For less than 3 seconds to turn the heater on or off;
- For 4 to 9 seconds to switch the heater to the Wi-Fi pairing mode;
- For more than 10 seconds to reset the heater to the factory settings.
COMPONENTS AND ACCESSORIES (See Figure A)
- Power button ❶, control unit ❷, heat-emitting panel ❸, mounting brackets ❹, power cord ❺, legs for floor installation ❻, fastening bolts ❼, temperature sensor ❽, hooks with dowels (for wall mounting) ❾, hole drilling template ❿.
INSTALLATION AND CONFIGURATION3
- Unpack the heater and place it on a clean, horizontal surface with its heat-emitting panel facing down.
- Install the heater as follows:
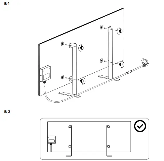
a. Floor installation (See Figure B):

NOTE. Only horizontal installation is possible.- Screw legs ❻ to the back of the heat-emitting panel using fastening bolts ❼ (See Figure B-1);
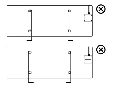
ATTENTION! Correct orientation of legs must be observed (See Figure B-2)! - Make sure that screws are securely tightened and that legs are correctly oriented relative to the device body.
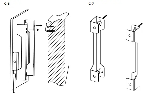
b. Wall mounting (See Figure C):
NOTE. Horizontal or vertical wall mounting is possible. - Screw mounting brackets ❹ to the rear surface of the heat-emitting panel using fastening bolts ❼
(See Figure C-1);
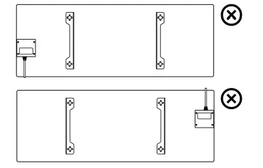
ATTENTION! Correct orientation of brackets must be observed (See Figure C-2 for horizontal mounting and C-3 for vertical mounting)!


- Attach the hole drilling template to the wall, drill holes and screw hooks (See Figures C-4, C-5);
NOTE. Provided hooks and dowels are suitable for reinforced concrete walls only.
- Lean the heater carefully against the wall and hang it on 2 hooks as shown in Figures C-6, C-7;
NOTE. You may also hang the heater on 4 hooks to increase the level of fixation security (See complete user manual3). - Make sure that the device is securely fixed, and that it is free from dust and dirt. Please adjust the screwing depth, if necessary.
- Screw legs ❻ to the back of the heat-emitting panel using fastening bolts ❼ (See Figure B-1);
- Power on the heater, i.e. plug it into an mains socket with the power cord ❺. Please do not use an extension cord to plug it in! Press the power button ❶. It shall flash green.
- Activate the device in the mobile app as follows (or scan the QR Code on page 8):
aeno.com/documents
a. Connect your smartphone to Wi-Fi (2.4 GHz) and log in to your AENO app account (or download the mobile application from Google Play or App Store and register a new user account);
b. Click on the “+” icon in the “Home” tab and select the “Autosearch” tab at the top of the screen;
c. Allow all requested accesses to the AENO app;
d. Wait for the heater to be detected and tap “Next”;
e. Enter your Wi-Fi network credentials and tap “Next;
f. Wait till the connection process is completed, and tap “Done”.
NOTE. If your device was not detected during this process, press and hold the power button for 4 to 9 seconds, wait till the LED starts blinking purple, and select “Add manually” tab instead of “Autosearch”.
NOTE. You may also activate the device in Google Assistant or Amazon Alexa4 if required. - Set timers or operating scenarios in the mobile application, as may be required, or control the device manually (See complete user manual3 ).
Ceiling Mounting. Option to mount the device on the ceiling is available after its activation in the mobile app, and shall be performed by qualified installers only. See complete user manual3
SAFE OPERATION RULES
ATTENTION! Hot surface! The risk of burns in the case of contact with heated surfaces! Do not touch the heating panel until completely cooled down!
The power cable must never be in contact with the heat-emitting panel!
- Neither cover the heater nor dry things on it. Do not mount the device directly below/above the mains socket.
- Do not use the device, if its glass panels are damaged. Protect the device from water and mechanical damage.
- Do not install it in areas accessible to children and pets. Do not move or touch the device when it is on or hot.
ATTENTION! It is also strongly recommended to place/mount the heater at a distance of at least 1 meter from any fabrics, furniture, decorations and any other flammable materials in order to prevent from the risk of combustion due to high flammability of such materials. Violating these recommendations is done at the risk of the user, and the manufacturer shall not be liable for any damages caused by such violation.
ATTENTION! If the device is damaged due to tilting or falling, this will void the manufacturer’s warranty.
TROUBLESHOOTING
- The heater does not heat up when turned on: The desired temperature was set incorrectly. Please set the desired temperature higher than the current one.
- The heater does not respond to commands from the mobile app: The network connection failure occurred. Please reconnect the device to the Wi-Fi network.
- During operation, the heater beeps, and the LED indicator is blinking red: The heater is tilted dangerously. Please return the heater to the upright position.
- Some components, accessories, and/or functions may not be present in your heater configuration. See the box or product page at aeno.com.
- The device is intended for indoor installation. Operating conditions: 0°C to +40°C, up to 75% RH (non-condensing). See date of manufacture on the package.
- All information contained herein is subject to amendments without prior notification of the User. For current information and details on the device description and specification, connection process, certificates, warranty and quality issues, as well as the AENO app functionality, see relevant Installation and Operation Manuals available for downloading at aeno.com/documents. Manufacturer: ASBISc Enterprises PLC, Iapetou, 1, Agios Athanasios, 4101, Limassol, Cyprus. Made in Poland. All trademarks and names herein are the property of their respective owners.
- For some third-party applications, the device must be first activated in the AENO app.
These symbols indicate that you must follow the Waste Electrical and Electronic Equipment (WEEE) and Waste Battery and Battery Regulations when disposing of the device, its batteries and accumulators, and its electrical and electronic accessories. According to the rules, this equipment must be disposed of separately at the end of its service life. Do not dispose of the device, its batteries and accumulators, or its electrical and electronic accessories together with unsorted municipal waste, as this will harm the environment. To dispose of this equipment, it must be returned to the point of sale or turned in to a local recycling facility. You should contact your local household waste disposal service for details.

GENERAL INFO



NOTE. Horizontal or vertical wall mounting is possible.






















