KLARSTEIN 10035297 Basel Illumine Fireplace Heater
PRODUCT DATA SHEET
| Model identifier(s): | 10035297 | |||||
| Item | Symbol | Value | Unit | Item | Unit | |
| Heat output | Type of heat input, for electric storage local space heaters only | |||||
| Nominal heat output | Pnom | 2.0 | kW | manual heat charge control, with integrated thermostat | N/A | |
| Minimum heat output (indicative) | Pmin | 1.0 | kW | manual heat charge control with room and/or outdoor temperature feedback | N/A | |
| Maximum continuous heat output | Pmax,c | 2.0 | kW | electronic heat charge control with room and/or outdoor temperature feedback | N/A | |
| Auxiliary electricity consumption | fan assisted heat output | N/A | ||||
| At nominal heat output (fan motor) | elmax | 0.014 | kW | Type of heat output/room temperature control | ||
| At minimum heat output (fan motor) | elmin | 0.014 | kW | single stage heat output and no room temperature control | no | |
| In standby mode | elSB | 0.48 | W | Two or more manual stages, no room temperature control | no | |
| with mechanic thermostat room temperature control | no | |||||
| with electronic room temperature control | no | |||||
| electronic room temperature control plus day timer | no | |||||
| electronic room temperature control plus week timer | yes | |||||
| Other control options (multiple selections possible) | ||||||
| room temperature control, with presence detection | no | |||||
| room temperature control, with open window detection | no | |||||
| with distance control option | no | |||||
| with adaptive start control | yes | |||||
| with working time limitation | no | |||||
| with black bulb sensor | no | |||||
| Contact details | Chal-Tec GmbH, Wallstraße 16, 10179, Berlin, Germany | |||||
In the box
- Fireplace body
- Front panel
- Concealed fixings pack containing:
- Screws and wall plugs,
- Fixing bracket
- Remote control
- Instruction manual
- Fireplace feet and screws
Features
- Remote control
- Dancing flame effect
- Detachable front
- Heater with two settings
- Thermal cutout
- Two heat settings
- Wall mounted or free standing
SAFETY INSTRUCTIONS
- Please read all instructions carefully before operating the appliance and retain for future reference.
- Do not use the appliance until it is securely fixed as described in this manual.
- Check that the voltage indicates on the data plate corresponds with that of the local network before connecting the appliance to the mains power supply.
- From time to time, check the cord for damage. Never use the appliance if the cord or any part of the appliance shows signs of damage.
- If the power cord is damaged, it must be replaced by the manufacturer, customer service or a similarly qualified person to prevent hazards.
- Keep furniture, curtains and other flammable material at least 1 meter away from the appliance.
- Do not leave the appliance unattended during use.
- Do not leave the appliance unattended whilst connected to the mains supply.
- Keep out of reach of children and do not allow them to operate this appliance.
- Children of less than 3 years should be kept away unless continuously supervised.
- Children aged from 3 years and less than 8 years shall only switch on/off the appliance provided that it has been placed or installed in its intended normal operating position and they have been given supervision or instruction concerning use of the appliance in a safe way and understand the hazards involved. Children aged from 3 years and less than 8 years shall not plug in, regulate and clean the appliance or perform user maintenance.
- Children over the age of 8 and persons with reduced physical, sensory or mental capabilities or those with a lack of experience and knowledge may only use the device if they are instructed on how to do so by a person responsible for their safety, or if they are supervised and understand the hazards associated with the use of the device.
- Cleaning and user maintenance shall not be made by children without supervision.
- Children should be supervised to ensure that they do not play with the appliance.
- This appliance is intended for household use only and should not be used for industrial purposes.
- Do not operate this appliance after a malfunction or after being dropped or damaged in any way.
- Repairs to the appliance may only be carried out by the manufacturer, customer service or similarly qualifi ed personnel.
- Improper repairs may place user at serious risk.
- Do not run the mains cable under carpets, rugs, etc.
- Do not allow the mains cable to hang over sharp edges or come in contact with hot surfaces.
CAUTION
Risk of fi re! In order to avoid overheating, do not cover the heater.
- Never immerse the product in water or any other liquid for any reasons.
- Do not use this heater in the immediate surroundings of a bath, a shower or a swimming pool.
- Do not use the appliance outdoors.
- Do not use if you have wet hands.
- Never use the appliance on or near hot surfaces.
- Before cleaning the appliance, make sure it is unplugged from the power and that it is completely cooled.
- Do not clean the appliance with abrasive chemicals.
- Never use accessories that are not recommended or supplied by the manufacturer. It could cause danger to the user or damage to the appliance.
- Do not lift the appliance by the front panel.
- The heater must not be located immediately below a socket outlet.
- Keep the top of the heater at least 1 meter away from the ceiling or other objects for optimum heat ventilation.
- In order to avoid a hazard due to inadvertent resetting of the thermal cutout, this appliance must not be supplied through an external switching device, such as a timer, or connected to a circuit that is regularly switched on and off by the utility.
- This heater is not equipped with a device to control the room temperature. Do not use this heater in small rooms when they are occupied by persons not capable of leaving the room on their own, unless constant supervision is provided.
CAUTION
Risk of burns! Some parts of this product can become very hot and cause burns. Particular attention has to be given where children and vulnerable people are present.
INSTALLATION
Notes on packaging and assembly material
- Remove the appliance from the box.
- Please retain all packaging until you have checked and counted all the parts and the contents of the fixing pack against the parts list.
- Place packaging inside the box and either store or dispose of safely.
- The fixing pack contains small items, which should be kept away from young children.
- We suggest that you open the fixing pack and place all the contents into a container, therefore reducing the risk of losing any small pieces.
Wall mounting
- Do not connect the appliance to the mains until properly fixed to the wall and the instructions are read fully.
- The minimum distances must be observed.
- For installation of the appliance, care must be taken not to damage concealed cables.
- Please be careful while drilling the holes.
- This appliance is designed to be permanently fixed to a wall at a minimum height of 30 cm. The wall bracket must be fitted horizontally and the cable routed to the bottom right of the heater.

- A height of 60 cm from bottom of heater to floor is recommended for optimum viewing of fuel bed (see Fig. 2 for recommend fixing dimensions).
- Keep top of heater at least 1 meter away from ceiling or other objects for optimum heat ventilation.
- For optimum viewing, mark the top five screws fixing positions on wall in accordance with the recommend fixing dimensions (see Fig. 2). Drill holes with a No. 6 drill bit.

- Fix the wall bracket with the plugs and screws provided.
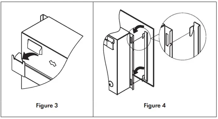
- Carefully lift the heater up ensuring that the two top rear slots of the heater engage the wall bracket (see Fig. 3 ) and are sitting centrally.

- Gently bring the heater level with the wall.
- Mark the two bottom holes position (see Fig. 5).

- Remove the heater ensuring that the bottom fixing bracket is rotated up.
- Drill and fit the wall plugs.
- Refit the heater to the wall fixing bracket and rotate the bottom fixing bracket down again and use the screws provided to permanently fix the heater in place.
- Unpack the log from the bag and place them along the light unit in the desired position (see figure 10).
- Place the front glass panel over the front of the heater aligning the hooks at each side of the glass panel with the slots at each side of the heater body (see Fig. 4). Then slide down the glass panel in place. Two people will be required for this operation.
- Insert and tighten the front glass panel screw (see Fig. 6) to secure the front glass panel to the heater.
Freestanding Installation
- Before using the appliance, the heater base (supplied separately in the carton), must be fitted to the appliance.
- Take the heater base out of the carton and four silver fixing screws supplied in the instruction manual bag.
- Remove the front glass panel of the heater.
- Place the metal body horizontally on a stable table.
- There are four installation holes at bottom of the heater as indicated (see Fig. 7).
- The heater base has two plastic posts, make sure the posts insert the right holes at bottom of the heater as indicated (see Fig. 8).
- Make sure the heater base is firmly attached to the heater, then fix the heater base firmly by the four silver fixing screws supplied, as indicated (see Fig. 9).
DISPLAY AND INDICATORS
Temperature and serial number display
- Normally it displays the room temperature.
- While setting the temperature, the set temperature is displayed.
- When setting the timer, serial number is displayed.
Time/Temperature display
- Normally it displays the current time.
- While setting the timer, the set time is displayed.
- When setting the temperature of the week timer, the set temperature is displayed.
Timer on/Timer off
- It is displayed while setting the timer, and it is used in combination with serial number setting.
Flame brightness
- It displays the current brightness of the flame, which ranges from one to five positions.
OPERATION
Note: The appliance can be operated either by the switches located on the top right hand side of the fireplace or by the supplied remote control.
Manual Operation
- This is done by operating the switches located at the top right hand side of the fireplace. The standby rocker switch must first be switched on, the fireplace will beep to indicate that it is powered up.
- Press the [O/I] button once to turn on the appliance and fire effect. A red indicator light will show to indicate that the fireplace is ON.
- Press the [O/I] button for 3 seconds this will operate the dimmer mode. Hold the button down until the desired brightness is obtained.
- Press the [POWER] button once for the low heat setting (1000 W). Press the button a second time for the high heat setting (2000 W). Press the button a third time to switch off the heat setting.
- Press the [BACKLIGHT] button to adjust the colours of the LED decoration, 7 colours are available.
Remote Operation
The standby rocker switch located at the top right-hand side of the fireplace must first be switched on. The fireplace will beep to indicate that it is powered up. It takes a little time for the receiver to respond to the transmitter. Do not press the buttons more than once within two seconds for the fireplace to operate normally.
- Plug the power plug of the appliance into the power outlet.
- Turn on the power switch.
- Press the control switch or the [ON/OFF] button on the remote control to start up.
- Press the [1000W/2000W] button once for the low heat setting (1000 W). Press the button a second time for the high heat setting (2000 W). Press the button a third time to switch off the heat setting.
- Press the [DIMMER] button to operate the dimmer mode, repeat pressing will raise and lower the brightness.
- Press the [BACKLIGHT] button to adjust the colours of the LED decoration, 7 colours are available.
FUNCTIONS AND SETTINGS
Automatic heating
- Press [IC] button on the remote controller to start or exit the automatic heating.
- When turned on, the fireplace can automatically change the heating mode depending on the set temperature and the room temperature.
- During a timed starting process, it is possible to start heating ahead of schedule.
Setting the day and time
- Settings are done on the remote controller.
- Press [DATE/TIME] button. Then press or button to select the day.
- Press [DATE/TIME] button again. Then press [+] or [-] button to set the hour.
- Press [DATE/TIME] button again. Then press [+] or [-] button to set the minute.
- Press [OK] button to complete.
Temperature setting
- The default set temperature is 20 °C.
- Press [+] or [-] button on the remote control to set the temperature, which ranges from 15 to 30 °C.
- this setting is only for the temperature in the normally mode, not for the temperature in the timer mode.
- Note: The set temperature must be higher than the room temperature for the heater to work.
Safety cut-off
- This appliance is fitted with a safety cut-off which will operate if the fireplace overheats (e.g. due to blocked air vents).
- For safety reasons, the fireplace will NOT automatically reset.
- To reset the appliance, disconnect the appliance from the mains supply for at least 15 minutes.
- Reconnect to the mains supply and switch on the appliance.
TIMER SETTINGS
- There are up to 10 items for timer setting
- Each setting item has its date, power-on time and shutdown time
- The max. duration of each setting item is 23 hours 50 minutes
- The setting date for each item can be any day or days of a week
- The date in each setting item represents the date of power-on time
- If the shutdown time of the setting falls on the second day, it is unnecessary to set the date – you just set the shutdown time.
View the timer setting
- Press the [TIMER SET] button.
- Press the [+] or [-] button to check the power-on time of the timer one by one.
- For checking the shutdown time, press the button.
- Press the [+] or [-] button to continue viewing.
- For deleting the current item of setting, press [C] button to delete.
Steps for timer setting
- Select the settings of the serial number:
- Press the [TIMER SET] button, and the serial number starts blinking.
- Press the [+] or [-] button to change the serial number until you get the serial number that you need to set or modify.
- Select date:
- Press the [TIMER SET] button once again, and the cursor on the left side of day starts blinking.
- Press the or button to move the cursor to the corresponding day, press the [+] button to add the corresponding day, or press the [-] button to delete the day until you have completed the selection of all dates.
- Set the start time:
- continue to press the [TIMER SET] button, the hour starts blinking.
- Press the [+] or [-] button to adjust the hour.
- Continue to press the [TIMER SET] button, the minute starts blinking.
- Press the [+] or [-] button to adjust the minute.
- Set the shutdown time:
- Then press the [TIMER SET] button, the display is off, and the hour starts blinking.
- Press the [+] or [-] button to adjust the hour.
- Continue to press the [TIMER SET] button, the minute starts blinking.
- Press the [+] or [-] button to adjust the minute.
- Set temperature:
- Then press the [TIMER SET] button, and the temperature set starts blinking. At this moment, the temperature displayed is normally the set temperature, which can be adjusted by pressing the [+] or [-] button.
- Save setting:
- Press [TIMER SET] button to continue with the setting, and press [OK] button to complete the setting .
Timer switch
- [TIMER ON/OFF] is to control the timed opening and closing.
- Restart the machine after power is cut off, the original setting is kept, but the current date and time must be reset.
Notes on the week timer
- When the week timer is power on, you should turn on the heating function, or else when the machine is working again, there will be only the flame effect working.
- Repeat the same procedures to set more timing cycles if required after the 01 timing cycle is finished.
- When the week timer setting is finished, the “TIMER ON/OFF“ function can be effective.
CLEANING AND MAINTENANCE
- Always switch off the appliance and disconnect from the mains supply before cleaning heater.
- For general cleaning use a soft clean duster.
- Never use harsh abrasive or cleaners.
- The glass viewing screen should be cleaned carefully with a soft cloth. DO NOT use proprietary glass cleaners.
This product does not use a standard bulb for its flame effect. The appliance uses an electronically controlled LED system to create the effect, therefor no parts need to be replaced. There are no user-serviceable parts on this appliance. Under no circumstances should the appliance be serviced be anyone other than a qualified electrician.
TROUBLESHOOTING
| Problem | Solution |
| No operation/no fan. | Check if put the electric plug into the socket. |
| Check for safety cut-off operation. | |
| No fire effect light. | Have the LED system checked by a qualified electrician. |
DISPOSAL CONSIDERATIONS
If there is a legal regulation for the disposal of electrical and electronic devices in your country, this symbol on the product or on the packaging indicates that this product must not be disposed of with household waste. Instead, it must be taken to a collection point for the recycling of electrical and electronic equipment. By disposing of it in accordance with the rules, you are protecting the environment and the health of your fellow human beings from negative consequences. For information about the recycling and disposal of this product, please contact your local authority or your household waste disposal service.
This product contains batteries. If there is a legal regulation for the disposal of batteries in your country, the batteries must not be disposed of with household waste. Find out about local regulations for disposing of batteries. By disposing of them in accordance with the rules, you are protecting the environment and the health of your fellow human beings from negative consequences.
MANUFACTURER & IMPORTER (UK)
Manufacturer
Chal-Tec GmbH, Wallstrasse 16, 10179 Berlin, Germany.
Importer for Great Britain
Chal-Tec UK Limited Unit 6 Riverside Business Centre Brighton Road Shoreham-by-Sea BN43 6RE United Kingdom
PRODUCT DATA SHEET























