GE APPLIANCES PVM9179SKSS Over the Range Microwave Oven Instruction Manual
BEFORE YOU BEGIN
Read these instructions completely and carefully.
- IMPORTANT – Save these instructions for local inspector’s use.
- IMPORTANT – Observe all governing codes and ordinances.
- Note to Installer – Be sure to leave these instructions with the Consumer.
- Note to Consumer – Keep these instructions for future reference.
- Skill level – Installation of this appliance requires basic mechanical and electrical skills.
- Proper installation is the responsibility of the installer.
- Product failure due to improper installation is not covered under the Warranty.
Installation Instructions
Tools and Parts
Tools Needed
Gather the required tools and parts before starting installation. Read and follow the instructions provided with any tools listed here.
- Measuring tape
- Pencil
- Phillips screwdriver
- Drill
- 7/64” drill bit
Parts Supplied (not shown to scale)
- Trim kit frame

- Bottom duct

- Rails (2)

- The insulating strip

- Short screws (14) (11 + 3 extra)

- Long wood screws (6 – painted) (4 + 2 extra)

Required Cutout Dimensions

A. Trim kit frame overhang
B. Cutout for lower oven
NOTES:
- Height dimension is critical: 17” (43.2 cm) minimum, 17 1/8” (43.5 cm) maximum.
- Width and depth measurements have ±1/16” (2 mm) tolerance.
- 3” (7.6 cm) minimum dimension is from lower oven cutout
Location Requirements
The microwave oven may be installed over a built-in oven. If installing over a built-in oven, make sure there is a minimum of 3” (7.6 cm) between the top of the lower oven cutout and the microwave oven cutout floor.
The microwave oven may also be installed in a cabinet by itself (without a built-in oven below). For best usability, we recommend a minimum distance of 36″ (91.4 cm) from the floor to the cutout floor.
Make sure the surrounding cabinetry has clearance to open and close freely. Allow a clearance of at least 1 9/16 ” (4. Ocm) below the cutout floor (3″ [7.6 cm] for installation above a built-in oven), and a clearance of at least 2″ (5.1 cm) above the cutout opening.
- A. Upper cabinet
- B. Microwave oven cutout
- C. Lower oven cutout
- D. Lower cabinets
- E. Floor
Trim Kit Frame Dimensions

* 27“ (68.6 cm) trim kit
** 30“ (76.2 cm) trim kit
Electrical Requirements
WARNING
Electrical Shock Hazard
Plug into a grounded 3 prong outlet.
Do not remove ground prong.
Do not use an adapter.
Do not use an extension cord.
Failure to follow these instructions can result in death, fire, or electrical shock.
Install according to all local governing codes and ordinances.
Required:
- A 120 volt, 60 Hz, AC only, 15- or 20-amp electrical supply with a fuse or circuit breaker.
Recommended:
- A time-delay fuse or time-delay circuit breaker.
- A separate circuit serving only this microwave oven.
GROUNDING INSTRUCTIONS
For all cord connected appliances:
The microwave oven must be grounded. In the event of an electrical short circuit, grounding reduces the risk of electric shock by providing an escape wire for the electric current. The microwave oven is equipped with a cord having a grounding wire with a grounding plug. The plug must be plugged into an outlet that is properly installed and grounded.
WARNING: Improper use of the grounding plug can result in a risk of electric shock. Consult a qualified electrician or serviceman if the grounding instructions are not completely understood, or if doubt exists as to whether the microwave oven is properly grounded. Do not use an extension cord. If the power supply cord is too short, have a qualified electrician or serviceman install an outlet near the microwave oven.
SAVE THESE INSTRUCTIONS
Prepare Microwave Oven
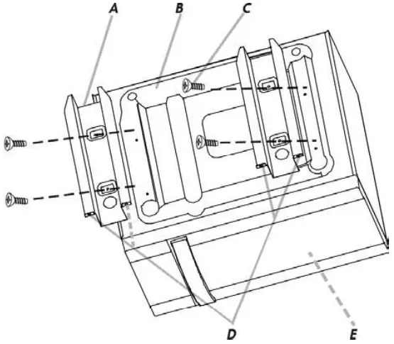
Attach Rails
- Unplug microwave oven before proceeding with installation.
- Remove any loose items inside microwave oven.
- Carefully turn microwave oven onto its top, with the door facing forward (toward installer).
- Align the two rails on the microwave oven bottom, as shown, making sure the flanges are forward and pointing up.

A. Rails (2)
B. Microwave oven bottom
C. Short screws (4)
D. Flanges
E. Door - Secure the rails to the microwave oven bottom using four short screws.
Stick the Insulating Strip
- Carefully return microwave oven to its upright position.
- Stick the insulating strip to the louver on the enclosure to avoid the heat releasing from the louver.

A. The insulating trip
B. Enclosure
Prepare Cutout/Cabinet Opening
- On the cutout floor, find and mark the centerline.
- Place the bottom duct in the opening, with the flange resting against the bottom front facing of the opening.

A. Cutout Floor
B. Centerline
C. Bottom duct
D. Bottom duct flange
E. Front facing - Align the center arrows on the bottom duct with the centerline drawn in Step 1 above.

A. Bottom duct
B. Center arrows, aligned with centerline - Mark the three mounting holes through the bottom duct onto the cutout floor.

A. Short screws (3)
B. Bottom duct mounting holes - Using a 7/64″ drill bit, drill pilot holes into the three hole marks shown in the figure above.
- Realign and install the bottom duct with three short screws.
- Using a 7/64″ drill bit, drill pilot holes through the four bottom duct flange mounting holes on the bottom front facing of the cutout/cabinet opening.

A. Bottom duct flange
B. Mounting holes
Install the Microwave Oven
- Carefully return microwave oven to its upright position.
- Position microwave oven near cutout opening.
WARNING
Electrical Shock Hazard
Plug into a grounded 3 prong outlet.
Do not remove ground prong.
Do not use an adapter.
Do not use an extension cord.
Failure to follow these instructions can result in death, fire, or electrical shock. - Plug in microwave oven.
- Align the rails with the rail guides on the bottom duct.

A. Rail guides
B. Rails - Slide the microwave oven back and into place. The mounting holes of the rail flanges and bottom duct flange will align against the bottom front facing of the cutout/cabinet opening.
- Secure the microwave oven to the cutout/cabinet by installing four short screws into the mounting holes.

A. Mounting holes
B. Short screws (4)
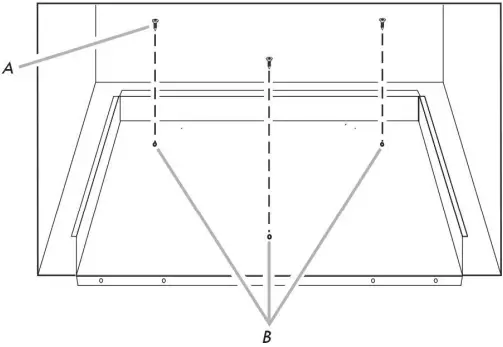
Install Trim Kit Frame
- Position trim kit frame over the opening so that the lower tabs rest on the cutout floor, as shown.

A. Front of trim kit frame
B. Tabs (upper and lower)
C. Cutout/cabinet floor - Holding the trim kit frame in place, use a 7/64” drill bit to drill four pilot holes into the front facing of the cutout/cabinet through the mounting hole guides in the upper and lower corners of the trim kit frame.
NOTES:- The holes will be drilled downward from the top, and upward from the bottom at an angle of about 45°.
- To avoid damage to the trim kit frame, do not overtighten screws.

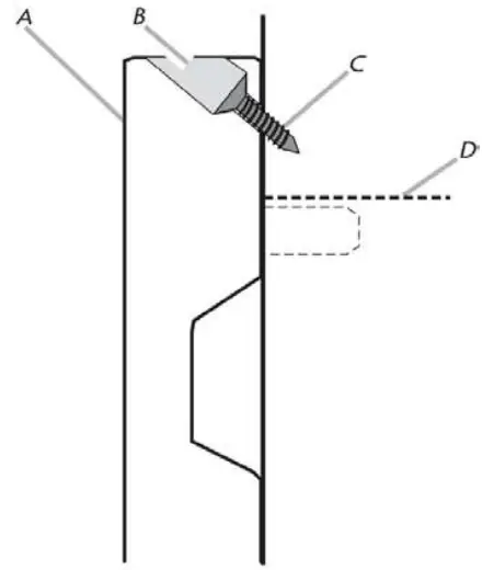
A. Trim kit frame
B. Mounting hole guide
C. Long wood screw (4 – painted)
D. Cutout ceiling
- Secure trim kit frame to cutout/cabinet by installing four long wood screws (painted) into the pilot holes drilled in Step 2 above.

Installation is now complete. Replace any loose items that have been removed from microwave oven cavity.
Save these Installation Instructions for future reference.


































