Propane Gas RV RANGE OVEN
OWNER’S MANUAL
AND INSTALLATION INSTRUCTIONS
PLS624RT
PLS624RT Range Oven
Write the model and serial numbers here:
Model # ____________
Serial # _____________
You can find the rating label on the front of the unit behind the storage drawer.
GE is a trademark of the General Electric Company. Manufactured under trademark license.
THANK YOU FOR MAKING GE APPLIANCES A PART OF YOUR RV.
Whether you grew up with GE Appliances, or this is your first, we’re happy to have you in the family.
We take pride in the craftsmanship, innovation and design that goes into every GE Appliances product, and we think you will too. Among other things, registration of your appliance ensures that we can deliver important product information and warranty details when you need them.
Register your GE appliance now online. Helpful websites and phone numbers are available in the Consumer Support section of this Owner’s Manual.
SAFETY INFORMATION
IMPORTANT SAFETY INFORMATION
READ ALL INSTRUCTIONS BEFORE USING THE APPLIANCE
WARNING
Read all safety instructions before using the product. Failure to follow these instructions may result in fire, electrical shock, serious injury or death.
WARNING
If the information in this manual is not followed exactly, a fire or explosion may result, causing property damage, personal injury or death.
- Do not store or use gasoline or other flammable vapors and liquids in the vicinity of this or any other appliance.
- WHAT TO DO IF YOU SMELL GAS
– Do not try to light any appliance.
– Do not touch any electrical switch.
– Do not use any phone in your recreational vehicle.
– Clear the recreational vehicle of all occupants.
– Turn off the gas supply tank valve(s) or main gas supply.
– Immediately call your gas supplier for instructions.
– If you cannot reach your gas supplier, call the fire department. - Have the gas system checked and leakage source corrected by a qualified installer, service agency, manufacturer, dealer or the gas supplier.
ANTI-TIP DEVICE![]()
WARNING
Tip-Over Hazard
- A child or adult can tip the range and be killed.
- Install the anti-tip bracket to the wall or floor.
- Engage the range to the anti-tip bracket by sliding the range back such that the foot is engaged.
- Re-engage the anti-tip bracket if the range is moved.
- Failure to do so can result in death or serious burns to children or adults.
To reduce the risk of tipping the range, the range must be secured by a properly installed anti-tip bracket. See installation instructions shipped with the bracket for complete details before attempting to install.
For Free-Standing and Slide-In Ranges
To check if the bracket is installed and engaged properly, look underneath the range to see that the rear leveling leg is engaged in the bracket. On some models, the storage drawer or kick panel can be removed for easy inspection. If visual inspection is not possible, slide the range forward, confirm the anti-tip bracket is securely attached to the floor or wall, and slide the range back so the rear leveling leg is under the anti-tip bracket.
If the range is pulled from the wall for any reason, always repeat this procedure to verify the range is properly secured by the anti-tip bracket. Never completely remove the leveling legs or the range will not be secured to the anti-tip device properly.
Free-Standing and Slide-In Ranges
READ AND SAVE THESE INSTRUCTIONS
WARNING
GENERAL SAFETY INSTRUCTIONS
WARNING
Carbon Monoxide Poisoning NEVER use this appliance as a space heater to heat or warm the room. Doing so may result in carbon monoxide poisoning and overheating of the oven.
A window or air vent should be open slightly while using this appliance. Gas flames consume oxygen which must be replaced to assure proper combustion.
- Use this appliance for its intended purpose as described in this owner’s manual.
- Have your range installed by a qualified installer in accordance with the provided installation instructions.
- Any adjustment and service should be performed only by a qualified gas range installer or service technician. Do not attempt to repair or replace any part of your range unless it is specifically recommended in this manual.
- Your range is shipped from the factory set for use with propane gas. It can not be converted to any other gas.
- Have the installer show you the location of the range gas shut-off valve and how to turn it off if necessary.
- Be sure all packing materials are removed from the range before operating to prevent ignition of these materials.
- Avoid scratching or impacting glass doors, cooktops, or control panels. Doing so may lead to glass breakage. Do not cook on a product with broken glass. Shock, fire, or cuts may occur.
- Do not leave children alone or unattended in an area where an appliance is in use. They should never be allowed to climb, sit or stand on any part of the appliance.
CAUTION Do not store items of interest to children in cabinets above an oven – children climbing on the oven to reach items could be seriously injured.- Never block the vents (air openings) of the range. They provide the air inlets and outlets that are necessary for the range to operate properly with correct combustion. Air openings are located at the rear of the cooktop, at the top and bottom of the oven door, and at the bottom of the range.
- Use only dry pot holders—moist or damp pot holders on hot surfaces may result in burns from steam. Do not let pot holders touch surface burners, burner grate, or oven heating element. Do not use a towel or other bulky cloth in place of pot holders.
- Do not touch the heating elements or the interior surface of the oven. These surfaces may be hot enough to burn even though they are dark in color. During and after use, do not touch, or let clothing or other flammable materials contact any interior area of the oven; allow sufficient time for cooling first. Other surfaces of the appliance may become hot enough to cause burns. Potentially hot surfaces include the burners, grates, oven vent opening, surfaces near the opening, and crevices around the oven door.
- Do not heat unopened food containers. Pressure could build up and the container could burst, causing an injury.
- Cook food thoroughly to help protect against foodborne illness. Minimum safe food temperature recommendations can be found at IsltDoneYet.gov and fsis.usda.gov. Use a food thermometer to take food temperatures and check several locations.
- Do not allow anyone to climb, stand or hang on the oven door, drawer or cooktop. They could damage the range or tip it over causing severe injury or death.
WARNING KEEP FLAMMABLE MATERIALS AWAY FROM THE RANGE Failure to do so may result in fire or personal injury.
- Do not store or use flammable materials in an oven or near the cooktop, including paper, plastic, pot holders, linens, wall coverings, curtains, drapes and gasoline or other flammable vapors and liquids.
- Never wear loose-fitting or hanging garments while using the appliance. These garments may ignite if they contact hot surfaces causing severe bums.
- Do not let cooking grease or other flammable materials accumulate in or near the range. Grease in the oven or on the cooktop may ignite.
WARNING IN THE EVENT OF A FIRE, TAKE THE FOLLOWING STEPS TO PREVENT INJURY AND FIRE SPREADING
- Do not use water on grease fires. Never pick up a flaming pan. Turn the controls off. Smother a flaming pan on a surface unit by covering the pan completely with a well-fitting lid, cookie sheet or flat tray. Use a multi-purpose dry chemical or foam-type fire extinguisher.
- If there is a fire in the oven during baking, smother the fire by closing the oven door and turning the oven off or by using a multi-purpose dry chemical or foam-type fire extinguisher.
WARNING COOKTOP SAFETY INSTRUCTIONS
- Never leave the surface burners unattended. Foods, especially oily foods, may ignite resulting in fire that could spread to surrounding cabinets.
- Never leave oil unattended while frying. If allowed to heat beyond its smoking point, oil may ignite resulting in fire that may spread to surrounding cabinets. Use a deep fat thermometer whenever possible to monitor oil temperature.
- To avoid oil spillover and fire, use the minimum amount of oil when using a shallow pan-frying and avoid cooking frozen foods with excessive amounts of ice.
- Use proper pan size and avoid pans that are unstable or easily tipped. Select cookware that is matched to the size of the burner. Burner flames should be adjusted so that they do not extend beyond the bottom of the pan. Excessive flame may be hazardous.
- Always use the HI position when igniting the top burners and make sure the burners have ignited.
- When using glass/ceramic cookware, make sure it is suitable for cooktop service; others may break because of sudden change in temperature.
- To minimize the possibility of burns, ignition of flammable materials and spillage, the handle of a container should be turned toward the center of the range without extending over nearby burners.
- Do not use a wok. Doing so may trap heat and block air to the burner resulting in a carbon monoxide hazard.
- Do not attempt to lift the cooktop. Doing so may damage the gas tubing to the surface burners resulting in a gas leak and risk of fire.
- Do not use aluminum foil to cover the grates or line any part of the cooktop. Doing so may result in carbon monoxide poisoning, overheating of the cooktop surfaces, or a potential fire hazard.
WARNING
OVEN SAFETY INSTRUCTIONS
WARNING
NEVER cover any slots, holes, or passages in the oven bottom or cover an entire rack with materials such as aluminum foil or oven liners. Doing so blocks air flow through the oven and may cause carbon monoxide poisoning. Never place foil or oven liners on the oven bottom. They can trap heat causing risk of smoke or fire.
- Stand away from the range when opening the oven door. Hot air or steam which escapes can cause burns to hands, face and/or eyes.
- Never place cooking utensils, pizza or baking stones, or any type of foil or liner on any surface other than racks. These items can trap heat or melt, resulting in damage to the product and risk of shock, smoke or fire.
- Place oven racks in desired location while oven is cool. If rack must be moved while oven is hot, be careful to avoid touching hot surfaces.
- Do not leave items such as paper, cooking utensils, or food in the oven when not in use. Items stored in an oven can ignite.
- Do not leave items on the cooktop near the oven vent. Items may overheat resulting in a risk of fire or burns.
WARNING
FIRE OR EXPLOSION HAZARD
If the information in this manual is not followed exactly, a fire or explosion may result causing property damage, personal injury or death.
Installation must be performed by a qualified installer. Read these instructions completely and carefully. Installation of this appliance must conform with state and other codes or, in the absence of such codes, with:
In the USA: the Standard for Recreational Vehicles, ANSI/NFPA 1192.
In Canada: CAN/CSA Z-240.4.2-08 Installation Requirements for Propane Appliances and Equipment in Recreational Vehicles.
This range has been design-certified by CSA International according to CAN1-1.16-M79, latest edition.
When installing a gas appliance, the use of old flexible connectors can cause gas leaks and personal injury. Always use a NEW flexible connector.
Leak testing of the appliance shall be conducted according to the manufacturer instructions.
If an external electrical source is utilized, the appliance, when installed, must be electrically grounded in accordance with state or, in the absence of such codes, with the National Electrical Code, ANSI/ NFPA 70.
Do not install this product with an air curtain hood or other range hood that operates by blowing air down on the cooktop. This airflow may interfere with operation of the gas burners resulting in fire or explosion hazard.
PROPER DISPOSAL OF YOUR APPLIANCE
Dispose of or recycle your appliance in accordance with Federal and Local Regulations. Contact your local authorities for the environmentally safe disposal or recycling of your appliance.
USING THE RANGE:
Cooktop
Before lighting, confirm all control knobs are in the OFF position. Make sure the main gas tank valve is open.
- Do not operate the burner for an extended period of time without cookware on the grate. The finish on the grate may discolor or chip without cookware to absorb the heat.
- Cookware should be positioned over the grates and not overhanging the side trim or countertop.
- Be sure the burners and grates are cool before you place your hand, a pot holder or cleaning materials on them.
Lighting a Surface Burner
WARNING
Burners should be operated only when covered by cookware. Burner flames not covered by cookware present a risk of fire or clothing ignition. Never let flames extend beyond the sides of the cookware. Failure to comply may result in serious injury.
Select a burner and find its control knob. Push and turn the appropriate burner control knob counterclockwise to the HI position. Sparking will continue as long as the knob remains pressed. Once burner is lit, continue pressing knob for at least 5 seconds until the flame sensor is heated. Release the knob and confirm the burner remains lit. If the burner remains lit, rotate the knob to adjust the flame. If the burner does not remain lit, refer to the Troubleshooting Tips section.
Push the control knob in and turn it to the HI position.
Selecting a Flame Size
Watch the flame, not the knob, as you adjust heat. When rapid heating is desired, the flame size should match the size of the cookware you are using. Flames larger than the bottom of the cookware will not heat faster and may be hazardous.
These flames are too large for the pot
Lighting the Cooktop Manually
If a cooktop burner fails to ignite, you may light the burner manually by following the instructions below:
Push and turn the appropriate burner control knob counterclockwise to the HI position.
Push the control knob in and turn it to the HI position.
While continuing to press the knob, immediately strike and place a burning long wooden match or a gas lighter near the burner to light. Once burner is lit, continue pressing knob for at least 5 seconds until the flame sensor is heated. Release the knob and confirm the burner remains lit. If the burner remains lit, rotate the knob to adjust the flame. If the burner does not remain lit, refer to the Troubleshooting Tips section. 
If the Flame Goes Out
Immediately turn the control knob to OFF position. Wait at least 5 minutes and light the burner again.
Turning Off the Cooktop
To turn the cooktop burners off, rotate the control knobs clockwise to the OFF position. Do not touch or place any objects on the grates until the cooktop has cooled.
Cooktop
Cooktop Burner Usage
- Do not operate the burner for an extended time without cookware on the grate. The finish on the grate may discolor or chip without cookware to absorb the heat.
- Do not attempt to disassemble any burner while another burner is on. Damage to the product may occur.
- Be sure the burners and grates are cool before you place you hand, a pot holder or cleaning materials on the cooktop.
Your ridgetop has sealed gas burners that offer convenience, cleanability and flexibility for a wide range of cooking applications. The smallest burner is the simmer burner. A simmer burner turned down to LO allows for proper cooking performance for foods such as delicate sauces that require low heat for a long cooking time. The largest burner is designed to quickly bring large amounts of liquid to a boil. Cover your cookware with a lid to bring liquids to a boil faster.
Cooktop Grate Orientation
The proper install orientation for the grate is as shown.
Oven
Lighting the Oven
- Push and turn the oven control knob counterclockwise to the
position. Keep the oven control knob pressed for at least 15 seconds until the oven pilot is lit and the pilot sensor is heated. If air is in the supply line, it may take up to a minute for the air to purge and the oven pilot to light.
- Once the pilot is lit, stop pressing the oven control knob and turn it counterclockwise to the highest temperature. Confirm the bake burner is fully lit by visually confirming the presence of a flame though the front openings of the oven bottom. If no flame is present, turn the oven control knob to OFF, and repeat step 2 for a longer period of time to ensure the oven pilot lights.

- Rotate the oven control knob to desired level. Close oven door.
WARNING
In the event of an ignition system failure, the oven is inoperable and no attempt should be made to operate it. Do not attempt to light the oven manually.
If the Flame Goes Out
Immediately turn the oven control knob to the OFF position. Wait at least 5 minutes before trying to re-light the oven burner.
Turning Off the Oven
To turn off the oven, rotate the oven control knob clockwise to the OFF position.
Oven and Control Knob Lights
Press the Knob Light button on the control panel to turn on/off control knob lights. Press the Oven Light button on the control panel to turn on/off the oven light
Oven Racks
When placing and removing cookware, pull the rack out to the bump (stop position) on the rack support. To remove a rack, pull the rack towards you until it is free. To install or replace oven rack, slide the rack into the oven on top of the rack supports on the left and right sides of the oven cavity. Ensure that the retaining rods go under the rack supports on both sides. Push rack to the rear of oven until it reaches the back of the oven cavity. 
Aluminum Foil and Oven Liners
CAUTION
Do not use any type of foil or oven liner to cover any oven surface other than racks. These items can trap heat or melt, resulting in damage to the product and risk of shock, smoke or fire. Damage from improper use of these items is not covered by the product warranty.
Do not use more foil than necessary and never entirely cover an oven rack with aluminum foil. Keep foil at least 1-1/2″ from oven walls to prevent poor heat circulation.
Oven Vents
Never block the vents (air openings) of the range. They provide the air for the inlet and outlet that are necessary for the range to keep cool and operate properly with correct combustion. Never cover the opening with aluminum foil or any other material. Vents are located along the rear of the cooktop.
Oven Cooking Guide
Preheat oven for 10-15 minutes before inserting food. Use rack position 3 for standard baking. Use rack positions 3 and 5 for multiple rack baking. Adjust positions as needed. Limit door openings as much as possible to retain heat in the oven. 
Oven Cookware
The material, finish, and size of cookware affect baking performance. Dark, coated and dull pans absorb heat more readily than light, shiny pans. Pans that absorb heat more readily can result in a browner, crisper and thicker crust. If using dark and coated cookware check food earlier than the minimum cook time.
CARE AND CLEANING
Cooktop Surfaces
Clean cooktop trim with soap and water or a vinegar and water solution. Do not use commercial oven cleaners, cleaning powders, steel wool or harsh abrasives on any painted surface.
Burner Caps
Wipe burner caps with hot, soapy water and rinse with to remove burned-on food particles.
Burner Heads
Wipe the burner heads routinely, especially after bad spillovers which could clog the burner openings. Wipe with hot, soapy water. Rinse with clean water. For more stubborn stains, use a brush with plastic bristles.
NOTE: Do not use steel wool or scouring pads to clean the burner parts as these may clog the openings. The ports in the burner heads must be kept clean at all times for an even, unhampered flame. Clogged or dirty burner ports or electrodes will not allow the burner to operate properly.
Burner Grates
Grates should be washed in hot, soapy water and rinsed with clean water. To soften burned-on food, place grates in a solution containing ¼-cup of household ammonia for several hours. Afterward, scrub grates with a plastic scouring pad soaked in hot, soapy water. Rinse well and dry. DO NOT use bleach or rust removers on the cooktop or burner grates.
Exterior Surfaces
Be sure all controls are off and all surfaces are cool before cleaning any part of the range.
Control Knobs
The control knobs may be removed for easier cleaning. Make sure the knobs are in the OFF positions and pull them straight off the stems for cleaning. The knobs can be washed with soap and water. Make sure the insides of the knobs are dry before replacing. Replace the knobs in the OFF position to ensure proper placement.
Stainless Steel Surfaces
Do not use a steel wool pad; it will scratch the surface.
To clean the stainless steel surface, use warm sudsy water or a stainless steel cleaner or polish. Always wipe the surface in the direction of the grain. Follow the cleaner instructions for cleaning the stainless steel surface. Cleaners with oxalic acid such as Bar Keepers Friend Soft Cleanser will remove surface rust, tarnish, and small blemishes. Use only a liquid cleanser free of grit and rub in the direction of the brush lines with a damp, soft sponge.
Interior Surfaces
Oven Interior
Do not use oven cleaners, abrasive cleaners, strong liquid cleansers, steel wool, scouring pads, or cleaning powders on the interior of the oven. Spillage of marinades, fruit juices, tomato sauces and basting liquids containing acids may cause discoloration and should be wiped up immediately. Let hot surfaces cool, then clean and rinse. Clean with a mild soap and water or vinegar and water solution. Rinse with clean water and dry with a soft cloth. When cleaning surfaces, make sure that they are at room temperature. Do not rub or clean the door gasket – it has an extremely low resistance to abrasion. If you notice the gasket becoming worn, frayed or damaged in any way or if it has become displaced on the door, you should have it replaced.
Oven Racks
All racks can be washed with warm, soapy water. Racks may be more difficult to slide over time. Put some vegetable oil on a soft cloth or paper towel and rub onto the left and right edges.
NOTE: Using other cooking oils will cause a discoloring or a rust like color residue on the racks and cavity sides. To clean this residue, use a soap and water or a vinegar and water solution. Rinse with clean water and dry with a soft cloth.
Oven Door
Door Interior and Exterior
Do not allow excess water to run into any of the holes or slots in the door. Wipe dish soap over any baked-on spatters on the glass. Use a single sided safety razor blade to clean it off. Then wipe over the glass with a soapy cloth to remove any residue and dry off.
To Remove the Door:
- Fully open the door.
- Pull the hinge locks up and away from the range frame to the unlocked position.

- Firmly grasp both sides of the door near the top.
- Close door until the top of the door is approximately 6″ from the range frame.
- Lift door up and away from the range until both hinge arms are clear of the slots in the range frame.

To Replace the Door
- Firmly grasp both sides of the door near the top.
- With the door at the same angle as the removal position, rest the notch on the underside of the left hinge arm on the bottom edge of the left hinge slot. The notch in the hinge arm must be fully seated into the bottom of the slot. Repeat for the right side.

- Fully open the door. If the door will not fully open, the notches in the bottoms of the hinge arms have not seated correctly in the bottom edge of the slot. Lift the door off the range and repeat previous step.
- Push the hinge locks toward the range cavity and down to the locked position.
Push hinge locks down to lock - Close the oven door.
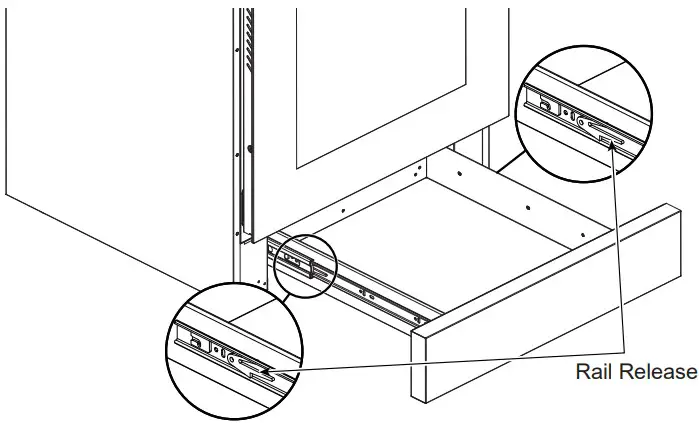
Storage Drawer
Removable Drawer
Most cleaning can be done with the drawer in place. However, the drawer may be removed if further cleaning is needed. Use soap and warm water to thoroughly clean. NOTE: To remove Push to Open Storage Drawer, push the center of the drawer in and allow it to slide out.
To remove the drawer:
- Pull drawer straight out until it stops.
- Press the left rail release up and press the right rail release down, while pulling the drawer forward and free.

To replace the drawer:
- Place the left drawer rail around the inner left rail guide and slide it in slightly to hook it.
- Place the right drawer rail around the inner right rail guide and slide it in slightly to hook it.
- Slide the drawer all the way in.
Oven Light
CAUTION
BURN HAZARD: The glass cover and bulb should be removed when cool. Touching hot glass with bare hands or a damp cloth can cause burns.
Before replacing the bulb, disconnect electrical power to the oven. Let the bulb cool completely before removing it. For your safety do not touch a hot bulb with a damp cloth. If you do the bulb may break.
- Disconnect power to oven before changing bulb.
- Remove the glass cover of the lamp-holder by unscrewing counter-clockwise.
- Remove the lamp and replace with a lamp resistant to high temperatures (300 C / 572 F) with the following characteristics: – Voltage: 12V – Wattage: 10W -Type: G4 – Lamp Type: Halogen
- Replace the glass cover by screwing the cover clockwise.
- Reconnect the power to the oven.

INSTALLATION INSTRUCTIONS
Questions? Visit GEAppliances.com. In Canada, visit GEAppliances.ca.
WARNING
Certain Detection Equipment is Required in Recreation Vehicles per NFPA 1192. Required equipment shall be UL approved for use in recreational vehicles. Install and use equipment in accordance with the manufacturer’s instructions.
Smoke Alarm – Section 6.3.1 identifies that all recreational vehicles shall be equipped with a smoke alarm.
Carbon Monoxide Alarm – Section 6.3.2 identifies that all recreational vehicles shall be equipped with a Carbon Monoxide alarm.
Propane Detector – Section 6.3.3 identifies that all recreational vehicles with a propane appliance shall be equipped with a propane detector.
BEFORE YOU BEGIN
IMPORTANT — Save these instructions for local inspector’s use.
IMPORTANT — Observe all governing codes and ordinances.
IMPORTANT — Remove all packing material and literature from oven before connecting gas and electrical supply to range.
IMPORTANT — To avoid damage to your cabinets, check with your builder or cabinet supplier to make sure that the materials used will not discolor, delaminate or sustain other damage. This oven has been designed in accordance with the requirements of CSA International and complies with the maximum allowable wood cabinet temperatures of 194°F (90°C).
Note to Installer – Be sure to leave these instructions with consumer.
Note to consumer – Keep these instructions for future reference.
Proper installation is the responsibility of the installer.
Product failure due to improper installation is not covered under warranty.
WHAT’S IN THE BOX
Make sure you have all the following items Included in the packaging. If any item is damaged or missing, contact your dealer.
- Range Oven x 1
- Cooktop Grate x 2
- Cooking Rack x 2
- Vent Trim x 1
- 3/8′ Machine Screw x 4
- Anti-Tip Bracket x 1
- Front Leg Locks x 2
- #10 1″ Wood Screws x 6
- Owners Manual and Installation Instructions x 1
TOOLS YOU WILL NEED
MATERIALS YOU WILL NEED
- Pipe joint sealant or UL-approved pipe thread tape with Teflon’ that resists action of natural and propane gases
- Liquid leak detector or soapy water.
- Propane supply line with a 3/8″ flare female connection
*Teflon: Registered trademark of DuPont
DIMENSIONS AND CLEARANCES
Ensure cabinet and countertop openings are appropriately sized for the product before installation.
IMPORTANT: For all installations, install the required rear vent trim to back of range with the four 3/8″ long machine screws provided.

CAUTION To prevent drafts from affecting burner operation, seal all openings in floor under appliance and behind appliance wall.
- Allow 30” minimum vertical clearance between the countertop and combustible construction above the appliance. For alternative vertical clearances, refer to NFPA 1192 Table 5.6.6.5 for hood requirements.
- Allow 18” minimum vertical clearance between the countertop and combustible construction to the left and right sides of the appliance.
- The maximum allowable depth of overhead cabinets is 13″. For overhead cabinet depths exceeding 13″, refer to NFPA 1192 Table 5.6.6.5 for hood requirements.
- Allow a minimum of 2.3” of horizontal clearance between the appliance cutout and combustible construction extending from the cooking surface to 18” above the cooking surface.
- A minimum of 0” of clearance between adjacent combustible construction and the back of the appliance cutout is allowed.
- The width of the vertical clearance above the range shall not be less than 24.
GAS AND POWER SUPPLY INSTALLATION LOCATIONS
LEVEL THE RANGE
WARNING
Never completely remove the leveling leg as the range will not be secured to the anti-tip device properly.
Adjust the legs until the range is level. The cooktop surface should be the same height as the adjacent countertops or workspaces. Rotate the nut on each leg up the threaded bolt until it touches the range bottom.
Tighten nut with wrench.
ANTI-TIP BRACKET INSTALLATION
![]()
WARNING
Tip-Over Hazard
- A child or adult can tip the range and be killed.
- Install the anti-tip bracket to the wall or floor.
- Engage the range to the anti-tip bracket by sliding the range back such that the foot is engaged.
- Re-engage the anti-tip bracket if the range is moved.
- Failure to do so can result in death or serious burns to children or adults.
NOTE: The installation of the ANTI-TIP bracket must meet all local codes for securing the appliance.
If you did not receive an anti-tip bracket with your purchase, call 1-800-626-8774 to receive one at no cost.
In Canada, call 1-800-561-3344.
For installation instructions of the bracket, visit: GEAppliances.com. In Canada, GEAppliances.ca.
- LOCATE THE BRACKET
IMPORTANT: Determine the final location of the range before attempting to install the bracket.
■ Place the bracket on the floor with the back edge against the rear wall. If the range does not reach the rear wall, align the back edge of the bracket with the rear panel of the range in its final location.
■ Position the side of the bracket against either the left or right cabinet. If there is no adjacent cabinet, align the edge of the bracket with the side panel of the range in its final location. If the countertop overhangs the cabinet, offset the bracket from the cabinet by the amount of overhang.
■ Mark the location for the pair of holes to be used (see illustration above). - SECURE THE BRACKET
The bracket must be screwed to the floor. Two screws on each side of Location A or B must be used to secure bracket to floor.
Use the screws provided to secure the bracket using the pair of marked holes (Either Loc A or Loc B). The supplied screw is a 1” long #10 screw intended for use with a 5/8” wooden subfloor and 3/8” flooring thickness. If the floor thickness is not 3/8” thick, use an appropriate length #10 screw to ensure a minimum of 5/8” thread engagement with the subfloor, making sure to check bracket engagement after installation. - CHECK THE BRACKET
After installing the bracket, slide the range into its final location. The rear leveling leg must be fully inserted into the ANTI-TIP bracket as shown in Step 1. To check if the bracket is installed and engaged properly, look underneath the range to see that the rear leveling leg is engaged in the bracket. The storage drawer can be removed for easier inspection. After visual inspection, verify the rear leveling leg is properly secured within the bracket by carefully tipping the range forward.
DO NOT tip the range more than 4 inches. If the bracket does not stop the range within 4 inches, the bracket is NOT properly installed and MUST be reinstalled following these instructions.
WARNING
The anti-tip bracket must be PROPERLY INSTALLED and the rear leveling leg must be FULLY ENGAGED into the bracket to prevent the range from tipping. NEVER remove the leveling legs. Removal of the leveling legs will prevent the range from being secured to the ANTI-TIP bracket properly.
RANGE INSTALLATION
- GAS SUPPLY
WARNING
Fire Hazard: Do not use a flame to check for gas leaks.
WARNING
Explosion Hazard: Do not exceed 25 ft-lbs of torque when making gas line connections. Overtightening may crack the pressure regulator resulting in fire or explosion hazard.
WARNING
Gas leaks may not be detected by smell alone. Gas suppliers recommend your purchase and install an UL approved gas detector. Install and use in accordance with the manufacturer’s instructions.
Gas Pressure Regulator
You must use the propane gas pressure regulator supplied with this range. For proper operations the inlet pressure to the regulator should be as follows:
Minimum pressure: 11″ of Water Column
Maximum pressure: 13.8″ of Water Column
Connect a propane supply line with a 3/8″ Flare Female connection to the regulator in the upper right rear corner of the cabinet
Tighten the gas line to the regulator using 2 wrenches.
IMPORTANT: Leave adequate space around the gas supply pipe in case of bend or damage during installation. Make sure the gas supply pipe cannot contact any moving parts after installed.
When using pressures greater than 1/2 psi (3.5kPa) to test the gas supply system of the RV, disconnect the range and individual shut-off valve from the gas supply piping. When using pressures of 1/2 psi (3.5kPa) or less to pressure test the gas supply system, simply isolate the range from the gas supply system by closing the individual shut-off valve. - LEAK CHECK
■ Make sure all control knobs are in the OFF position.
■ Apply a gas leak detection liquid to the connections. Any gas leaks will be indicated by bubbles.
■ If a gas leak is detected, tighten the loose joint, or replace the faulty part with a replacement part recommended by a GE Appliances authorized retailer. - ELECTRICAL CONNECTION
CAUTION
PRODUCT DAMAGE HAZARD
• Connect to 12V DC service only.
• Connect only to protected circuit fused for not more than 15 Amps.
The power supply wires are located at the top left corner of the rear of the appliance.
Connect a positive 12V power supply wire to the appliance black 12V wire and a negative 12V power supply wire to the appliance white 12V wire. Maximum current draw is less than 2 amp.
NOTE: Ensure to connect the wires with the correct polarity. Black is “+” and White is “-“. Ensure electrical connections are properly secured.
Ensure electrical supply lines are disconnected, or power removed at the main fuse or circuit breaker panel, before servicing the appliance. - GRATES
The left and right grates are interchangeable but must be orientated correctly in order to fit. Refer to the image for proper orientation. The pins on the bottom of the grates should sit into the holes on the cooktop.
- TEST COOKTOP BURNERS
■ Push and turn the appropriate burner control knob counterclockwise to the HI position until the burner is lit. If air is in the supply line, it may take up to a minute for the air to purge and the burner to light.
Once burner is lit, continue pressing knob for 5 seconds until the flame sensor is heated.
■ The flame may burn yellow for a few seconds, then it should turn blue. If the burner continues to burn mostly or completely yellow, see “Troubleshooting” or contact a qualified service technician.
■ Rotate the burner control knob to LO. Make sure that the flame completely surrounds the burner. There should be a flame at the burner ports and no air gap between the flame and the burner. If the burner does not meet this criteria, see “Troubleshooting” or contact a qualified service technician.
■ Repeat these steps to test each burner. - TEST OVEN BURNER
■ Pull the oven handle to open the door.
■ Push and turn the oven control knob counterclockwise to the
position. Keep the oven control knob pressed for at least 15 seconds until the oven pilot is lit and the pilot sensor is heated. If air is in the supply line, it may take up to a minute for the air to purge and the oven pilot to light.
■ Once the pilot is lit, stop pressing the oven control knob and turn it counterclockwise to the highest temperature.
Confirm the bake burner is fully lit by visually confirming the presence of a flame though the front openings of the oven bottom. If no flame is present, turn the oven control knob to OFF, and repeat step 2 for a longer period of time to ensure the oven pilot lights.
■ Rotate the oven control knob to each temperature and inspect the burner flame. If the flame is completely or mostly yellow, see “Troubleshooting” or contact a qualified service technician. - FLAME QUALITY
The burner flames for the cooktop and bake burners should be blue with yellow tips. Long, bright yellow flames are not normal. Normal flames may show signs of an orange tint when well heated or signs of flickering orange due to particles in the gas or air.
- Front Leg Locks
Once the range is fully installed and level, slide the front leg locks over the front legs of the range. Mark the screw holes with a pencil. Drill an 1/8” pilot hole and drive the included 1 inch long screws into the holes (2 screws per front leg lock). Repeat for both sides.

TROUBLESHOOTING TIPS
Before you call for service
| Problem | Possible Cause/Solution |
| Surface burners do not light, do not light fully, or do not stay lit. | Ensure any gas supply valves and propane tank valve are opened. If air is in the supply line, it may take up to a minute for the air to purge and the burner to light. |
| Ensure knob is pressed while set to the HI position. You should hear the clicking of the ignition system when the knob is pressed. Continue pressing for at least 5 seconds until the flame sensor is heated | |
| Gas pressure is either too low or too high. | |
| Burner ports or igniter are dirty. Refer to “Burner Heads” in the Care and Cleaning section. | |
| Bake burner does not light. | Ensure gas supply valves and propane tank valve are opened. If air is in the supply line, it may take up to a minute for the air to purge and the burner to light. |
| Ensure oven control knob is pressed while set to the (flame) position. You should hear the clicking of the ignition system when the knob is pressed. Keep the knob pressed for a least 15 seconds to allow time for the oven pilot to light and for the pilot sensor to become heated. If air is in the gas line, this process may take over a minute. | |
| Gas pressure is either too low or too high. | |
| Flames are completely or mostly yellow or orange. | Normal flames may show signs of an orange tint when well heated or signs of flickering orange due to dust particles in the gas or air. |
| Gas pressure is too low. | |
| Burner ports are dirty. Refer to “Burner Heads” in the Care and Cleaning section. | |
| Knob backlighting does not turn on when light button is pressed. | Ensure unit is connected to 12VDC. See “Electrical Connection” in the Installation Instructions. |
| LED board or switch needs to be replaced. Contact GE Appliances for service. | |
| Oven light does not turn on when light button is pressed. | Ensure unit is connected to 12VDC. Refer to “Electrical Connection” in the Installation Instructions. |
| Oven bulb needs to be replaced. Refer to “Oven Light” in the Care and Cleaning section. |
LIMITED WARRANTY
To schedule service call 866.835.0179.
Have serial number and model number available when calling for service.
| For The Period Of: | GE Appliances Will Replace: |
| Two Years From the date of the original purchase | Any part of the RV range oven which fails due to a defect in materials or workmanship. During this limited two-year warranty, GE Appliances will also cover all labor and related service to replace the defective part. |
What GE Appliances Will Not Cover:
- Improper installation, delivery or maintenance. If you have an installation problem, contact your dealer or installer. You are responsible for providing adequate electrical connecting facilities.
- Failure of the product resulting from modifications to the product or due to unreasonable use including failure to provide reasonable and necessary maintenance.
- Labor necessary to move the unit to a location where it is accessible for service by an individual technician.
- Replacement of RV fuses or resetting of circuit breakers.
- Damage to the product caused by improper power supply voltage, accident, fire, floods or acts of God.
- Damage caused after delivery.
- In-person product education.
EXCLUSION OF IMPLIED WARRANTIES—Your sole and exclusive remedy is product repair as provided in this Limited Warranty. Any implied warranties, including the implied warranties of merchantability or fitness for a particular purpose, are limited to two years or the shortest period allowed by law.
This limited warranty is extended to the original purchaser and any succeeding owner for personal recreational vehicle or similar use within the USA and Canada. If the product is located in an area where service by an authorized RV servicer is not available, you may be required to bring the product to an authorized GEA service location for service.
Some states do not allow the exclusion or limitation of incidental or consequential damages. This limited warranty gives you specific legal rights, and you may also have other rights which vary from state to state. To know what your legal rights are, consult your local or state consumer affairs office or your state’s Attorney General.
Warrantor: GE Appliances, a Haier company
Louisville, KY 40225
Staple your receipt here. Proof of the original purchase date is needed to obtain service under the warranty.
CONSUMER SUPPORT
GE Appliances Website
Have a question or need assistance with your appliance? Try the GE Appliances Website 24 hours a day, any day of the year! You can also shop for more great GE Appliances products and take advantage of all our on-line support services designed for your convenience.
In the US: GEAppliances.com
In Canada: GEAppliances.ca
Register Your Appliance
Register your new appliance on-line at your convenience! Timely product registration will allow for enhanced communication and prompt service under the terms of your warranty, should the need arise. You may also mail in the pre-printed registration card included in the packing material.
In the US: GEAppliances.com/register
In Canada: geappliances.ca/after-sales-support
Schedule Service
Expert GE Appliances repair service is only one step away from your door. Get on-line and schedule your service at your convenience any day of the year.
In the US: GEAppliances.com/service or call 800432.2737 during normal business hours.
In Canada: geappliances.ca/after-sales-support or call 800.561.3344
Parts and Accessories
Individuals qualified to service their own appliances can have parts or accessories sent directly to their homes (VISA, MasterCard and Discover cards are accepted).
Order on-line today 24 hours every day.
In the US: GEApplianceparts.com or by phone at 877.959.8688 during normal business hours.
Instructions contained in this manual cover procedures to be performed by any user. Other servicing generally should be referred to qualified service personnel. Caution must be exercised, since improper servicing may cause unsafe operation.
Customers in Canada should consult the yellow pages for the nearest authorized GE Appliances service parts distributor, visit our website at
geappliances.ca/parts-filters-accessories or call 800.661.1616.
Contact Us
If you are not satisfied with the service you receive from GE Appliances, contact us on our Website with all the details including your phone number, or write to:
In the US: General Manager, Customer Relations I GE Appliances, Appliance Park I Louisville, KY 40225 GEAppliances.com/contact
In Canada: Director, Consumer Relations, MC Commercial Inc. I Suite 310, 1 Factory Lane I Moncton, N.B. E1C 9M3 GEAppliances.ca/contact-us
Printed in China
References
Magasin GE Canada | Homepage
Magasin GE Canada | Homepage
Magasin GE Canada | Homepage
Magasin GE Canada | Homepage
Magasin GE Canada | Homepage
Home | Food Safety and Inspection Service
Appliance Parts, Accessories & Water Filters | GE Appliances
GE Appliances Canada | Homepage
Kitchen Appliances, Refrigerators, Dishwashers | GE Appliances
Contact Us or Get Help with Questions | GE Appliances
GEAppliances.com/register
Appliance Repair Service and Support | GE Appliances
GEAppliancesparts.com
















