eta 278690000 Oven

eta 278690000
We thank you for choosing one of our products. For the best results with your oven, you should read this manual carefully and retain it for future reference. The images in the instructions are for illustration purposes only, the actual product may vary in detail.
SAFETY INFORMATION
- During cooking, moisture may condense inside the oven cavity or on the glass of the door. This is a normal condition. To reduce this effect, wait 10–15 minutes after turning on the power before putting food inside the oven. ln any case, the condensation disappears when the oven reaches the cooking temperature.
- Cook the vegetables in a container with a lid instead of an open tray.
- Avoid leaving food inside the oven after cooking for more than 15–20 minutes.
WARNING: the appliance and accessible parts become hot during use. Be careful not to touch any hot parts. Children should be kept at a safe distance.
WARNING: ensure that the appliance is switched off before replacing the bulb, to avoid the possibility of electric shocks.
WARNING: in order to avoid any danger caused by the accidental resetting of the thermal interruption device, the appliance should not be powered by an external switching device, such as a timer, or be connected to a circuit that is regularly switched on and off. - Children under 8 should be kept at a safe distance from the appliance if not continuously supervised.
- Children should not play with the appliance.
- The appliance can be used by those aged 8 or over and by those with limited physical, sensorial or mental capacities, without experience or knowledge of the product, only if supervised or provided with instruction as to the operation of the appliance, in a safe way with awareness of the possible risks.
- Cleaning and maintenance should not be carried out by unsupervised children.
- Do not use rough or abrasive materials or sharp metal scrapers to clean the oven door glasses, as they can scratch the surface and cause the glass to shatter.
- Disconnect the appliance from the mains electricity supply before carrying out any work or maintenance on it.
- The oven must be switched off before removing removable parts and its temperature must be close to the ambient temperature. After cleaning, reassemble them according the instructions.
- Only use the meat probe recommended for this oven.
- Do not use a steam cleaner or high pressure spray for cleaning operations.
- Connect a plug to the supply cable that is able to bear the voltage, current and load indicated on the tag and having the earth contact. The socket must be suitable for the load indicated on the tag and must have ground contact connected and in operation. The earth conductor is yellow-green in colour. This operation must be carried out by a suitablyqualified electrician.
- ln case of incompatibility between the socket and the appliance plug, ask a qualified electrician to substitute the socket with another suitable type. The plug and the socket must be conformed to the current norms of the installation country. Connection to the power source can also be made by placing an omnipolar breaker with contact separation compliant to the requirements for overvoltage category III between the appliance and the power source that can bear the maximum connected load and that is in line withcurrent legislation.
- The yellow-green earth cable must not be interrupted by the breaker. The socket or omnipolar breaker used for the connection must be easily accessible when the appliance is installed.
- The disconnection may be achieved by having the plug accessible or by incorporating a switch in the fixed wiring in accordance with the wiring rules.
- lf the power cable is damaged, it must be substituted with a cable H05V2V2-F or special bundle available from the manufacturer or by contacting the customer service department.
- This operation have to be carried out by a suitably qualified electrician. The earth conductor (yellow-green) must be approximately 10 mm longer than the other conductors. For any repairs, refer only to the Customer Care Department and request the use of original spare parts.
- Failure to comply with the above can compromise the safety of the appliance and invalidate the guarantee.
- Any excess of spilled material should be removed before cleaning.
- A long power supply failure during an occurring cooking phase may cause a malfunction of the monitor. ln this case contact customer service.
- The appliance must not be installed behind a decorative door in order to avoid overheating.
- When you place the shelf inside, make sure that the stop is directed upwards and in the back of the cavity. The shelf must be inserted completely into the cavity.
WARNING: Do not line the oven walls with aluminium foil or single-use protection available from stores. Aluminium foil or any other protection, in direct contact with the hot enamel, risk melting and deteriorating the enamel of the insides.
WARNING: Never remove the oven door seal.
CAUTION: Do not refill the cavity bottom with water during cooking or when the oven is hot. - No additional operation/setting is required in order to operate the appliance at the rated frequencies.
General Instructions
We thank you for choosing one of our products. For the best results with your oven, you should read this manual carefully and retain it for future reference. Before installing the oven, take note of the serial number so that you can give it to customer service staff if any repairs are required. Having removed the oven from its packaging, check that it has not been damaged during transportation. If you have doubts, do not use the oven and refer to a qualified technician for advice. Keep all of the packaging material (plastic bags, polystyrene, nails) out of the reach of children. When the oven is switched on for the first time, strong smelling smoke can develop, which is caused by the glue on the insulation panels surrounding the oven heating for the first time. This is absolutely normal and, if it occurs, you should wait for the smoke to dissipate before putting food in the oven. The manufacturer accepts no responsibility in cases where the instructions contained in this document are not observed.
NOTE:
the oven functions, properties and accessories cited in this manual will vary, depending on the model you have purchased.
Safety Indications
Only use the oven for its intended purpose, that is only for the cooking of foods; any other use, for example as a heat source, is considered improper and therefore dangerous.
The manufacturer cannot be held responsible for any damage resulting from improper, incorrect or unreasonable usage. The use of any electrical appliance implies the observance of some fundamental rules:
- do not pull on the power cable to disconnect the plug from the socket;
- do not touch the appliance with wet or damp hands or feet;
- in general the use of adaptors, multiple sockets and extension cables is not allowed;
- in case of malfunction and/or poor operation, switch off the appliance, do not tamper with it and contact an authorized service center.
Electrical Safety
- ENSURE THAT ELECTRICAL CONNECTIONS ARE CARRIED OUT BY A CERTIFIED ELECTRICAL PERSONNEL QUALIFIED FOR THIS ACTIVITY IN ACCORDANCE WITH LOCALLY APPLICABLE STANDARDS.
- Request a certificate of professional connection of the appliance. in the event that the appliance is not connected by the person specified above, no account will be taken of the later application of any complaints that could have been caused by the unprofessional connection of the appliance.
- The power supply to which the oven is connected must conform with the laws in force in the country of installation.
- The manufacturer accepts no responsibility for any damage caused by the failure to observe these instructions.
- The oven must be connected to an electrical supply with an earthed wall outlet or a disconnector with multiple poles, depending on the laws in force in the country of installation. The electrical supply should be protected with suitable fuses and the cables used must have a transverse section that can ensure correct supply to the oven.
Connection
The oven is supplied with a power cable that should only be connected to an electrical supply with 220-240 V AC power between the phase and neutral. Before the oven is connected to the electrical supply, it is important to check:
- power voltage indicated on the gauge;
- the setting of the disconnector.
- The grounding wire connected to the oven’s earth terminal must be connected to the earth terminal of the power supply.
WARNING
Before connecting the oven to the power supply, ask a qualified electrician to check the continuity of the power supply’s earth terminal. The manufacturer accepts no responsibility for any accidents or other problems caused by failure to connect the oven to the earth terminal or by an earth connection that has defective continuity.
NOTE:
as the oven could require maintenance work, it is advisable to keep another wall socket available so that the oven can be connected to this if it is removed from the space in which it is installed. The power cable must only be substituted by technical service staffor by technicians with equivalent qualifications.
Recommendations
After each use of the oven, a minimum of cleaning will help keep the oven perfectly clean. Do not line the oven walls with aluminium foil or single-use protection available from stores. Aluminium foil or any other protection, in direct contact with the hot enamel, risks melting and deteriorating the enamel of the insides. In order to prevent excessive dirtying of your oven and the resulting strong smokey smells, we recommend not using the oven at very high temperature. It is better to extend the cooking time and lower the temperature a little. In addition to the accessories supplied with the oven, we advise you only use dishes andbaking moulds resistant to very high temperatures.
Installation
The manufacturers have no obligation to carry this out. If the assistance of the manufacturer is required to rectify faults arising from incorrect installation, this assistance is not covered by the guarantee. The installation instructions for professionally qualified personnel must be followed. Incorrect installation may cause harm or injury to people, animals or belongings. The manufacturer cannot be held responsible for such harm or injury. The oven can be located high in a column or under a worktop. Always fix the oven to the furniture with screw provided with the appliance. Before fixing, you must ensure good ventilation in the oven space to allow proper circulation of the fresh air required for cooling and protecting the internal parts. Make the openings specified on last page according to the type of fitting.
Waste management and environmental protection
This appliance is labelled in accordance with European Directive 2012/19/EU regarding electric and electronic appliances (WEEE). The WEEE contain both polluting substances (that can have a negative effect on the environment) and base elements (that can be reused). It is important that the WEEE undergo specific treatments to correctly remove and dispose of the pollutants and recover all the materials. Individuals can play an important role in ensuring that the WEEE do not become an environmental problem; it is essential to follow a few basic rules:
- the WEEE should not be treated as domestic waste;
- the WEEE should be taken to dedicated collection areas managed by the town council or a registered company. In many countries, domestic collections may be available for large WEEEs. When you buy a new appliance, the old one can be returned to the vendor who must accept it free of charge as a oneoff, as long as the appliance is of an equivalent type and has the same functions as the purchased appliance.
Saving and respecting the environment
Where possible, avoid pre-heating the oven and always try to fill it. Open the oven door as infrequently as possible, because heat from the cavity disperses every time it is opened. For a significant energy saving, switch off the oven between 5 and 10 minutes before the planned end of the cooking time, and use the residual heat that the oven continues to generate. Keep the seals clean and in order, to avoid any heat dispersal outside of the cavity. If you have an electric contract with an hourly tariff, the “delayed cooking” programme makes energy saving more simple, moving the cooking process to start at the reduced tariff time slot.
Declaration of compliance
By placing the mark
on the appliance, we are confirming compliance to all relevant European safety, health and environmental requirements which are applicable in legislation for this product.
OVERVIEW
- Control panel with snap buttons
- Lateral wire grids with telescopic extensions
- Metal grill
- Deep / shallow baking tray
- Fan (behind the steel plate)
- Oven door
- ACTIVAPOR tray
- Hole for fi xation screw
- Telescopic extensions

Control panel description
- Minute minder indicator
- Automatic baking indicator
- Fan indicator
- Defrost indicator
- Temperature or clock display
- Additional function selector knob
- Function selector knob
- Time/temperature setting buttons

USE OF THE OVEN
Before first use
- Clean the oven before using for the first time. Wipe over external surfaces with a damp soft cloth. Wash all accessories and wipe inside the oven with a solution of hot water and washing up liquid.
- Set the empty oven to the maximum temperature and leave on for about 1 hour, this will remove any lingering smells of newness.
First operation
- The first operation to carry out after the oven has been installed or following the interruption of power supply (this is recognizable the display pulsating and showing 12:00) is setting the correct time.
This is achieved as follows:
- 12:00 is flashing on the display.
- Turn the additional function knob
15to the time setting position
. - Use the and buttons to set the current time.
- Turn the additional function knob
15to the 0 position or wait 3 s. - The time stops flashing and the clock is set.
ATTENTION: The oven will only operate providing the clock is set.
- Lightly push the switch until it pops up, then you can turn it and push it back at any time.
Steaming
- It is possible to use the steaming function with selected baking methods, which helps to preserve the vitamins, minerals, color, juiciness and taste of the prepared dishes.
- By steaming at the beginning of baking bread, you will achieve a crisper, evenly baked crust.
- You can use
conventional baking with a fan, fan + bottom heating and conventional baking. - Before heating the oven, pour max 0.3 l of water into the ACTIVAPOR container at the bottom of the oven and select the appropriate baking method.
Description of programs 15
| FUNCTION | HOW TO USE | HOW TO DEACTIVATE |
SILENT MODE |
|
|
TIME SET![]() |
| |
BAKING TIME |
|
|
END OF BAKING |
|
|
MINUTE MINDER |
|
|
CHILD LOCK |
|
|
| WHAT IT DOES | NOTES |
| Turns off all sound notifications. | |
| Setting the correct current time. | The oven cannot be started without the set time. |
| If none of the baking functions 16 is selected, the cooking time function cannot be activated. |
| This function is usually used in combination with BAKING TIME . For example, if the food is to be baked for 45 minutes and it must be ready by 12:30. Select the desired function, set the BAKING TIME to 45 minutes and the END OF BAKING to 12:30. The oven switches itself on at 11:45, at the end of the baking time the oven switches off automatically and an acoustic signal sounds. If none of the baking functions |
| It can be active either when the oven is in operation or independently. |
| Used to lock all other options. The display shows StoP and the current time alternately in 3-second intervals. | The oven is turned off by the lock until it is unlocked again. You cannot bake and have the oven locked at the same time. |
Cooking Modes 16
| Function dial | T °C suggested | T °C range | Function (Depends on the oven model) |
| LAMP: Turns on the oven light | ||
| DEFROST: When the dial is set to this position. The fan circulates air at room temperature around the frozen food so that it defrosts in a few minutes without the protein content of the food being changed or altered. | ||
| 180° | 50°÷240° | CONVENTIONAL WITH FAN: We recommend using this method for poultry, pasta, fish and vegetables. The heat penetrates the food better and the baking and preheating time is shortened. Traditional baking, complemented by a more even distribution of heat with support for rising and a crispy crust. You can also use the steaming function (see III. Use of the Oven). |
* | 220° | 50°÷240° | CONVENTIONAL: Both top and bottom heating elements are used. Preheat the oven for about ten minutes. This method is ideal for all traditional roasting and baking. For seizing red meats, roast beef, leg of lamb, game, bread, foil wrapped food (papillotes), flaky pastry. Place the food and its dish on a shelf in mid position. You can also use the steaming function (see III. Use of the Oven). |
* | 190° | 50°÷240° | BAKING WITH FAN: We recommend you use this method for poultry, pastries, fish and vegetables. Heat penetrates into the food better and both the cooking and preheating times are reduced. You can cook different foods at the same time with or without the same preparation in one or more positions. This cooking method gives even heat distribution and the smells are not mixed. Allow about ten minutes extra when cooking foods at the same time. |
| 210° | 50°÷240° | BOTTOM HEATING + FAN: The bottom heating element is used with the fan circulating the air inside the oven. This method is ideal for juicy fruit flans, tarts, quiches and pâté. It prevents food from drying and encourages rising in cakes, bread dough and other bottom-cooked food. Place the shelf in the bottom position. You can also use the steaming function (see III. Use of the Oven). |
| L3 | L1÷L5 | FAN GRILL: use the turbo-grill with the door closed. The top heating element is used with the fan circulating the air inside the oven. Preheating is necessary for red meats but not for white meats. Ideal for cooking thick food items, whole pieces such as roast pork, poultry etc. Place the food to be grilled directly on the shelf centrally, at the middle level. Slide the roasting tray under the shelf to collect the juices. Make sure that the food is not too close to the grill. Turn the food over halfway through cooking. |
| L3 | L1 ÷L5 | GRILL: use the grill with the door closed. The top heating element is used alone and you can adjust the temperature. Five minutes preheating is required to get the elements red-hot. Success is guaranteed for grills, kebabs and gratin dishes. White meats should be put at a distance from the grill; the cooking time is longer, but the meat will be tastier. You can put red meats and fish fillets on the shelf with the drip tray underneath. Gril: 2400 W |
| ECO | ECO SUP | PYROLYTIC SELF-CLEAN All accessories must be removed.see chapter IV. CLEANING AND MAINTENANCE OF THE OVEN |
* Tested in accordance with the EN 60350-1 for the purpose of energy consumption declaration and energy class.
OVEN CLEANING AND MAINTENANCE
The lifecycle of the appliance can be extended through regular cleaning. Wait for the oven to cool before carrying out manual cleaning operations. Never use abrasive detergents, steel wool or sharp objects for cleaning, so as to not irreparably damage the enamelled parts. Use only water, soap or bleach-based detergents (ammonia).
GLASS PARTS
It is advisable to clean the glass window with absorbent kitchen towel after every use of the oven. To remove more obstinate stains, you can use a detergent-soaked sponge, well wrung out, and then rinse with water.
OVEN WINDOW SEAL
If dirty, the seal can be cleaned with a slightly damp sponge.
ACCESSORIES
Clean accessories with a wet, soapy sponge before rinsing and drying them: avoid using abrasive detergents.
DRIP PAN
After using the grill, remove the pan from the oven. Pour the hot fat into a container and wash the pan in hot water, using a sponge and washing-up liquid.
If greasy residues remain, immerse the pan in water and detergent. Alternatively, you can wash the pan in the dishwasher or use a commercial oven detergent. Never put a dirty pan back into the oven .
PYROLYSIS
The oven is equipped with a pyrolyser cleaning system, which destroys food residues at high temperature. The operation is carried out automatically by means of the programmer. The resulting fumes are rendered “clean” by passing over a Pyrolyser wich starts as soon as cooking begins. As very high temperatures are required by the Pyrolyser, the oven door is fitted with a safety lock. The pyrolyser can be stopped at any time. The door cannot be opened until the safety lock is displayed.
NOTE: If a hob has been fitted above the oven, never use the gas burners or the electric hotplates while the Pyrolyser is working, this will prevent the hob from overheatin.
TWO PYROLYTIC CYCLE ARE PRE-SET:
ECO: Cleans a moderately stained oven. Operates for a period of 90 minutes.
SUPER: Cleans a heavily stained oven. Operates for a period of 120 minutes.
Tip: Carrying out Pyrolytic cleaning immediately after cooking allows you to takeadvantage of residual heat, thus saving energy.
Before executing a pyrolytic cycle:
- Remove all the accessories from the oven because they are not able to tolerate the high temperatures used during the pyrolytic cleaning cycle ; in particular removing grids, side racks and the telescopic guides (refer to the chapter Removal and cleaning of the lateral wire grids) . In ovens with meat probe it is necessary, before making the cleaning cycle, close the hole with the nut provided.
- Remove any large spillages or stains as it would take too long to destroy them. Also excessively large amounts of grease could ignite when subject to the very high temperatures of the Pyrolytic cycle.
- Remove large or coarse food residues from the inside of the oven using a damp sponge. Do not use detergents.
- Close the oven door.
- Do not place tea towels.
WARNING: Never use commercially available cleaning products on a Pyrolytic oven!
Using the pyrolitic cycle:
- Turn the function control
16to the pyrolysis function
. Within 3 seconds of selecting the function, use the
buttons to select the ECO or SUP option. Once ECO/ SUP stops flashing, it cannot be changed. - Indicator light auto. baking
11will lit up. - It is possible to delay the start time of the pyrocleaning cycle by changing the END OF BAKING by selecting the appropriate function by turning the control of additional functions
15to the end of baking position and using the and buttons
to adjust the end time. - After a few minutes, when the oven reaches a high temperature, the door will lockautomatically. The pyro cleaning cycle can be stopped at any time by turning thefunction knob
16to position 0. - Once the pyroclean cycle is finished, the pyrolysis will switch off automatically. On the display appears the indication END and the door will not unlock until the oven cools down.
- You can switch off the oven turning the function control
16to 0, but if the temperature is still high, the indication 0–n will appear to inform that the door is locked.
WARNING: Before handling the appliance, make sure it has cooled down. Take extra care with all hot surfaces as there is a risk of burns.
MAINTENANCE
Removal of the oven window
- Open the oven door
1.
- Open the clamps of the hinge housing on the right and left side of the front window by pushing them downwards
2.
- Replace the door.
- Put the door back by performing the procedure in reverse.
Removal and cleaning of the glass door
- Open the oven door
1. - Unscrew the screws on the side of the door
3and remove the upper metal cover by pulling it towards4.

Remove the glass, carefully extracting it from the oven door5.
- At the end of cleaning or substitution, reassemble the parts in reverse order.


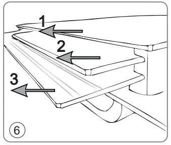
Removal and cleaning of the lateral wire grids
- Remove the wire guides by pulling them in the direction of the arrows (see figure below).
Note: The left and right grids have a reverse extraction procedure. - For the left grid, pull out the front part halfway, then pull out the back part all the way, and then you can remove the grid. For the right grid, pull out the back first.
- To clean the wire grids either put them in the dishwasher or use a wet sponge, ensuring that they are dried afterwards.
- After the cleaning process install the wire racks in reverse order.
WARNING: if the wire grids are equipped with telescopic extensions, they must be remowed before putting them in the dishwasher. Telescopic extensions are not dishwasher safe.
Changing the bulb
This product contains a light source of energy efficiency class G.
- Disconnect the oven from the mains supply.
- Unscrew the glass cover and the bulb. Replace it with a new bulb of the same type.
- Once the defective bulb is replaced, replace the glass cover.


TROUBLESHOOTING
| PROBLEM | POSSIBLE CAUSE | SOLUTION |
| The oven does not heat up | The clock is not set | Set the clock |
| The oven does not heat up | A cooking function and temperature has not been set | Ensure that the necessary settings are correct |
| No reaction of the touch user interface | Steam and condensation on the user interface panel. | Clean with a microfiber cloth the user interface panel to remove the condensation layer |
INSTALLATION

A If the mounting of the plinth does not allow air circulation, to obtain the maximum performance of the oven it is necessary to create an opening of 500x10mm or the same surface in 5.000 mm2.
B Create an opening min. 460 mm x 15 mm
C If the furniture is coverage at the back part, provide an opening for the power supply cable.
D Plug the appliance into a grounded, separate socket protected by a 13 A circuit breaker and a 3×2.5mm2 supply wire.
E After connection and insertion, the oven must be fixed in the holes 8 with the 2 screws
TECHNICAL DATA
- Technical information can be found on the type plate inside the appliance (or on its back side) and on the energy label.
- “Information Sheet” and “Directions for Use” can be downloaded at: www.etasince1943.com.
- QR code on the energy label supplied with the appliance provides a web link to information concerning the specification of this appliance in the EU EPREL database.
- Keep the energy label together with user manual and all other documentation supplied with this appliance.
- The same information in the EPREL database can also be found at: https://eprel.ec.europa.eu
- The model name (product number) can be found on the type plate of the appliance and also on the energy label supplied with the appliance.
- We reserve the right to change technical specifications.
CUSTOMER CARE AND SERVICE
- Always use original spare parts.
- When contacting our authorised service or information line, make sure you have the following information available: the model name (product number) and serial number (SN).
- This information can be found on the type plate (or on a separate label near it).
- Original spare parts for particular selected components of the product are available at least 7 or 10 years from the launch of the last piece of the appliance on the market (depending on the type of the component).
- The manufacturer provides standard legal warranty for the appliance for a period of 24 months.
- For more information regarding service and purchase of spare parts, visit our website: www.etasince1943.com/support



.






































