General GEW1000D Commercial Microwave Oven

PRECAUTIONS TO AVOID POSSIBLE EXPOSURE TO EXCESSIVE MICROWAVE ENERGY
- Do not attempt to operate this oven with the door open since this can result in harmful exposure to microwave energy. It is important not to break or tamper with the safety interlocks.
- Do not place any object between the oven’s front face and the door or allow soil or cleaner residue to accumulate on sealing surfaces.
- Do not operate the oven if it is damaged. It is particularly important that the oven door closes properly and that there is no damage to the:
- DOOR (bent)
- HINGES AND LATCHES (broken or loosened)
- DOOR SEALS AND SEALING SURFACE
- The oven should not be adjusted or repaired by anyone except properly qualified service personnel.
ADDENDUM
If the apparatus is not maintained in a good state of cleanliness, its surface could be degraded and affect the lifespan of the apparatus and lead to a dangerous situation.
SPECIFICATIONS
| Model: | GEWl000D |
| Rated Voltage: | 120V I 60Hz, 220V I 50 Hz, 220V I 60 Hz |
| Rated Input Power(Microwave): | 1500W |
| Rated Output Power(Microwave): | 1000W |
| Oven Capacity: | 1.0 Cu. Ft.. |
| External Dimensions (WxHxD): | 20.2”x15.6”x12.1” |
| Net Weight: | Approx. 39 Lbs |
| Warning: | Handling the cord on this press or cords associated with accessories sold with this product will expose you to lead a chemical known to the state of California to cause cancer, birth defects or other reproductive harm. Wash hands after handle. |
| Model: | GEWl000E |
| Rated Voltage: | 120V I 60Hz, 220V I 50 Hz, 220V I 60 Hz |
| Rated Input Power(Microwave): | 1500W |
| Rated Output Power(Microwave): | 1000W |
| Oven Capacity: | 1.0 Cu. Ft.. |
| External Dimensions (WxHxD): | 20.2”x15.6”x12.1” |
| Net Weight: | Approx. 39.5 Lbs |
| Warning: | Handling the cord on this press or cords associated with accessories sold with this product will expose you to lead a chemical known to the state of California to cause cancer, birth defects or other reproductive harm. Wash hands after handle. |
SAFETY
- The oven must be on a leveled surface.
- Use only the specified bag size when using Direct Access Popcorn.
- The oven has several built-in safety switches to ensure that the power remains off when the door is open. Do not tamper with these switches.
- Do not operate the microwave oven empty. Operating the oven with no food or food that is extremely low in moisture can cause fire, charring or sparking.
- Do not heat baby bottles or baby food in the microwave oven. Uneven heating may occur and could cause physical injury.
- Do not heat narrow-necked containers, such as syrup bottles.
- Do not attempt to deep-fry in your microwave oven.
- Do not attempt home canning in this microwave oven, as it is impossible to be sure all contents of the jar have reached boiling temperature.
- To prevent delayed eruptive boiling of hot liquids and beverages or scalding yourself, stir liquid before placing the container in the oven and again halfway through cooking time. Let stand in the oven for a short time and stir again before removing the container.
- Use carefully when cooking food in the microwave oven to avoid burning due to excessive cooking.
- When the appliance is operated in the combination mode, children should only use the oven under adult supervision due to the temperatures generated.
- Failure to maintain the oven in a clean condition could lead to deterioration that could adversely affect the life of the appliance and possibly result in a hazardous situation.
IMPORTANT SAFETY INSTRUCTIONS WARNING
To reduce the risk of fire, electric shock, injury to persons or exposure to excessive microwave oven energy when using your appliance, follow basic precautions, including the following:
- Read all instructions before using the appliance.
- Read and follow the specific: “PRECAUTIONS TO AVOID POSSIBLE EXPOSURE TO EXCESSIVE
MICROWAVE ENERGY”. - As with most cooking appliances, close supervision is necessary to reduce the risk of a fire in the oven cavity.
If materials inside the oven ignite
- Keep the oven door closed.
- Turn the oven off, and unplug the appliance.
- Disconnect the power cord, and shut off power at the fuse or circuit breaker panel.
- Do not overcook food. Carefully attend to the appliance when paper, plastic, or other combustible materials are placed inside the oven to facilitate cooking.
- Do not use the oven cavity for storage purposes. Do not store combustible items such as bread, cookies, paper products, etc. inside the oven.
- Remove wire twist-ties and metal handles from paper or plastic containers/bags before placing them in the oven.
- This oven must be grounded. Connect only to a properly grounded outlet. See “GROUNDING
INSTRUCTIONS”. - Install or locate this oven only in accordance with the installation instructions provided.
- Some products such as whole eggs, and water with oil or fat, sealed to explode and therefore should not be heated in this oven.
- Use this appliance only for its intended uses as described in this manual. Do not use corrosive chemicals or vapors in this appliance. This oven is specifically designed to heat or cook food. It is not designed for industrial or laboratory use.
- As with any appliance, close supervision is necessary when used by children.
- Do not operate this oven if it has a damaged cord or plug if it is not working properly or if it has been damaged or dropped.
- This appliance should be serviced only by qualified service technicians. Contact the nearest authorized service facility for examination, repair or adjustment.
- Do not cover or block any vents on the oven.
- Do not store or use this appliance outdoors.
- Do not use this oven near water, for example, near a kitchen sink, in a wet basement, near a swimming pool, or similar locations.
- Do not immerse the cord or plug in water.
- Keep cord away from heated surfaces.
- Do not let the cord hang over the edge of the table or counter.
- When cleaning door and oven surfaces use only mild, nonabrasive soaps or detergents applied with a sponge or soft cloth.
- Liquids, such as water, coffee, or tea are able to be overheated beyond the boiling point without appearing to be boiling. Visible bubbling or boiling when the container is removed from the microwave oven is not always present. THIS COULD RESULT IN VERY HOT LIQUIDS SUDDENLY BOILING OVER WHEN THE CONTAINER IS DISTURBED OR A SPOON OR OTHER UTENSIL IS INSERTED INTO THE LIQUID.
- Do not overheat the liquid.
- Stir the liquid both before and halfway through heating it.
- Do not use straight-sided containers with narrow necks.
- After heating, allow the container to stand in the microwave oven for a short time before removing the container.
- Use extreme care when inserting a spoon or other utensil into the container
SAVE THESE INSTRUCTIONS To Reduce the Risk of Injury to Persons
GROUNDING INSTALLATION
DANGER
Electric Shock Hazard Touching some of the internal components can cause serious personal injury or death. Do not disassemble this appliance.
WARNING
Electric Shock Hazard Improper use of the grounding can result in electric shock. Do not plug into an outlet until the appliance is properly installed and grounded.

This appliance must be grounded. In the event of an electrical short circuit, grounding reduces the risk of electric shock by providing an escape wire for the electric current. This appliance is equipped with a cord having a grounding wire with a grounding plug. The plug must be plugged into an outlet that is properly installed and grounded. Consult a qualified electrician or serviceman if the grounding instructions are not completely understood or if doubt exists as to whether the appliance is properly grounded. If it is necessary to use an extension cord, use only a 3-wire extension cord that has a 3-pronged grounding plug, and a 3-slot receptacle that will accept the plug on the appliance.
- A short power-supply cord is provided to reduce the risks resulting from becoming entangled in or tripping over a longer cord.
- Longer cord sets or extension cord is provided to reduce the risks resulting from becoming entangled in or tripping over a longer cord.
- If a long cord sets or extension cord is used:
- The marked electrical rating of the cord set or extension marked electrical rating of the cord set or extension cord should be at least as great as the electrical rating of the appliance.
- The extension cord must be a grounding-type 3-wire cord.
- The longer cord should be arranged so that it will not drape over the countertop or tabletop where it can be pulled on by children or tripped over unintentionally.
UTENSILS
See the instructions on “Materials you can use in a microwave oven or to be avoided in a microwave oven.” There may be certain non-metallic utensils that are not safe to use for microwaving. If in doubt, you can test the utensil in question following the procedure below.
Utensil Test
- Fill a microwave-safe container with 1 cup of cold water (250ml) along with the utensil in question.
- Cook on maximum power for 1 minute.
- Carefully feel the utensil. If the empty utensil is warm, do not use it for microwave cooking.
- Do not exceed 1 minute of cooking time.
CAUTION
Personal Injury Hazard Tightly-closed utensils could explode. Closed containers should be opened and plastic pouches should be pierced before cooking.
MATERIALS YOU CAN USE IN MICROWAVE OVEN
| Utensils Remarks: | |
| Aluminum foil | Shielding only. Small smooth pieces can be used to cover thin parts of meat or poultry to prevent overcooking. Arcing can occur if the foil is too close to the oven walls. The foil should be at least 1 inch (2.5cm) away from oven walls. |
| Browning Dish | Follow the manufacturer’s instructions. |
| Dinnerware | Microwave-safe only. Follow the manufacturer’s instructions. Do not use cracked or chipped dishes. |
| Glass Jars | Always remove lid. Use only to heat food until just warm. Most glass jars are not heat resistant and may break. |
| Glassware | Heat-resistant oven glassware only. Make sure there is no metallic trim. Do not use cracked or chipped dishes. |
| Oven Cooking Bags | Follow the manufacturer’s instructions. Do not close with a metal tie. Make slits to allow steam to escape. |
| Paper Plates & Cups | Use for short-term cooking/warming only. Do not leave the oven unattended while cooking. |
| Paper Towels | Use to cover food for reheating and absorbing fat. Use supervision for short-term cooking only. |
| Parchment Paper | Use as a cover to prevent splattering or a wrap for steaming. |
| Plastic | Microwave-safe only. Follow the manufacturer’s instructions. Should be labeled “Microwave Safe”. Some plastic containers soften, as the food inside gets hot. “Boiling bags” and tightly closed plastic bags should be slit, pierced or vented as directed by the package. |
| Plastic Wrap | Microwave-safe only. Use to cover food during cooking to retain moisture. Do not allow plastic wrap to touch food. |
| Thermometers | Microwave-safe only (meat and candy thermometers). |
| Wax Paper | Use as a cover to prevent splattering and retain moisture. |
MATERIALS TO BE AVOIDED IN MICROWAVE OVEN
| Utensils Remarks: | |
| Aluminum Tray | May cause arcing. Transfer food into a microwave-safe dish. |
| Food Carton with Metal Handle | May cause arcing. Transfer food into a microwave-safe dish. |
| Metal or Metal- trimmed Utensils | Metal shields the food from microwave energy. Metal trim may cause arcing. |
| Metal Twist Ties | May cause arcing and could cause a fire in the oven. |
| Paper Bags | May cause a fire in the oven. |
| Plastic Foam | Plastic foam may melt or contaminate the liquid inside when exposed to high temperatures. |
| Wood | Wood will dry out when used in the microwave oven and may split or crack. |
CLEANING INSTRUCTIONS
Always keep the oven clean
- Cleaning the glass viewing window, the inner door panel, and the oven’s front face.
For best performance and to maintain a high degree of safety, the inner door panel and oven front face should be free of food or grease build-up. Wipe these parts with a mild detergent, rinse, and wipe dry. Never use abrasive powders or pads. - Cleaning the control panel and plastic parts.
Do not apply a detergent or an alkaline liquid spray to the control panel and plastic parts, as this may cause damage to these parts. Use a dry cloth (not a soaked cloth) to clean these parts. - Cleaning the oven interior
After use be sure to clean up spilled liquids, spattered oil, and food debris as quickly as possible. If the oven is used when dirty, efficiency drops, and the dirt gets stuck on the oven surface and may cause bad odors. Clean the interior with a cloth soaked in lukewarm water with a mild detergent dissolved in it, then rinse the soap off with a damp cloth.
CAUTION
Do Not wipe plastic and painted sections of the oven with bleach, thinners, or other cleaning agents, as this may cause these parts to dissolve or change sharp.
MODEL: GEW1000D
SETTING UP YOUR OVEN
Names of Oven Parts and Accessories
Remove the oven and all materials from the carton and oven cavity. Your oven comes with the following accessories:

OPERATION
Control Panel and Features
| Cooking Guide: |
| Bagel, Roll, Muffin, Pastry, Pie Slice 10-30Sec. |
| Hot Dog, Pizza Slice, Small Sandwich 30-60 Sec |
| Beverage, Soup, Large Sandwich, Popcorn (1.5 Oz) 1-2 Min. |
| Casserole, Stew Chili, Chowder Popcorn (3.5 Oz) 2-3 Min. |

MODEL: GEW1000D
OPERATION INSTRUCTIONS
- Waiting for State Instructions
When the microwave oven is electrified, the buzzer will sound once and enter into
waiting for the state.- When electrified for the first time, the program goes into a waiting state directly.
- After cooking is finished, the program go into a waiting state.
- During the cooking process, if you open the oven door, the program will turn back to the waiting
state automatically and the cooking time is zero.
- Microwave Cooking
- In the waiting state, turn “
“ directly to choose the cooking time. And the cooking will start
immediately. The time setting will be 0:10 to 8:00. The default microwave power is 100%.
When setting the time, the responding indicator will light.
For example, when the time is 5 minutes, the indicator from A to R will all light.- When cooking is finished, the buzzer will sound five times and the oven turn back to a waiting state.
During the cooking process, if the door is opened and the program will turn back to the waiting
state immediately, the indicator will turn to “0”.
Note: the step quantities for the adjustment time of the coding switch are as follows:0-1 minute 10 Seconds 1-3 minutes 15 Seconds 3-8 minutes 30 Seconds
- When cooking is finished, the buzzer will sound five times and the oven turn back to a waiting state.
- In the waiting state, turn “
- Cooking Ending Reminding Function
When cooking finish, the buzzer will sound five times to tell you that the cooking is over. - Other Specifications
- The buzzer will sound once when each turns the knob.
- The buzzer will sound once when first turn the knob. If no pause during turning, the buzzer
will not sound. - The oven lamp will light all the time if the oven door is opened and the power is connected.
MODEL: GEW1000E
SETTING UP YOUR OVEN
Names of Oven Parts and Accessories
Remove the oven and all materials from the carton and oven cavity. Your oven comes with the following accessories:

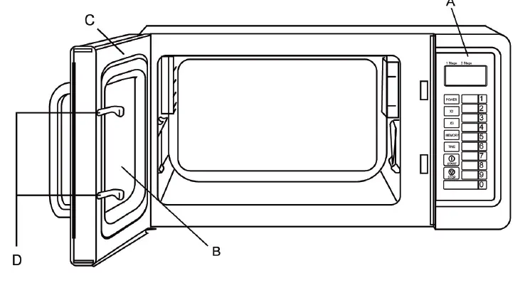
- A) Control panel
- B) Observation window
- C) Door assembly
- D) Safety interlock system
OPERATION: Control Panel and Features

- LED display-Cooking time, power level, and function indicator are displayed.
- Power Key- Choose the power level.
- X2 Key-For setting cooking to double quantities. Time can be twice as before.
- X3 Key-For setting cooking to triple quantities. Time can be three times as before.
- Memory Key-For entering the desired power output and cooking time.
- Time Key-For choosing the desired cooking time.
- Start Key-For start of programmed cooking.
- Stop Key-For canceling setting interrupting the setting process when a mistake has been made, or stopping cooking before completion of the cooking process.
- Number Key-For determining power and cooking time.
MODEL: GEW1000E
OPERATION INSTRUCTIONS
The buzzer will sound once and “0:00” will display when the oven is electrified for the first time.
Microwave Cooking
- In waiting state, press the “POWER”, and “PL10” displays.
- Press the number keys between 0-9 to choose the power level.
For example, when choosing 60% microwave power, press the “6”, and “PL6” displays.
The default power is PL10 if this step is ignored. - Press the “TIME”, and “0:00” displays.
- Press number keys 0-9 to input the cooking time.
The maximum time is 30 minutes between PL10 to PL7.
The maximum time is 60 minutes between PL6 to PL0. - Press “START” to start cooking. Note:
- If the setting power is PL10, steps 1 and 2 can be ignored. And start the program with step 3 directly.
- During the program setting process, if the “STOP” key is pressed or no operation in one minute, the setting will be canceled.
| 11 POWER LEVELS ARE AVAILABLE | |||||||||||
| LEVEL | 10 | 9 | 8 | 7 | 6 | 5 | 4 | 3 | 2 | 1 | 0 |
| POWER | 100% | 90% | 80% | 70% | 60% | 50% | 40% | 30% | 20% | 10% | 0% |
| DISPLAY | PL10 | PL9 | PL8 | PL7 | PL6 | PL5 | PL4 | PL3 | PL2 | PL1 | PL0 |
Speedy Cooking
- In the waiting state, press the “ TIME “ key directly, and “0:00” displays. Press number keys 0-9 ti input the cooking time. The default power is 100%. The maximum time is 30 minutes. After setting the time, press “START” to start cooking.
- In the waiting state, press “START” to start cooking for 30 seconds at 100% microwave power. With each press on the same button, 30 seconds will be increased. The maximum time is 30 minutes.
Note
- During cooing, including multi-stage, press “START” to increase the cooking time and the power will not change.
- If the memory procedure is operated, press “START” to increase the time. And the program will not change.
MODEL: GEW1000E
Multi-Stage Cooking
Two stages can be maximumly set. The buzzer will ring once after each stage and the next stage will begin. A maximum of 2 stages can be set.
Note: Memory function cannot be set as one of the stages.
For example: if you want to cook food with 70% microwave power for 5 minutes, then to cook with 50% microwave power for 7 minutes. The steps are as follows:
- In the waiting state, press” POWER “ once, and” PL10” displays.
- Press “7” to choose 70% microwave power and “PL7” display.
- Press the “TIME”, and “0:00” displays.
- Press ‘’5”,”0”, and”0” to input the cooking time.
- Press “POWER” once.
- Press “5” to choose 50% microwave power and “PL5” display.
- Press the “TIME”, and “0:00” displays.
- Press ‘7”,”0”, and”0” to input the cooking time.
- Press “START” to start cooking.
Note: if one stage is PL10 power, press “TIME” directly and then press the number keys to input the cooking time.
Memory Function
- Press 0-9 number keys to choose the memory procedure. The LED will display 0,1,2,3…9. (2)If the procedure has been set, press “ START” to use it. If not, continue to set the procedure. Only one or two stages can be set.
- After finishing the setting, press “MEMORY” to save the procedure and turn back to the waiting states. If press “ START”, it can save and operate the setting.
Example: To set the following procedure as the memory 3.
Cook the food with 80% microwave power for 3 minutes and 20 seconds, and then 90% microwave power for 5 minutes and 40 seconds.
The steps are as follows
- In the waiting state, press “MEMORY”, and “0:00” displays.
- Press “3” and save it as memory 3.
- Press the “POWER”, and” PL10” displays.
- Press “8” to choose 80% microwave power. “PL8” displays.
- Press the “TIME”, and “0:00” displays.
- Press “3”,”2”, and”0” to choose cooking time.
- Press the “POWER”, and” PL10” displays.
- Press “9” to choose 90% microwave power. “PL9” displays.
- Press the “TIME”, and “0:00” displays.
- Press “5”,”4”, and”0” to choose cooking time.
- Press “MEMORY” to save the setting to number 3. Or press “START” to start the cooking and save the program to number 3.
Note
- The program will save all the time if the electricity is cut off.
- If you want to modify the program, repeat the above steps to reset and save.
MODEL: GEW1000E
Multi-Quantity Function
- In the waiting state, press “X2” ,”2” will display.
- Press the number keys from 0 to 9 to start the memory function.
The cooking time of the saved program will be twice (X2) or three times (X3) as before. For example:
The previous program: cook the food with 80% microwave power for 3 minutes and 20 seconds, and then 90% microwave power for 5 minutes and 30 seconds. And now the program will operate: cook the food with 80% microwave power for 6 minutes and 40 seconds, and then 90% microwave power for 11 minutes.
Note: If “X2” or “X3” is pressed, the time exceeds the maximum time, the oven cannot start cooking and the buzzer will alarm once.
Lock-out Function for Children
Lock: In the waiting state, press “STOP” for 3 seconds, there will be a long “beep” denoting entering the children-lock state and the screen will display “ “.
Lock quitting: In the locked state, press “STOP” for 3 seconds, there will be a long “beep” denoting that the lock is released.
Inquiring Function
- In the cooking states of the microwave, press “ POWER”, the current power will be displayed for 3 seconds.
- Memory state check: when checking,the oven door must be opened. If only one stage is saved, press the remember key 0-9, the power level will display for 3 seconds and then the cooking time will display for 3 seconds. If two stages are saved, press the remember key 0-9, power level of the first stage will display for 3 seconds and then the cooking time will display for 3 seconds. Then the power level and time of the second stage will display.
Cooking End Reminding Function
When cooking ends, there will be 5 beeps which is reminding the completion of cooking.
Display Specification
- In the waiting state, the LED will display the clock, and “ : “ will flash.
- In the function setting state, the LED will display the related setting.
- In the operation and suspending state, LED will display the residual cooking time.
COUNTERTOP INSTALLATION
Remove all packing material and accessories. Examine the oven for any damage such as dents or broken doors. Do not install if the oven is damaged.
Cabinet: Remove any protective film found on the microwave oven cabinet surface. Do not remove the light brown Mica cover that is attached to the oven cavity to protect the magnetron.
INSTALLATION
- Select a level surface that provides enough open space for the intake and/or outlet vents.
A minimum clearance of 3.0 inches (7.5cm) is required between the oven and any adjacent walls. One side must be open. - Leave a minimum clearance of 12 inches (30cm) above the oven.
- Do not remove the legs from the bottom of the oven.
- Blocking the intake and/or outlet openings can damage the oven.
- Place the oven as far away from the radios and TV as possible. The operation of a microwave oven may cause interference to your radio or TV reception.
- Plug your oven into a standard household outlet. Be sure the voltage and the frequency is the same as the voltage and the frequency on the rating label.
WARNING: Do not install an oven over a range cooktop or other heat-producing appliance. If installed near or over a heat source, the oven could be damaged and the warranty would be void.
MAINTENANCE
Troubleshooting
Check your problem by using the chart below and try the solutions for each problem. If the microwave oven still does not work properly, contact the nearest authorized service center.
| TROUBLE | POSSIBLE CAUSE | POSSIBLE REMEDY |
| The oven will not start | a. Electrical cord for the oven is not plugged in. b. Door is open. c. Wrong operation is set. | a. Plug into the outlet. b. Close the door and try again. c. Check instructions. |
| Arcing or sparking | a. Materials to be avoided in the microwave oven were used. b. The oven is operated when empty. c. Spilled food remains in the cavity. | a. Use microwave-safe cookware only. b. Do not operate with the oven empty. c. Clean the cavity with a wet towel. |
| Unevenly cooked foods | a. Materials to be avoided in microwave oven were used. b. Food is not defrosted completely. c. Cooking time, the power level is not suitable. d. Food is not turned or stirred. | a. Use microwave-safe cookware only. b. Completely defrost food. c. Use the correct cooking time and power level. d. Turn or stir food. |
| Overcooked foods | During the cooking time, the power level is not suitable. | Use the correct cooking time and power level. |
| Undercooked foods | a. Materials to be avoided in microwave oven were used. b. Food is not defrosted completely. c. Oven ventilation ports are restricted. d. Cooking time, the power level is not suitable. | a. Use microwave-safe cookware only. b. Completely defrost food. c. Check to see that oven ventilation ports are not restricted. d. Use the correct cooking time and power level. |
| Improper defrosting | a. Materials to be avoided in the microwave oven were used. b. Cooking time, the power level is not suitable. c. Food is not turned or stirred. | a. Use microwave-safe cookware only. b. Use the correct cooking time and power level. c. Turn or stir food. |
3355 Enterprise Avenue, Suite 160, Fort Lauderdale, Florida 33331
Tel: 954.202.7419 Fax: 954.202.7337 www.thelegacycompanies.com.



















